TOP
|
特許
|
意匠
|
商標
特許ウォッチ
Twitter
他の特許を見る
10個以上の画像は省略されています。
公開番号
2025176457
公報種別
公開特許公報(A)
公開日
2025-12-04
出願番号
2024082630
出願日
2024-05-21
発明の名称
キッチンタオルロール
出願人
日本製紙クレシア株式会社
代理人
個人
,
個人
,
個人
,
個人
主分類
D21H
11/04 20060101AFI20251127BHJP(製紙;セルロースの製造)
要約
【課題】風合い及び吸水性を保ちつつ、使用時や製造時にしわが入りにくいシートとすることができ、更に紙粉の発生を抑えることも可能なキッチンタオルロールを提供する。
【解決手段】エンボスパターンが付与されたシートを2プライ又は3プライに積層したキッチンタオルシートを、ロール状に巻取ったキッチンタオルロールであって、巻密度が0.28m/cm
2
以上0.43m/cm
2
以下、コア外径が20mm以上60mm以下であり、キッチンタオルシートの、1プライ当たりの坪量が17.6g/m
2
以上26.5g/m
2
以下、紙厚が2.1mm/10プライ以上4.5mm/10プライ以下、比容積が7cm
3
/g以上23cm
3
/g以下であり、表面側のプライにおける外面のNBKPの含有率が60質量%以上100質量%以下であり、内面のNBKPの含有率が30質量%以上80質量%以下である、キッチンタオルロールを提供する。
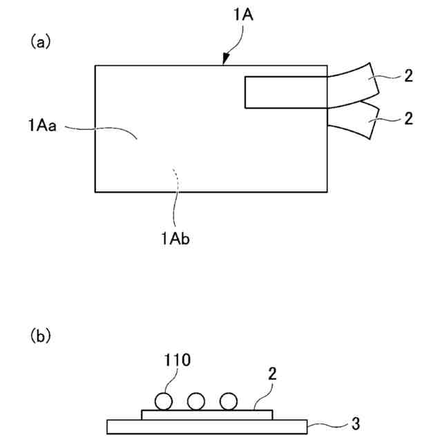
【選択図】図1
特許請求の範囲
【請求項1】
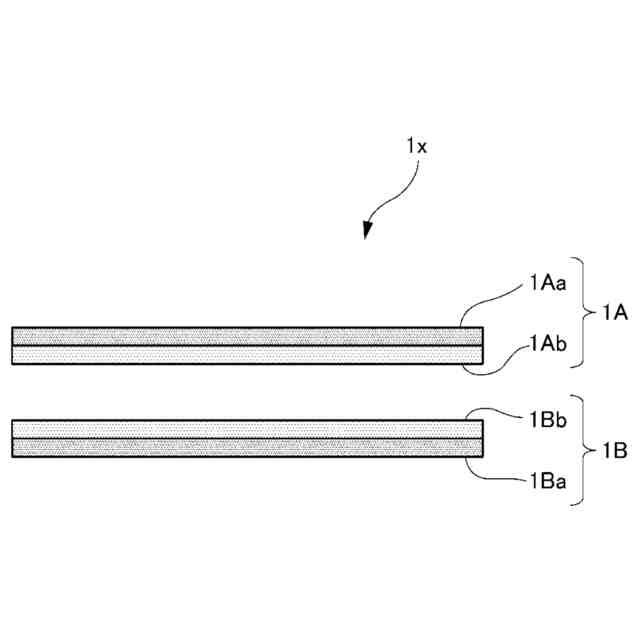
少なくとも1プライにエンボスパターンが付与されたシートを2プライ又は3プライに積層したキッチンタオルシートを、ロール状に巻取ったキッチンタオルロールであって、
キッチンタオルロールの巻密度が0.28m/cm
2
以上0.43m/cm
2
以下、コア外径が20mm以上60mm以下であり、
前記キッチンタオルシートの、1プライ当たりの坪量が17.6g/m
2
以上26.5g/m
2
以下、紙厚が2.1mm/10プライ以上4.5mm/10プライ以下、比容積が7cm
3
/g以上23cm
3
/g以下であり、
前記キッチンタオルシートの表面側のプライにおける外面の針葉樹晒クラフトパルプ(NBKP)の含有率が60質量%以上100質量%以下であり、前記表面側のプライにおける内面の針葉樹晒クラフトパルプ(NBKP)の含有率が30質量%以上80質量%以下であることを特徴とする、キッチンタオルロール。
続きを表示(約 560 文字)
【請求項2】
前記キッチンタオルシートの、2プライにおける単位面積当たりの吸水量が300g/m
2
以上690g/m
2
以下であることを特徴とする、請求項1に記載のキッチンタオルロール。
【請求項3】
前記キッチンタオルシートの全体における前記NBKPと、広葉樹晒クラフトパルプ(LBKP)の含有比率が、NBKP:LBKP=40~95質量%:5~60質量%であることを特徴とする、請求項1又は2に記載のキッチンタオルロール。
【請求項4】
前記キッチンタオルシートの、2プライ又は3プライにおけるJIS P 8113に基づく乾燥時におけるMD方向の引張強度DMDTが1500cN/76mm以上4200cN/76mm以下であり、2プライ又は3プライにおけるJIS P 8113に基づく乾燥時におけるCD方向の引張強度DCDTが1400cN/76mm以上4100cN/76mm以下であることを特徴とする、請求項1又は2に記載のキッチンタオルロール。
【請求項5】
前記キッチンタオルシートの、2プライにおける単位質量当たりの吸水量が8g/g以上20g/g以下であることを特徴とする、請求項1又は2に記載のキッチンタオルロール。
発明の詳細な説明
【技術分野】
【0001】
本発明は、キッチンタオルロールに関する。
続きを表示(約 1,300 文字)
【背景技術】
【0002】
近年、キッチンタオルシートや、シートをロール状に巻き取ったキッチンタオルロールが各種開発・販売されている。
【0003】
そのようなキッチンタオルロールでは、巻き取られているキッチンタオルシートの長尺化が進んでいるが、高級品は長尺化に加えて、美粧性や吸水性などの品質が求められている。
【0004】
高級品の中でも、通気乾燥を用いた、所謂TAD(Through Air Drying)抄紙技術(以下、「TAD抄紙法」とも称する)抄紙技術により得られたキッチンタオルシートは、シートが厚く、やわらかな風合いを持ち、吸水性にも優れる。
【0005】
TAD抄紙技術によって抄紙したキッチンタオルシートは、上記のような利点を有するため、市場で販売されているキッチンタオルロールにおいても、製造工程でTAD抄紙技術を用いている製品は多い。
【0006】
キッチンタオルロールに関する先行技術文献として、例えば、特許文献1には、エンボスパターンが付与されたシートをグルーで接着処理し、2プライに積層したキッチンタオルシートをロール状に巻取ったキッチンタオルロールであって、キッチンタオルシートは、エンボスパターンとは異なる抄紙工程由来の凹凸のパターンを有しており、2プライの坪量が30g/m
2
以上54g/m
2
以下、紙厚が1.3mm/10枚以上5mm/10枚以下であり、2プライの1m
2
あたりの吸水量が220g以上600g以下であり、キッチンタオルロールの巻長が14m以上44m以下、巻直径が110mm以上189mm以下であることを特徴とする、キッチンタオルロールが開示されている。
【先行技術文献】
【特許文献】
【0007】
特開2022-116768号公報
【発明の概要】
【発明が解決しようとする課題】
【0008】
しかし、TAD抄紙技術により得られたキッチンタオルシートは凹凸を有し、嵩高いため、繊維間結合が少なく、強度が低い。
そのため、シートに沿ったシワがつきやすく、使用時だけでなく、製造工程においてシートを巻き取る際にもシワが生じやすい(すなわち、美粧性が低下する)という課題がある。また、強度が低く、シートが嵩高いため、抄紙工程において紙粉が発生しやすく、紙粉を掃除する必要があるため、操業性にも劣る。
【0009】
シートの強度を高めつつ、しわを抑制するためには、1.坪量を上げる、2.針葉樹晒クラフトパルプ(NBKP)の比率(NBKP/LBKP:N/L比とも称する)を高める、3.紙の密度を高める、といった対策が考えられる。また、紙粉を抑制するためには、上記の対策のうち、2及び3の対策が考えられる。
【0010】
しかし、対策1と2は、シートの強度が高くなりすぎてしまい、ゴワゴワした触感となって風合いが悪くなるという問題があった。また、対策3では、シートの吸水性が悪くなり、品質が低下するという問題があった。
(【0011】以降は省略されています)
この特許をJ-PlatPat(特許庁公式サイト)で参照する
関連特許
日本製紙クレシア株式会社
吸収性物品
今日
日本製紙クレシア株式会社
吸収性物品
1か月前
日本製紙クレシア株式会社
パンツ型紙おむつ
27日前
日本製紙クレシア株式会社
ペット用吸収性物品
今日
日本製紙クレシア株式会社
キッチンタオルロール
今日
日本製紙クレシア株式会社
ペーパータオル包装体
1か月前
日本製紙クレシア株式会社
キッチンタオルロール
1か月前
日本製紙クレシア株式会社
吸収体及び吸収性物品
20日前
日本製紙クレシア株式会社
ペーパータオル包装体
15日前
日本製紙クレシア株式会社
ペーパータオル包装体
6日前
日本製紙クレシア株式会社
キッチンタオルロール
6日前
日本製紙クレシア株式会社
ウェットティッシュ収納容器
1か月前
日本製紙クレシア株式会社
キッチンタオルロールの製造方法
6日前
日本製紙クレシア株式会社
キッチンタオルロール、及びキッチンタオルロール製造方法
1日前
日本製紙クレシア株式会社
ウェットティッシュ収納容器及びウェットティッシュ収納体
1か月前
日本製紙クレシア株式会社
キッチンタオルロールマルチ包装体及びキッチンタオルロール集合包装体
6日前
日本製紙クレシア株式会社
ロール状ペーパータオル
1か月前
日本製紙クレシア株式会社
ロール状ペーパータオル製品
20日前
日本製紙クレシア株式会社
ロール状ペーパータオル製品
1か月前
日本製紙クレシア株式会社
ロール状ペーパータオル製品
1か月前
アイカ工業株式会社
紙透明化剤
1か月前
artience株式会社
積層体
27日前
日本製紙株式会社
測定装置
1か月前
丸住製紙株式会社
変性パルプ
1か月前
オリベスト株式会社
ガラス繊維不織布
1か月前
日本製紙株式会社
耐雪紙
1か月前
東洋アルミニウム株式会社
積層体
4か月前
日本製紙株式会社
消臭性板紙
1か月前
株式会社大善
色管理システム
7か月前
CHEMIPAZ株式会社
紙用柔軟剤及び紙
5か月前
丸住製紙株式会社
パルプおよびシート
20日前
特種東海製紙株式会社
シートの製造方法
6日前
独立行政法人 国立印刷局
コーナーロール機構
1か月前
ダイキン工業株式会社
組成物
5か月前
ダイキン工業株式会社
組成物
5か月前
ダイキン工業株式会社
組成物
5か月前
続きを見る
他の特許を見る