TOP
|
特許
|
意匠
|
商標
特許ウォッチ
Twitter
他の特許を見る
10個以上の画像は省略されています。
公開番号
2025176204
公報種別
公開特許公報(A)
公開日
2025-12-03
出願番号
2025157781,2021188320
出願日
2025-09-24,2021-11-19
発明の名称
計量販売システム及び計量装置
出願人
株式会社寺岡精工
代理人
個人
,
個人
,
個人
主分類
G01G
19/414 20060101AFI20251126BHJP(測定;試験)
要約
【課題】任意の量の物品を提供可能な計量販売システムを提供する。
【解決手段】計量販売システム1は、物品を計量する複数の計量装置3と、情報端末3を備える。記計量装置3は、物品の重量を検出する検出処理部301と、検出した物品の重量と所定の識別情報とを送信する通信処理手部303とを備え、情報端末4は、物品の重量と所定の識別情報とを受信する通信処理部406と、所定の識別情報に基づき、物品情報記憶部4Aから物品情報を取得する抽出処理部402とを備える。
【選択図】図7
特許請求の範囲
【請求項1】
物品を計量する複数の計量装置と、情報端末を備える計量販売システムであって、
前記計量装置は、
前記物品の重量を検出する検出処理手段と、
検出した前記物品の重量と所定の識別情報とを送信する第一の通信処理手段と、を備え、
前記情報端末は、
前記物品の重量と前記所定の識別情報とを受信する第二の通信処理手段と、
前記所定の識別情報に基づき、所定の記憶手段から物品情報を取得する物品情報取得手段と、を備える、
ことを特徴とする計量販売システム。
続きを表示(約 1,100 文字)
【請求項2】
前記第一の通信処理手段は、前記物品の重量の検出値が安定したときに、検出した前記物品の重量と前記所定の識別情報とを送信する、
請求項1記載の計量販売システム。
【請求項3】
前記計量装置は、
装置内に収容された前記物品を底面から排出する提供口と、
前記提供口を開閉する開閉機構と、を備える、
請求項1又は2記載の計量販売システム。
【請求項4】
前記情報端末は、
前記物品情報に基づき、前記物品の重量と前記物品の重量に応じた販売価格に係る情報と共に、前記物品の登録完了を受け付ける操作子を表示部に表示させる第一の表示制御手段、を備える、
請求項1乃至3いずれかの項に記載の計量販売システム。
【請求項5】
前記計量装置によって計量された物品ごとに設けられた選択操作可能な情報表示領域、及び、複数の当該情報表示領域が選択された場合に、選択された情報表示領域に対応する物品の点数と当該物品の販売価格を合算した販売価格とを表示部に表示させる第二の表示制御手段、を備える、
請求項1乃至4いずれかの項に記載の計量販売システム。
【請求項6】
複数の物品ごとに設けられ、少なくとも所定の物品の重量に係る情報を表示すると共に、選択操作可能な第一情報表示領域と、
複数の前記第一情報表示領域が選択された場合に、選択された前記第一情報表示領域に対応する物品の点数と、当該物品の販売価格を合算した販売価格とを表示する第二情報表示領域と、
選択された前記第一情報表示領域に対応する物品の登録完了を受け付ける操作子と、を表示部に表示させ、
複数の前記第一情報表示領域が選択された状態で前記操作子が押下された場合に、選択された複数の前記第一情報表示領域に対応する物品の重量比を出力する、
ことを特徴とする計量販売システム。
【請求項7】
物品を収容する本体と、
前記本体内に収容された前記物品の重量を計量する計量部と、
計量した前記物品の重量を表示する表示部と、
前記本体の底面に設けられ、前記本体を水平に支持する支持部と、
前記本体内に収容された前記物品の提供口を開閉する開閉機構と、を有し、
前記本体には、
上面に設けられると共に、前面側から中央部を介して後方に亘って開口し、前記物品が投入される投入口と、
前記支持部よりも前面側の底面に設けられた前記提供口と、が設けられている、
ことを特徴とする計量装置。
発明の詳細な説明
【技術分野】
【0001】
本発明は、任意の量の物品を供給する技術に関する。
続きを表示(約 2,900 文字)
【背景技術】
【0002】
食品廃棄ロスの問題等により、必要分のみを購入する量り売りでの販売を推奨する傾向が拡大している。それに伴いさらに、顧客自ら購入するセルフ計量販売も見直され、さらなる操作性の改善が求められている。
この点、特許文献1に示すように、商品等の物品を計量して金額を算出するシステムが知られている。
【先行技術文献】
【特許文献】
【0003】
特開2001-317990号公報
【発明の概要】
【発明が解決しようとする課題】
【0004】
しかしながら、上記システムでは操作性が劣り、顧客が容易に操作できると共に、自由度の高い操作性を実現した計量販売システムが求められている。
【0005】
そこで本発明は、任意の量の物品を提供可能な計量販売システムを提供することを目的の一つとする。
【課題を解決するための手段】
【0006】
上記目的を達成するため、本発明に係る計量販売システムは、物品を計量する複数の計量装置と、情報端末を備える計量販売システムであって、前記計量装置は、前記物品の重量を検出する検出処理手段と、検出した前記物品の重量と所定の識別情報とを送信する第一の通信処理手段と、を備え、前記情報端末は、前記物品の重量と前記所定の識別情報とを受信する第二の通信処理手段と、前記所定の識別情報に基づき、所定の記憶手段から物品情報を取得する物品情報取得手段と、を備えることを特徴とする。
【図面の簡単な説明】
【0007】
本発明の実施形態に係る計量販売システムを示した外観斜視図である。
本発明の実施形態に係る計量販売システムを構成する第一ユニットを示した外観斜視図である。
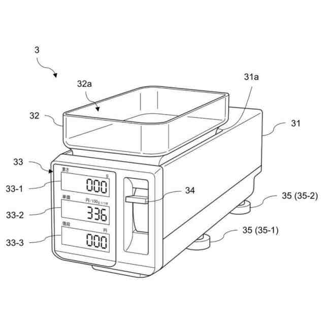
本発明の実施形態に係る計量装置を示した外観斜視図である。
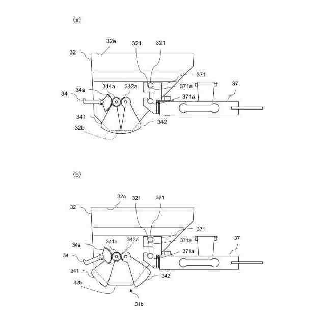
上記計量装置の内部構造を示した側面図であって、(a)閉状態、(b)開状態、を示す。
上記第一ユニットにより物品を顧客に物品を提供する工程を説明する図であって、(a)物品供給装置から計量装置に物品が供給されている状態、(b)物品が計量装置に供給された状態、(c)物品が計量装置から顧客に提供されている状態、を示す。
上記計量販売システムのハードウェア構成を示したブロック図である。
上記計量販売システムのソフトウェア構成を示したブロック図である。
物品情報記憶部に記憶されるデータの一例を示した図である。
上記計量販売システムによって実行される処理のうち、上記計量装置によって実行される処理の流れを示した処理フロー図である。
上記計量販売システムによって実行される処理のうち、上記情報端末によって実行される実施例1に係る処理の流れを示した処理フロー図である。
上記実施例1に係る処理において、情報端末上に表示される画面及びその遷移を示した図であって、(a)第一情報表示領域が選択可能に表示された状態、(b)第一情報表示領域が選択された状態、(c)ラベルが発行された状態、を示す。
上記計量販売システムによって実行される処理のうち、上記情報端末によって実行される実施例2に係る処理の流れを示した処理フロー図である。
上記実施例2に係る処理において、情報端末上に表示される画面及びその遷移を示した図であって、(a)第一情報表示領域が選択可能に表示された状態、(b)一の第一情報表示領域が選択された状態、(c)複数の第一情報表示領域が選択された状態、(d)ラベルが発行された状態、を示す。
上記計量販売システムによって実行される処理のうち、上記情報端末によって実行される実施例3に係る処理の流れを示した処理フロー図である。
上記実施例3に係る処理において、情報端末上に表示される画面及びその遷移を示した図であって、(a)第一情報表示領域が選択可能に表示された状態、(b)一の第一情報表示領域が選択された状態、(c)複数の第一情報表示領域が選択された状態、(d)ラベルが発行された状態、を示す。
本実施形態に係る計量販売システムにおいて、精算用のシンボルコードを情報端末の表示部上に表示させた場合の画面の一例である。
本実施形態に係る計量販売システムにおいて、配合する物品を供給する物品供給装置の位置を情報端末の表示部上に模式的に表示させた場合の画面の一例である。
本発明の他の実施形態に係る計量装置を示した分解斜視図である。
上記計量装置の内部構造を示した側面図であって、(a)閉状態、(b)開状態、を示す。
上記計量装置の第二表示部に表示されるステータス表示の一例を示す図であって、(a)スタンバイ状態、(b)物品が投入されて重量が変動している状態、(c)投入された物品の重量が安定した状態、(d)の操作部が操作されている状態、(e)操作部74の操作によって顧客の容器に物品が供給され、計量値が「0」になった状態、を示している。
【発明を実施するための形態】
【0008】
●概要
以下、本発明の実施形態に係る計量販売システム、及び計量販売システムを構成する計量装置について、図を参照して説明する。
図1に示す本実施形態に係る計量販売システム1は、顧客の操作に応じて物品を量り売りするための装置である。
本実施形態では、物品は店舗で顧客に提供される商品であって、より具体的にはドライフルーツやナッツ、豆類などの食品である。ただし、量り売りするのが好適な物品であれば、これらの物品に限られることはない。また、本実施形態に係る計量販売システム1は、このような例に係る食品を物品として顧客に提供する場合に限らず、店舗側で所定の量の物品の供給を受ける場合にも使用できる。そこで、本実施形態に係る計量販売システム1は、商品を含む所定の物品を提供するものとして説明する。
【0009】
●計量販売システム1の構成
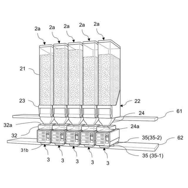
計量販売システム1は、第一ユニットU1、第二ユニットU2、第三ユニットU3、及び情報端末4から構成される。
ただし、図1の例にかかわらず、計量販売システム1は、第一ユニットU1と情報端末4によって構成することもできる。また、第一ユニットU1を構成する物品供給装置2aと計量装置3、第二ユニットU2を構成する物品供給装置2b、及び第三ユニットU3を構成する物品供給装置5の数は特に限定されない。
【0010】
本実施形態では、図1に示すように、第一ユニットU1、第二ユニットU2、第三ユニットU3、及び情報端末4は棚6に配設されている。
棚6は、一対の側面板66、67、その間に架け渡された複数段の棚板61、62、63、64、65、及び背面板68によって構成されている。
(【0011】以降は省略されています)
この特許をJ-PlatPat(特許庁公式サイト)で参照する
関連特許
株式会社寺岡精工
包装装置
8日前
株式会社寺岡精工
商品登録システム
1か月前
株式会社寺岡精工
販売データ処理装置
1か月前
株式会社寺岡精工
ペットボトル回収装置
28日前
株式会社寺岡精工
包装装置及びプログラム
8日前
株式会社寺岡精工
販売データ処理装置、およびプログラム
1か月前
株式会社寺岡精工
注文システム及びコンピュータプログラム
1か月前
株式会社寺岡精工
受付管理システム及びコンピュータプログラム
23日前
株式会社寺岡精工
ピッキングカート、ピッキングシステムおよび管理装置
7日前
株式会社寺岡精工
計量装置、計量システム、及びコンピュータプログラム
29日前
株式会社寺岡精工
販売データ処理装置、モード制御方法、およびプログラム
29日前
株式会社寺岡精工
取引状況監視装置
1か月前
株式会社寺岡精工
電子棚札管理システム
28日前
株式会社寺岡精工
プログラム、情報処理装置、システム、サーバ及び商品投入取出認識方法
1か月前
株式会社寺岡精工
商品販売データ処理装置
1か月前
株式会社寺岡精工
商品販売データ処理装置
今日
株式会社寺岡精工
オーダーエントリーシステム
7日前
株式会社寺岡精工
計量販売システム及び計量装置
2日前
株式会社寺岡精工
販売データ処理装置、およびプログラム
1か月前
株式会社寺岡精工
商品販売データ処理装置、及びプログラム
17日前
株式会社寺岡精工
商品販売データ処理装置、およびプログラム
28日前
株式会社寺岡精工
商品販売データ処理装置、およびプログラム
1か月前
株式会社寺岡精工
商品販売データ処理装置、及び、プログラム
1か月前
株式会社寺岡精工
包装機及び包装機のイベント監視プログラム
21日前
株式会社寺岡精工
POSシステム、精算装置、及びプログラム
1か月前
株式会社寺岡精工
商品販売データ処理システム、端末装置及びプログラム
28日前
株式会社寺岡精工
商品データ処理装置、商品データ処理システム、商品データ処理装置用プログラム、及び商品データ処理システム用プログラム
1か月前
個人
視触覚センサ
今日
個人
採尿及び採便具
1か月前
日本精機株式会社
検出装置
1か月前
個人
アクセサリー型テスター
1か月前
個人
高精度同時多点測定装置
1か月前
個人
計量機能付き容器
25日前
株式会社ミツトヨ
測定器
1か月前
甲神電機株式会社
電流検出装置
1か月前
株式会社カクマル
境界杭
15日前
続きを見る
他の特許を見る