TOP
|
特許
|
意匠
|
商標
特許ウォッチ
Twitter
他の特許を見る
10個以上の画像は省略されています。
公開番号
2025178394
公報種別
公開特許公報(A)
公開日
2025-12-05
出願番号
2025162961,2024214596
出願日
2025-09-30,2015-06-04
発明の名称
商品販売データ処理装置
出願人
株式会社寺岡精工
代理人
個人
,
個人
主分類
G07G
1/12 20060101AFI20251128BHJP(チェック装置)
要約
【課題】複数の客の取引が並行して行われる商品販売データ処理装置において、複数の客の精算について混乱が生じないようにする。
【解決手段】第1客の取引に関連する処理とともに、第1客の次に取引が行われた第2客の取引に関連する処理が行われる商品販売データ処理装置について、第1客に対応して登録された商品についての精算処理が完了するまで、第2客に対応して登録された商品についての精算処理が行われないように制御する制御手段を備えて構成する。
【選択図】図15
特許請求の範囲
【請求項1】
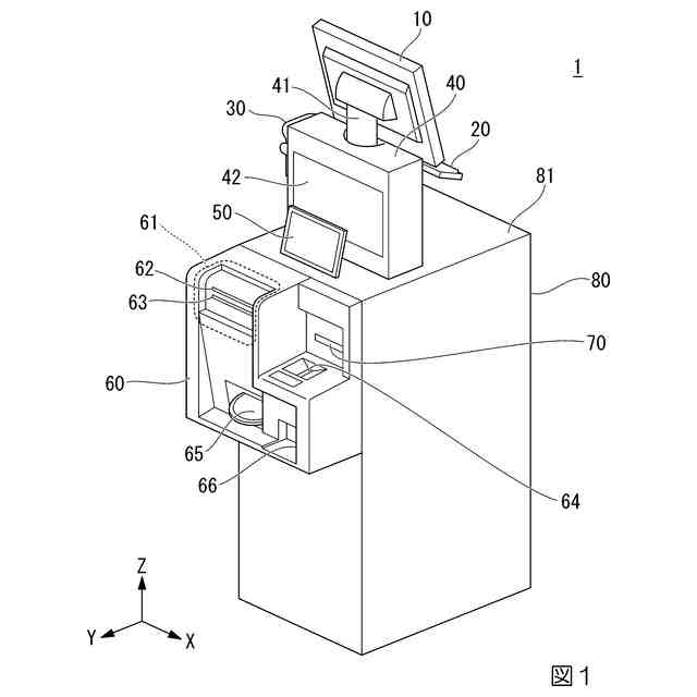
表示面が客に対面するように設けられる客側表示部と、商品登録に応じた操作を行う店員に表示面が対面するように設けられる店員側表示部とが、互いの背面が対向する位置関係で配置され、
貨幣の入金を受け付ける入金受付部と貨幣が排出される排出口とを有する釣銭機は、前記客側表示部および前記店員側表示部より下側に位置し、
前記入金受付部において備えられる紙幣投入口と硬貨投入口とは、左右方向において異なる位置に配置され、
レシートを排出するレシート排出口は、前記硬貨投入口の上側に位置するようにされ、
商品登録の完了を宣言する操作が行われたことに応じて、合計金額と、次の客についての取引を開始させる操作が行われる操作子とを同一画面に表示させ、精算処理を終了させる操作に応じて釣銭の受け取りを客に案内する表示を前記客側表示部にて表示させるよう制御する表示制御手段を備える
商品データ処理装置。
続きを表示(約 440 文字)
【請求項2】
表示面が客に対面するように設けられる客側表示部と、商品登録に応じた操作を行う店員に表示面が対面するように設けられる店員側表示部とが、互いの背面が対向する位置関係で配置され、
貨幣の入金を受け付ける入金受付部と貨幣が排出される排出口とを有する釣銭機は、前記客側表示部および前記店員側表示部より下側に位置し、
前記入金受付部において備えられる紙幣投入口と硬貨投入口とは、左右方向において異なる位置に配置され、
レシートを排出するレシート排出口は、前記硬貨投入口の上側に位置するようにされる商品データ処理装置としてのコンピュータを、
商品登録の完了を宣言する操作が行われたことに応じて、合計金額と、次の客についての取引を開始させる操作が行われる操作子とを同一画面に表示させ、精算処理を終了させる操作に応じて釣銭の受け取りを客に案内する表示を前記客側表示部にて表示させるよう制御する表示制御手段
として機能させるためのプログラム。
発明の詳細な説明
【技術分野】
【0001】
本発明は、商品販売データ処理装置に関する。
続きを表示(約 1,300 文字)
【背景技術】
【0002】
オペレータ一人制で会計作業を行うことができる商品販売データ処理装置が知られている(例えば、特許文献1参照)。
【先行技術文献】
【特許文献】
【0003】
特開2011-108290号公報
【発明の概要】
【発明が解決しようとする課題】
【0004】
オペレータ(店員)ではなく客自身が会計処理を行うようにされた商品販売データ処理装置の場合には、客が何らかの理由で精算にまごついてしまうような場合がある。具体的には、例えば、客用の画面がよく見えない高齢者や客用の画面の操作に不慣れな客などが操作にとまどうことで精算がなかなか終わらないといった状況となることがある。
【0005】
本発明は、このような事情に鑑みてなされたもので、客の精算について混乱が生じないようにする商品販売データ処理装置を提供することを目的とする。
【課題を解決するための手段】
【0006】
上述した課題を解決するために、本発明の一態様は、第1客の取引に関連する処理とともに、前記第1客の次に取引が行われた第2客の取引に関連する処理が行われる商品販売データ処理装置であって、前記第1客に対応して登録された商品についての精算処理が完了するまで、前記第2客に対応して登録された商品についての精算処理が行われないように制御する制御手段を備えて商品販売データ処理装置を構成する。
【0007】
また、本発明の一態様は、上記の商品販売データ処理装置であって、第1客に対応して登録された商品についての精算処理が完了するまでに第2客に対応する取引の開始を宣言する宣言手段をさらに備え、前記制御手段は、取引に関連する情報を客に提示するように設けられる客用表示部において、第1客に対応して登録された商品についての精算処理が完了するまで、前記宣言手段による宣言に応じて開始された第2客の取引に関連する情報の表示が禁止されるように制御してもよい。
【0008】
また、本発明の一態様は、上記の商品販売データ処理装置であって、前記制御手段は、第1客に対応して登録された商品の精算処理が完了した後において所定の状態が得られることに応じて、第2客の取引に関連する情報の表示の禁止を解除し、前記客用表示部において第2客の取引に関連する情報の表示を行ってもよい。
【0009】
また、本発明の一態様は、上記の商品販売データ処理装置であって、前記制御手段は、前記客用表示部において第1客に対応する精算処理の完了を報知する表示が行われた後において、第2客に対応する商品を対象とする登録処理が行われたことに応じて、前記客用表示部において第2客の取引に関連する情報の表示を行ってもよい。
【0010】
また、本発明の一態様は、上記の商品販売データ処理装置であって、前記制御手段は、前記客用表示部において第1客に対応する精算処理の完了を報知する表示が行われた後において、第2客に対応する商品登録が完了されたことに応じて、前記客用表示部において第2客の取引に関連する情報の表示を行ってもよい。
(【0011】以降は省略されています)
この特許をJ-PlatPat(特許庁公式サイト)で参照する
関連特許
株式会社寺岡精工
包装装置
10日前
株式会社寺岡精工
販売データ処理装置
1か月前
株式会社寺岡精工
ペットボトル回収装置
1か月前
株式会社寺岡精工
包装装置及びプログラム
10日前
株式会社寺岡精工
注文システム及びコンピュータプログラム
1か月前
株式会社寺岡精工
受付管理システム及びコンピュータプログラム
25日前
株式会社寺岡精工
ピッキングカート、ピッキングシステムおよび管理装置
9日前
株式会社寺岡精工
計量装置、計量システム、及びコンピュータプログラム
1か月前
株式会社寺岡精工
販売データ処理装置、モード制御方法、およびプログラム
1か月前
株式会社寺岡精工
電子棚札管理システム
1か月前
株式会社寺岡精工
プログラム、情報処理装置、システム、サーバ及び商品投入取出認識方法
1か月前
株式会社寺岡精工
商品販売データ処理装置
2日前
株式会社寺岡精工
オーダーエントリーシステム
9日前
株式会社寺岡精工
計量販売システム及び計量装置
4日前
株式会社寺岡精工
販売データ処理装置、およびプログラム
1か月前
株式会社寺岡精工
商品販売データ処理装置、及びプログラム
19日前
株式会社寺岡精工
商品販売データ処理装置、およびプログラム
1か月前
株式会社寺岡精工
包装機及び包装機のイベント監視プログラム
23日前
株式会社寺岡精工
商品販売データ処理装置、およびプログラム
1か月前
株式会社寺岡精工
商品販売データ処理装置、及び、プログラム
1か月前
株式会社寺岡精工
POSシステム、精算装置、及びプログラム
1か月前
株式会社寺岡精工
商品販売データ処理システム、端末装置及びプログラム
1か月前
個人
自動販売機
10日前
株式会社イシダ
商品処理装置
2か月前
株式会社タムラ製作所
自動販売機
25日前
アサヒ飲料株式会社
遠隔決済方法
1か月前
沖電気工業株式会社
施錠開閉装置
2か月前
沖電気工業株式会社
媒体処理装置
4日前
沖電気工業株式会社
媒体処理装置
4日前
沖電気工業株式会社
媒体処理装置
4日前
沖電気工業株式会社
媒体処理装置
4日前
株式会社デンソー
車載器
2か月前
グローリー株式会社
貨幣処理装置
1か月前
日本金銭機械株式会社
硬貨処理装置
2か月前
アサヒ飲料株式会社
自動販売機の決済方法
1か月前
株式会社寺岡精工
商品登録システム
1か月前
続きを見る
他の特許を見る