TOP
|
特許
|
意匠
|
商標
特許ウォッチ
Twitter
他の特許を見る
10個以上の画像は省略されています。
公開番号
2025174119
公報種別
公開特許公報(A)
公開日
2025-11-28
出願番号
2024080202
出願日
2024-05-16
発明の名称
硬貨繰出装置及び硬貨処理装置
出願人
ローレルバンクマシン株式会社
,
ローレルプレシジョン株式会社
代理人
個人
,
個人
,
個人
主分類
G07D
3/00 20060101AFI20251120BHJP(チェック装置)
要約
【課題】硬貨をスムーズに繰出可能な硬貨繰出装置及び硬貨処理装置を提供する。
【解決手段】硬貨繰出装置40は、硬貨Cを載せて回転する回転円盤42と、回転円盤42より小径に形成され、回転円盤42上に設けられた外周略円形状の滑り止めシート45と、回転円盤42の周囲に立設されたガイド部材43と、を備えている。滑り止めシート45の外周縁には、回転円盤42の上面42bで滑り止めシート45の周面45b及びガイド部材43の側面43gに挟まれて滞留する硬貨Cの一部を収容可能な少なくとも1つ以上の切欠部46が形成されている。
【選択図】図11
特許請求の範囲
【請求項1】
硬貨を載せて回転する回転円盤と、
前記回転円盤より小径に形成され、前記回転円盤上に設けられた外周略円形状の滑り止めシートと、
前記回転円盤上の前記硬貨を繰り出す繰出口が形成され、前記回転円盤の周囲に立設されたガイド部材と、
を備え、
前記滑り止めシートの外周縁には、前記回転円盤の上面で前記滑り止めシートの周面及び前記ガイド部材の側面に挟まれて滞留する前記硬貨の一部を収容可能な少なくとも1つ以上の切欠部が形成されている、ことを特徴とする硬貨繰出装置。
続きを表示(約 390 文字)
【請求項2】
前記切欠部は、前記滑り止めシートの径方向の内側から外側に向かって拡幅する略V字状に形成されている、ことを特徴とする請求項1に記載の硬貨繰出装置。
【請求項3】
複数の前記切欠部は、互いに異なる形状で形成されている、ことを特徴とする請求項1に記載の硬貨繰出装置。
【請求項4】
複数の前記切欠部は、互いに連続して形成されている、ことを特徴とする請求項1に記載の硬貨繰出装置。
【請求項5】
前記切欠部は、前記滑り止めシートの径方向の内側から外側に向かって拡幅して形成され、前記切欠部の内側頂点と前記滑り止めシートの回転中心とを結ぶ線に対して非線対称に形成されている、ことを特徴とする請求項1に記載の硬貨繰出装置。
【請求項6】
請求項1に記載の硬貨繰出装置を備えている、ことを特徴とする硬貨処理装置。
発明の詳細な説明
【技術分野】
【0001】
本発明は、硬貨繰出装置及び該硬貨繰出装置を備えている硬貨処理装置に関する。
続きを表示(約 1,300 文字)
【背景技術】
【0002】
従来より、機外から投入された硬貨を一枚ずつ分離して、機内で硬貨を搬送する搬送路へ繰り出す硬貨繰出装置が知られている(例えば、特許文献1)。
【0003】
特許文献1に記載された硬貨繰出装置は、回転円盤と、回転円盤の周囲を囲んで配置されたホッパと、を備えており、回転円盤が回転することにより、金種混合で一括して投入されてホッパ内に貯留された硬貨が、ホッパに形成された繰出口から硬貨通路へ一枚ずつ繰り出される。また、回転円盤の上面には、回転円盤上の硬貨との摩擦力を確保するゴムシートが設けられている。
【先行技術文献】
【特許文献】
【0004】
特開昭56―52488号公報
【発明の概要】
【発明が解決しようとする課題】
【0005】
しかしながら、特許文献1記載の硬貨処理装置によれば、硬貨の一端が回転円盤の上面とゴムシートの周面との段差に引っ掛かるとともに、硬貨の他方がホッパの側面に引っ掛かることにより、硬貨が回転円盤上で空転しながら滞留する繰出不良が生じる虞があった。
【0006】
そこで、本発明は、硬貨をスムーズに繰出可能な硬貨繰出装置及び硬貨処理装置を提供することを目的とする。
【課題を解決するための手段】
【0007】
上記目的を達成するために、本発明に係る硬貨繰出装置は、硬貨を載せて回転する回転円盤と、前記回転円盤より小径に形成され、前記回転円盤上に設けられた外周略円形状の滑り止めシートと、前記回転円盤上の前記硬貨を繰り出す繰出口が形成され、前記回転円盤の周囲に立設されたガイド部材と、を備え、前記滑り止めシートの外周縁には、前記回転円盤の上面で前記滑り止めシートの周面及び前記ガイド部材の側面に挟まれて滞留する前記硬貨の一部を収容可能な少なくとも1つ以上の切欠部が形成されている。
【0008】
また、上記目的を達成するために、本発明に係る硬貨処理装置は、以上のような硬貨繰出装置を備えている。
【発明の効果】
【0009】
本発明は、硬貨の滞留を抑制して、硬貨をスムーズに繰り出すことができる。
【図面の簡単な説明】
【0010】
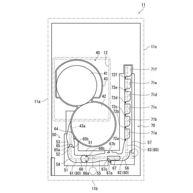
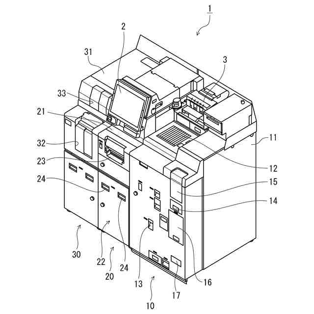
本発明の一実施形態に係る出納機を示す斜視図。
出納機の要部のブロック図。
硬貨処理装置の内部構造を概略的に示す平面図。
一時貯留庫の内部構造を概略的に示す正面図。
図4におけるA-A矢視図。
図4におけるB-B矢視図。
硬貨繰出装置を示す平面図。
図7のC部拡大図。
供給円盤と回転円盤の隙間に硬貨が滞留している様子を示す図。
滞留する硬貨が回転円盤の径方向内側に移動する様子を示す図。
硬貨の滞留が解消された様子を示す図。
切欠部の第1変形例を示す平面図。
切欠部の第2変形例を示す平面図。
切欠部の第3変形例を示す平面図。
【発明を実施するための形態】
(【0011】以降は省略されています)
この特許をJ-PlatPat(特許庁公式サイト)で参照する
関連特許
個人
自動販売機
3日前
株式会社イシダ
商品処理装置
2か月前
株式会社バンダイ
物品供給装置
4か月前
株式会社バンダイ
物品供給装置
4か月前
株式会社バンダイ
物品供給装置
4か月前
株式会社バンダイ
物品供給装置
4か月前
株式会社タムラ製作所
自動販売機
18日前
富士電機株式会社
通貨識別装置
4か月前
沖電気工業株式会社
媒体処理装置
3か月前
沖電気工業株式会社
媒体処理装置
2か月前
沖電気工業株式会社
媒体処理装置
3か月前
沖電気工業株式会社
紙幣処理装置
3か月前
沖電気工業株式会社
施錠開閉装置
1か月前
アサヒ飲料株式会社
遠隔決済方法
23日前
株式会社ライト
情報処理装置
3か月前
株式会社ライト
情報処理装置
3か月前
富士電機株式会社
自動販売機
3か月前
株式会社ライト
情報処理装置
4か月前
株式会社デンソー
車載器
1か月前
富士電機株式会社
金銭処理装置
4か月前
グローリー株式会社
硬貨処理装置
4か月前
グローリー株式会社
貨幣処理装置
23日前
グローリー株式会社
物品投出装置
2か月前
日本金銭機械株式会社
硬貨処理装置
2か月前
株式会社寺岡精工
商品登録システム
1か月前
株式会社トイスピリッツ
景品提供システム
3か月前
アサヒ飲料株式会社
自動販売機の決済方法
23日前
日本金銭機械株式会社
硬貨処理装置
2か月前
株式会社知財事業研究所
特殊駐車場システム
12日前
株式会社寺岡精工
販売データ処理装置
1か月前
ユニティガードシステム株式会社
入館監視システム
3か月前
沖電気工業株式会社
媒体処理装置
2か月前
旭精工株式会社
紙葉類処理装置および紙葉類処理方法
2か月前
沖電気工業株式会社
現金処理装置及び印字装置
2か月前
沖電気工業株式会社
現金処理装置
3か月前
沖電気工業株式会社
棒金収納装置
1か月前
続きを見る
他の特許を見る