TOP
|
特許
|
意匠
|
商標
特許ウォッチ
Twitter
他の特許を見る
公開番号
2025171891
公報種別
公開特許公報(A)
公開日
2025-11-20
出願番号
2024105533
出願日
2024-06-28
発明の名称
屋根型太陽光発電鉄骨構造の土台の断熱省エネルギー施工方法
出願人
中国建築第五工程局有限公司
,
China Construction Fifth Engineering Division Corp., Ltd
代理人
個人
主分類
E04D
13/18 20180101AFI20251113BHJP(建築物)
要約
【課題】屋根型太陽光発電鉄骨構造の土台の断熱省エネルギー施工方法を提供する。
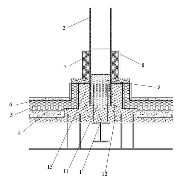
【解決手段】ビルの屋根にコンクリート土台を打設するステップS1と、鉄骨構造柱の柱脚内に断熱モルタルを注ぎ込み、鉄骨構造柱をコンクリート土台とボルトで固定するステップS2と、コンクリート土台の周側で土台の第一防水層を施工するステップS3と、土台の第一防水層の施工が完了した後、土台の第一防水層の外側を土台断熱層で覆うステップS4と、土台断熱層の外側で土台の第二防水層を施工するステップS5と、鉄骨構造柱の柱脚に対して断熱施工を行うステップS6と、面層施工を行うS7と、を含む。
【選択図】図1
特許請求の範囲
【請求項1】
ビルの屋根にコンクリート土台を打設するステップS1と、
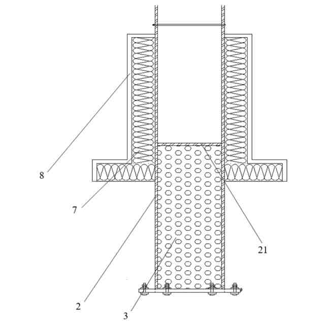
鉄骨構造柱の柱脚内に断熱モルタルを注ぎ込み、前記鉄骨構造柱を前記コンクリート土台の上面とボルトで固定するステップS2と、
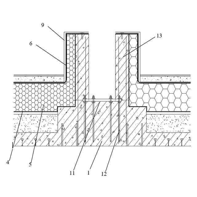
前記コンクリート土台の周側で土台の第一防水層を施工するステップS3と、
前記土台の第一防水層の施工が完了した後、前記土台の第一防水層の外側を土台断熱層で覆うステップS4と、
前記土台断熱層の外側で土台の第二防水層を施工するステップS5と、
前記鉄骨構造柱の柱脚に対する断熱施工を行うステップS6と、
面層施工を行うS7と、を含む、ことを特徴とする屋根型太陽光発電鉄骨構造の土台の断熱省エネルギー施工方法。
続きを表示(約 1,600 文字)
【請求項2】
ステップS1では、前記コンクリート土台内に、ネジ端が前記コンクリート土台の前記上面から露出するアンカーボルトが固定され、前記アンカーボルトの前記ネジ端に、前記コンクリート土台の前記上面に固定される埋め込み鋼板が固定される、ことを特徴とする請求項1に記載の屋根型太陽光発電鉄骨構造の土台の断熱省エネルギー施工方法。
【請求項3】
ステップS1では、前記鉄骨構造柱の取り付けが完了した後、前記コンクリート土台の前記上面にアンカー基台を打設して前記鉄骨構造柱の前記柱脚を包む、ことを特徴とする請求項2に記載の屋根型太陽光発電鉄骨構造の土台の断熱省エネルギー施工方法。
【請求項4】
ステップS2では、前記断熱モルタルは、グレードAの撥水膨張スラグ断熱モルタルであり、前記断熱モルタルの注ぎ込みが完了した後に前記鉄骨構造柱の下端面を前記埋め込み鋼板の上面に貼り付けてアンカーボルト及びナットで締結する、ことを特徴とする請求項3に記載の屋根型太陽光発電鉄骨構造の土台の断熱省エネルギー施工方法。
【請求項5】
ステップS3では、前記土台の第一防水層と屋根の第一防水層を同期して施工し、屋根防水層の施工時に、前記コンクリート土台と前記アンカー基台の周側に前記土台の第一防水層が接着され、前記土台の第一防水層は、アンカー基台と鉄骨構造柱との接続箇所まで上に延びる耐アルカリ性のアルミニウム箔面層のガラス繊維製自己粘着性改質アスファルト防湿コイル材を1層含む、ことを特徴とする請求項4に記載の屋根型太陽光発電鉄骨構造の土台の断熱省エネルギー施工方法。
【請求項6】
ステップS4では、前記土台の第一防水層の施工が完了した後に前記土台断熱層を施工し、前記土台断熱層と前記屋根断熱層を同期して施工し、前記土台断熱層は、押出ポリスチレン板を接合してなり、複数枚の押出ポリスチレン板を前記土台の第一防水層の外周に固定する、ことを特徴とする請求項5に記載の屋根型太陽光発電鉄骨構造の土台の断熱省エネルギー施工方法。
【請求項7】
ステップS5では、前記土台断熱層の外周に前記土台の第二防水層を接着し、前記土台の第二防水層と屋根の第二防水層を同期して施工し、前記土台の第二防水層は、前記土台断熱層の外側に順に接着された1層の両面自己粘着性のポリマー改質アスファルト防水コイル材と1層の片面自己粘着性のポリマー改質アスファルト防水コイル材とを含む、ことを特徴とする請求項6に記載の屋根型太陽光発電鉄骨構造の土台の断熱省エネルギー施工方法。
【請求項8】
ステップS5では、前記土台の第二防水層の施工が完了した後、前記片面自己粘着性のポリマー改質アスファルト防水コイルの外側に前記断熱モルタルを防水保護層として塗布する、ことを特徴とする請求項7に記載の屋根型太陽光発電鉄骨構造の土台の断熱省エネルギー施工方法。
【請求項9】
ステップS6では、前記土台の第二防水層の施工が完了した後、前記鉄骨構造柱の柱脚に対する断熱施工を行い、前記鉄骨構造柱の前記柱脚の外周を鋼線ロックウールで包み、前記鋼線ロックウールは、亜鉛メッキ鋼線によって前記鉄骨構造柱の前記柱脚の外壁に結束固定され、下向きに延びて前記アンカー基台の上面を覆う、ことを特徴とする請求項8に記載の屋根型太陽光発電鉄骨構造の土台の断熱省エネルギー施工方法。
【請求項10】
ステップS7では、前記鋼線ロックウールに対する結束が完了した後、前記鋼線ロックウールの外周に対して面層施工を行い、前記面層施工は、前記鋼線ロックウールの外面に順に塗布される不燃性断熱スラリー及び装飾生地の塗布を含む、ことを特徴とする請求項9に記載の屋根型太陽光発電鉄骨構造の土台の断熱省エネルギー施工方法。
発明の詳細な説明
【技術分野】
【0001】
本発明は、ビルの断熱省エネルギー施工の技術分野に関し、具体的には、屋根型太陽光発電鉄骨構造の土台の断熱省エネルギー施工方法に関する。
続きを表示(約 1,800 文字)
【背景技術】
【0002】
地球エネルギー危機の日増しに伴い、ゼロカーボンビルは、重要な解決策の一つとなっている。ゼロカーボンビルは、石炭、石油、電力等のエネルギーを消費しない状況で、年間のエネルギー消費が全て敷地で生成する再生可能エネルギーによって提供される。その主な特点は、ビルの周辺保護構造の受動的省エネルギー設計を強調する以外に、ビルのエネルギー需要を太陽エネルギー、風力エネルギー、浅層地熱エネルギー、バイオマスエネルギーなどの再生可能エネルギーに変換することであり、人間、ビル及び環境の間の調和共生のために最適な解決案を見つけた。
【0003】
屋根構造において、太陽光発電鉄骨構造の断熱は、ゼロカーボンビル全体の断熱性能について重要な役割を果たす。屋根は、ビルにおいて最も熱ロス及び湿気の浸透を受けやすい部位であるため、屋根の適切な断熱省エネルギー施工方法を選択することは、エネルギー消費の削減に対して重要である。しかしながら、従来のゼロカーボンビルにおいて、太陽光発電鉄骨構造の土台断熱の技術的問題に対していずれも良好な解決方法がないため、ゼロカーボンの屋根断熱省エネルギー施工方法には、逆に技術的な欠陥が存在する。
【0004】
したがって、どのように屋根型太陽光発電鉄骨構造の土台の断熱省エネルギー施工方法を提供して、屋根型太陽光発電鉄骨構造の断熱施工品質を向上させ、現場施工効率を向上させ、施工工期を効果的に短縮させ、施工全体の品質を向上させ、ゼロカーボンビルの断熱省エネルギーという技術要件を保証するかは、当業者が早急に解決すべき問題である。
【発明の概要】
【0005】
これに鑑みて、本発明は、上記技術的課題を解決するために、屋根型太陽光発電鉄骨構造の土台の断熱省エネルギー施工方法を提供する。
【0006】
上記目的を達成するために、本発明は、以下の技術案を採用する。
【0007】
屋根型太陽光発電鉄骨構造の土台の断熱省エネルギー施工方法は、
ビルの屋根にコンクリート土台を打設するステップS1と、
鉄骨構造柱の柱脚内に断熱モルタルを注ぎ込み、鉄骨構造柱をコンクリート土台とボルトで固定するステップS2と、
コンクリート土台の周側で土台の第一防水層を施工するステップS3と、
土台の第一防水層の施工が完了した後、土台の第一防水層の外側を土台断熱層で覆うステップS4と、
土台断熱層の外側で土台の第二防水層を施工するステップS5と、
鉄骨構造柱の柱脚に対する断熱施工を行うステップS6と、
面層施工を行うS7と、を含む。
【0008】
上記技術案の有益な効果は、以下のとおりである:太陽光発電鉄骨構造の土台の断熱省エネルギー施工は、コンクリート土台の断熱施工と鉄骨構造柱の柱脚の断熱施工という2つの部分に分けられ、コンクリート土台に2層の防水層が設置され、2つの防水層の中間に断熱層が設置されることにより、コンクリート土台の断熱防水効果を効果的に保証することができ、鉄骨構造柱の柱脚内に断熱モルタルが充填され、鉄骨構造柱と屋根の鋼鉄の梁との熱橋による重ね接続を効果的に行うとともに、鉄骨構造柱の柱脚の外周に柱脚断熱層を設置して、鉄骨構造柱の柱脚の断熱効果を効果的に保証し、安全で効果的であり、施工しやすく、ゼロカーボンビルの断熱省エネルギーという技術要件を保証し、施工進捗を早めにし、施工コストを削減する。
【0009】
好ましくは、ステップS1では、コンクリート土台内に、ネジ端がコンクリート土台の上面から露出するアンカーボルトが固定され、アンカーボルトのネジ端に、コンクリート土台の上面に固定される埋め込み鋼板が固定される。埋め込み鋼板及びアンカーボルトで鉄骨構造柱を固定し、接続が簡単で信頼できる。
【0010】
ステップS1では、鉄骨構造柱の取り付けが完了した後、コンクリート土台の上面にアンカー基台を打設して鉄骨構造柱の柱脚を包む。アンカー基台は、鉄骨構造柱の柱脚をコンクリート土台の上面に包み、鉄骨構造柱とコンクリート土台との接続効果を向上させ、鉄骨構造柱が十分なアンカー力を有することを保証し、鉄骨構造柱の傾斜破壊を防止する。
(【0011】以降は省略されています)
この特許をJ-PlatPat(特許庁公式サイト)で参照する
関連特許
個人
接合構造
1か月前
個人
タッチミー
1か月前
個人
屋台
2か月前
個人
野良猫ハウス
2か月前
個人
フェンス
3か月前
個人
転落防止用手摺
2か月前
個人
安心補助てすり
1か月前
個人
筋交自動設定装置
1か月前
個人
ベンリナアングル
1か月前
積水樹脂株式会社
柵体
2か月前
ニチハ株式会社
建築板
2か月前
個人
居住車両用駐車場
2か月前
個人
熱抵抗多層断熱建材
2か月前
個人
補強部材
2か月前
株式会社シンケン
住宅
1か月前
個人
身体用シェルター
1か月前
個人
身体用シェルター
1か月前
個人
防災建築物
1か月前
鹿島建設株式会社
壁体
2か月前
成友建設株式会社
建物
2か月前
三協立山株式会社
構造体
1か月前
三協立山株式会社
構造体
1か月前
株式会社熊谷組
木質材料
2か月前
三協立山株式会社
構造体
1か月前
株式会社熊谷組
床構成材
1か月前
三協立山株式会社
構造体
1か月前
三協立山株式会社
構造体
1か月前
三協立山株式会社
構造体
10日前
三協立山株式会社
構造体
15日前
株式会社大林組
接合構造
26日前
三協立山株式会社
構造体
1か月前
三協立山株式会社
構造体
1か月前
株式会社熊谷組
吊り治具
1か月前
三洋工業株式会社
床構造
1か月前
イワブチ株式会社
組立柱
2か月前
個人
可搬型供養墓
1か月前
続きを見る
他の特許を見る