TOP
|
特許
|
意匠
|
商標
特許ウォッチ
Twitter
他の特許を見る
10個以上の画像は省略されています。
公開番号
2025170393
公報種別
公開特許公報(A)
公開日
2025-11-18
出願番号
2025144829,2022541761
出願日
2025-09-01,2021-08-06
発明の名称
セラミックス基板の板状の基体及びその製造方法
出願人
株式会社U-MAP
代理人
個人
主分類
C04B
35/581 20060101AFI20251111BHJP(セメント;コンクリート;人造石;セラミックス;耐火物)
要約
【課題】基体に粒状の窒化アルミニウム多結晶体を含有する従来のセラミックス基板と同等あるいは同等以上の熱伝導率を実現することができ、且つ、基体に粒状の窒化ケイ素多結晶体を含有する従来のセラミックス基板より優れた破壊靭性を実現することができる、既存では存在しない特性を有するセラミックス基板を提供する。
【解決手段】本実施形態に係るセラミックス基板は、基体にファイバー状のAlN単結晶体を含有することを特徴とする。
【選択図】図4
特許請求の範囲
【請求項1】
基体にファイバー状のAlN単結晶体を含有するセラミックス基板。
続きを表示(約 950 文字)
【請求項2】
熱伝導率が150W/mK以上であり、且つ、破壊靭性が4.0MPam
1/2
以上である請求項1に記載のセラミックス基板。
【請求項3】
ファイバー状の前記AlN単結晶体は、六方晶のウルツ鉱型構造であって、
前記基体の板厚方向の端面にX線を照射した場合に得られる前記AlN単結晶体の(10-10)面のピーク強度と(0002)面のピーク強度との比が2.00以上である請求項1又は2に記載のセラミックス基板。
【請求項4】
前記基体に含有されている酸素量が0.07重量%以下である請求項1から3の何れか1項に記載のセラミックス基板。
【請求項5】
前記AlN単結晶体を含有する前記基体の破断面は、算術平均粗さが3μm以上である請求項1から4の何れか1項に記載のセラミックス基板。
【請求項6】
前記基体は、更に粒状のAlN単結晶体を含有する請求項1から5の何れか1項に記載のセラミックス基板。
【請求項7】
六方晶のウルツ鉱型構造を有しファイバー状のAlN単結晶体と、前記AlN単結晶体の表面を被覆する酸素含有層とから構成され、酸素濃度が7.0質量%以下であるAlNウィスカが、基体に含有されるセラミックス基板。
【請求項8】
六方晶のウルツ鉱型構造を有しファイバー状のAlN単結晶体と、前記AlN単結晶体の表面を被覆する酸素含有層とから構成されるAlNウィスカを複数有し、直径1.0μm未満の前記AlNウィスカの含有率が20体積%以下である、AlNウィスカ複合物が、基体に含有されるセラミックス基板。
【請求項9】
六方晶のウルツ鉱型構造を有し、板厚方向の端面にX線を照射した場合に得られる(10-10)面のピーク強度と(0002)面のピーク強度との比が2.00以上である、ファイバー状のAlN単結晶体。
【請求項10】
六方晶のウルツ鉱型構造を有しファイバー状のAlN単結晶体と、前記AlN単結晶体の表面を被覆する酸素含有層とから構成され、酸素濃度が7.0質量%以下であるAlNウィスカ。
(【請求項11】以降は省略されています)
発明の詳細な説明
【技術分野】
【0001】
本実施形態は、例えば産業機器類などの制御モジュールを構成するセラミックス基板に関する。さらに、本実施形態は、当該セラミックス基板に含有されるAlN単結晶体、AlNウィスカ、及びAlNウィスカ複合物に関する。
続きを表示(約 2,600 文字)
【背景技術】
【0002】
例えば、電気自動車、自動運転車、鉄道、工作機械、データセンター、高輝度LEDなどの電力制御やモーター制御を行う制御モジュールは、高電圧が印加されるモジュールであり、その基板としてセラミックス基板が用いられている。また、この種のセラミックス基板について、様々な改良が試みられている。(例えば、特許文献1参照)
【先行技術文献】
【特許文献】
【0003】
特開2007-63042号公報
【発明の概要】
【発明が解決しようとする課題】
【0004】
上述したような制御モジュールに用いられるセラミックス基板には、高い放熱性能が要求されており、従って、セラミックス基板自体の熱伝導率の向上が求められている。また、セラミックス基板が用いられる制御モジュールは、高温、低温のサイクルを繰り返す。そのため、このようなサイクルにおける熱応力による割れを防ぐため、制御モジュールに用いられるセラミックス基板には、高い機械強度も求められている。このように、制御モジュールに用いられるセラミックス基板には、高熱伝導率および高機械強度の両立が求められている。現在、市場で主に使われているセラミックス基板は、基体に粒状のSiN多結晶体を含有するものや基体に粒状のAlN多結晶体を含有するものである。基体に粒状のSiN多結晶体を用いたセラミックス基板は、破壊靭性が優れるが、熱伝導率が低い。一方、基体に粒状のAlN多結晶体を用いたセラミックス基板は、熱伝導率が優れるが、破壊靭性が低い。このように、従来のセラミックス基板は、一長一短の状態になっており、高熱伝導率および高機械強度を両立するセラミックス基板の開発が求められている。
【0005】
そこで、基体に粒状の窒化アルミニウム多結晶体を含有する従来のセラミックス基板と同等あるいは同等以上の熱伝導率を実現することができ、且つ、基体に粒状の窒化ケイ素多結晶体を含有する従来のセラミックス基板より優れた破壊靭性を実現することができる、既存では存在しない特性を有するセラミックス基板を提供する。また、当該セラミックス基板に含有されるAlN結晶体、AlNウィスカ、及びAlNウィスカ複合物を提供する。
【課題を解決するための手段】
【0006】
本実施形態に係るセラミックス基板は、基体にファイバー状のAlN単結晶体を含有することを特徴とする。
【0007】
本実施形態に係るセラミックス基板によれば、粒状のAlN多結晶体で構成される従来のセラミックス基板よりも高い熱伝導率を実現することができ、さらに、粒状のSiN多結晶体で構成される従来のセラミックス基板よりも高い破壊靭性を実現することができる。即ち、高熱伝導率および高機械強度の両立を図ったセラミックス基板を得ることができる。
【図面の簡単な説明】
【0008】
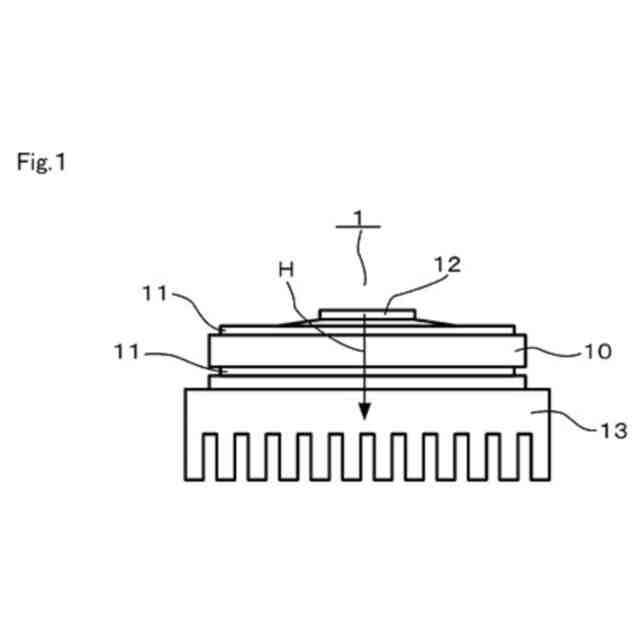
本実施形態に係るパワーモジュールの構成例を概略的に示す図。
本実施形態に係るセラミックス基板の特性を示す図。
本実施形態に係るファイバー状のAlN単結晶体の構造を概略的に示す斜視図。
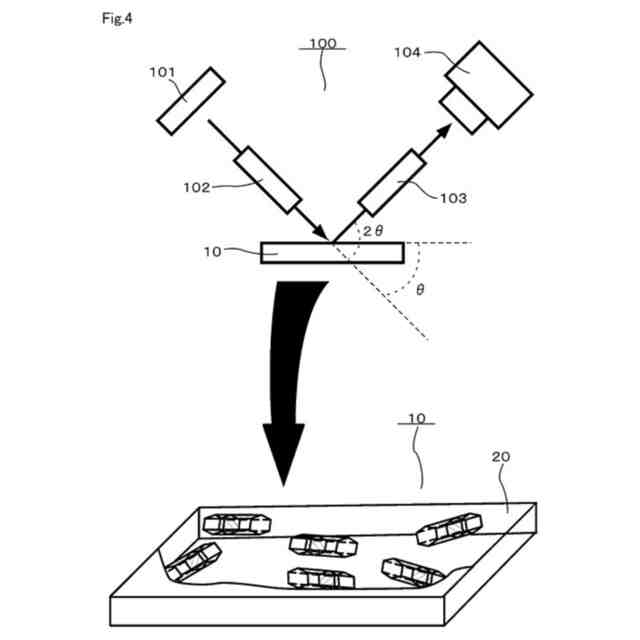
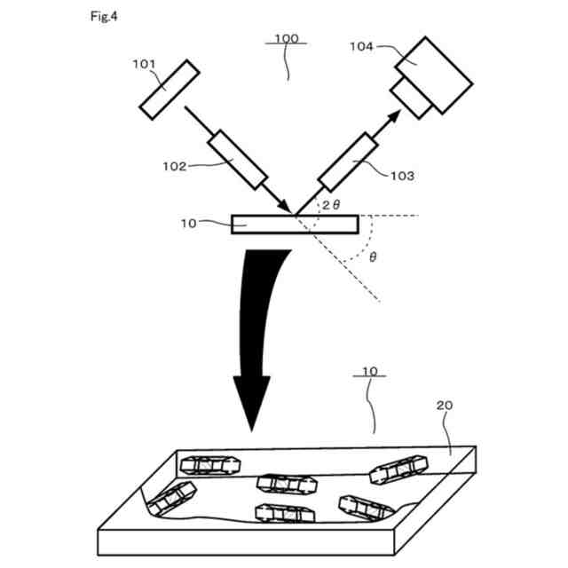
本実施形態に係るセラミックス基板に対するX線回析を行う装置の構成例、および、セラミックス基板の構造例を概略的に示す図。
本実施形態に係るセラミックス基板に対するX線回折パターンを従来のセラミックス基板と比較する態様で示す図。
本実施形態に係るセラミックス基板の破壊靭性と「a/c」値との相関関係を示す図。
本実施形態に係るセラミックス基板の破壊靭性と酸素量との相関関係を示す図。
本実施形態に係るセラミックス基板の熱伝導率と酸素量との相関関係を示す図。
本実施形態に係るセラミックス基板の微細組織を従来のセラミックス基板と比較する態様で示す図。
本実施形態に係るセラミックス基板に含有されているファイバー状のAlN単結晶体の長さおよび太さに関するデータを示す図。
本実施形態に係るセラミックス基板の組織内に100μm以上のファイバー状のAlN単結晶体が存在することを示す図。
本実施形態に係るセラミックス基板の破断面を従来のセラミックス基板と比較する態様で示す図。
本実施形態に係るセラミックス基板の破壊靭性と破断面の算術平均粗さとの相関関係を示す図。
本実施形態に係るセラミックス基板に含有されているAlNウィスカの直径と酸素濃度に関するデータを示す図。
【発明を実施するための形態】
【0009】
以下、セラミックス基板に係る一実施形態について図面を参照しながら説明する。図1に例示するパワーモジュール1は、例えば、電気自動車、自動運転車、鉄道、工作機械、データセンター、高輝度LEDなどの電力制御やモーター制御を行うための制御用のモジュールの一例であり、本実施形態に係るセラミックス基板10を備えている。セラミックス基板10は、板状に形成されており、その板厚方向の両面に金属層11が設けられている。また、セラミックス基板10の板厚方向の一端面、この場合、図1における上側の面には、いわゆるパワー系の半導体12が設けられている。また、セラミックス基板10の板厚方向の他端面、この場合、図1における下側の面には、放熱機能を備えるヒートシンク13が設けられている。
【0010】
図1に矢印Hで例示するように、パワー系の半導体12から発生する熱は、セラミックス基板10を介してヒートシンク13に伝達し、これにより、パワーモジュール1の放熱が行われる。そのため、セラミックス基板10には、基体に粒状のAlN多結晶体を含有する従来のセラミックス基板に比べ、熱伝導率の一層の向上が求められる。また、例えば信頼性向上の観点から、セラミックス基板10には、粒状のAlN多結晶体のみを含有する従来のセラミックス基板に比べ、破壊靭性、つまり、機械的な強度の一層の向上が求められる。本実施形態に係るセラミックス基板10には、熱伝導率の向上および機械的な強度の向上の双方を図るための創意工夫が施されている。以下、この点について詳細に説明する。
(【0011】以降は省略されています)
この特許をJ-PlatPat(特許庁公式サイト)で参照する
関連特許
株式会社U-MAP
セラミックス基板の板状の基体及びその製造方法
6日前
個人
吸収材
17日前
個人
空気清浄材
17日前
個人
振動吸収材
17日前
個人
水質浄化剤
17日前
東ソー株式会社
焼結体
19日前
東ソー株式会社
焼結体
19日前
株式会社トクヤマ
水硬性組成物
2か月前
株式会社トクヤマ
窒化ケイ素基板
2か月前
東ソー株式会社
焼結体の製造方法
1か月前
株式会社トクヤマ
窒化ケイ素基板
1か月前
株式会社トクヤマ
窒化ケイ素基板
3か月前
太平洋マテリアル株式会社
膨張材
1か月前
太平洋マテリアル株式会社
裏込め材
1か月前
太平洋マテリアル株式会社
吹付モルタル
1か月前
太平洋マテリアル株式会社
樹脂モルタル
2か月前
太平洋マテリアル株式会社
樹脂モルタル
2か月前
ノリタケ株式会社
焼成用治具
1か月前
日本電気硝子株式会社
光学部材の製造方法
1か月前
太平洋マテリアル株式会社
セメント組成物
1か月前
ノリタケ株式会社
焼成用治具
1か月前
ノリタケ株式会社
焼成用治具
1か月前
デンカ株式会社
モルタル材料
1か月前
株式会社トクヤマ
改質フライアッシュの製造方法
1か月前
日本特殊陶業株式会社
セラミック部品
1か月前
TOTO株式会社
構造部材
1か月前
TOTO株式会社
複合材料
2か月前
TOTO株式会社
構造部材
1か月前
TOTO株式会社
構造部材
1か月前
太平洋マテリアル株式会社
軽量繊維層及びその形成方法
1か月前
UBE三菱セメント株式会社
コンクリート組成物
1か月前
太平洋マテリアル株式会社
モルタル組成物及びモルタル
1か月前
株式会社西田
コンクリート成形体を製造する方法
25日前
株式会社加納
硬化体
17日前
イビデン株式会社
断熱材
1か月前
ノリタケ株式会社
焼成用治具およびフレーム
1か月前
続きを見る
他の特許を見る