TOP
|
特許
|
意匠
|
商標
特許ウォッチ
Twitter
他の特許を見る
10個以上の画像は省略されています。
公開番号
2025169607
公報種別
公開特許公報(A)
公開日
2025-11-14
出願番号
2024074463
出願日
2024-05-01
発明の名称
マウスピース型歯ブラシ
出願人
株式会社ムーヴ
代理人
個人
,
個人
主分類
A46B
3/00 20060101AFI20251107BHJP(ブラシ製品)
要約
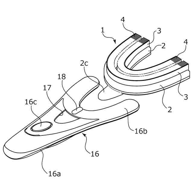
【課題】高密度のブラシを使用することにより、歯垢等を効果的に除去できるようにしたマウスピース型歯ブラシを提供する。
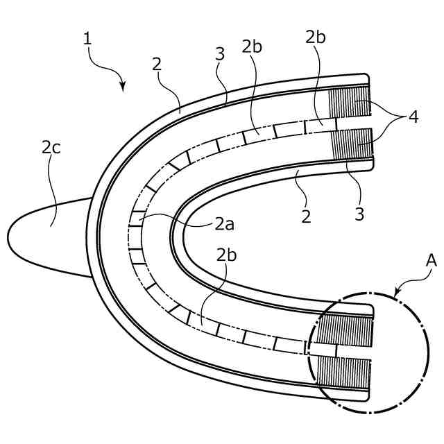
【解決手段】マウスピース型歯ブラシ1は、歯列と離間して対向するように底部の適所が連結され、かつ歯列に沿う形状に平面視ほぼU字状に湾曲する内外二つのブラシ取付部材2、2と、二つのブラシ取付部材2の対向面にそれぞれ取り付けられるシート基材3、3と、それぞれのシート基材3に毛先が対向するように一端部が連結され、織りによって形成された可撓性の多数のブラシ毛からなる高密度の起毛ブラシ4、4とを備える。
【選択図】図1
特許請求の範囲
【請求項1】
上顎または下顎の歯列に被せて使用するマウスピース型歯ブラシであって、
前記歯列と離間して対向するように底部の適所が連結され、かつ前記歯列に沿う形状に平面視ほぼU字状に湾曲する内外二つのブラシ取付部材と、
二つの前記ブラシ取付部材の対向面にそれぞれ取り付けられるシート基材と、
それぞれの前記シート基材に毛先が対向するように一端部が接続され、織りによって形成された可撓性の多数のブラシ毛からなる高密度の起毛ブラシと、
を備えることを特徴とするマウスピース型歯ブラシ。
続きを表示(約 550 文字)
【請求項2】
二つの前記ブラシ取付部材は内外方向に弾性変形可能であり、該二つのブラシ取付部材の底部の連結部は前記U字状に湾曲する頂部付近であることを特徴とする請求項1に記載のマウスピース型歯ブラシ。
【請求項3】
二つの前記ブラシ取付部材の底部には、一方側から他方側に交互に延びる複数の支持片が複数設けられていることを特徴とする請求項1に記載のマウスピース型歯ブラシ。
【請求項4】
内外の前記ブラシ取付部材の対向面には長手方向に連続する凹溝が形成され、前記シート基材における前記ブラシ取付部材との対向面には、前記凹溝に着脱可能に嵌合される凸条が形成されていることを特徴とする請求項1に記載のマウスピース型歯ブラシ。
【請求項5】
内外の前記ブラシ取付部材の対向面には長手方向に沿って複数の凹孔が形成され、前記シート基材における前記ブラシ取付部材との対向面には、前記凹孔に着脱可能に嵌合される複数の凸部が形成されていることを特徴とする請求項1に記載のマウスピース型歯ブラシ。
【請求項6】
前記起毛ブラシの密度は1平方インチ当り2000本から5000本であることを特徴とする請求項1ないし5のいずれかに記載のマウスピース型歯ブラシ。
発明の詳細な説明
【技術分野】
【0001】
本発明は、口の中に入れて歯列を磨くマウスピース型歯ブラシに関する。
続きを表示(約 2,000 文字)
【背景技術】
【0002】
従来の一般的な歯ブラシは、握り柄の先端部のブラシ台に多数のブラシ毛を植毛したもので、ブラシに練り歯磨きを付けて柄を上下及び前後左右に繰り返し動かして上下の歯列を磨くものである。このような歯ブラシにあっては子供や手の不自由な高齢者等が使用する場合に適切に歯磨きをすることができない。
【0003】
この問題に対処するものとして、上顎または下顎の歯列に被せて歯磨きできるようにしたマウスピース型歯ブラシが提案されている(例えば特許文献1参照)。このマウスピース型歯ブラシは、歯列に沿う形状に湾曲するとともに、歯列側が開口する凹部を有する本体部と、凹部の内側面に対向状に連設されたブラシ部材とを備え、ブラシ部材を歯列に被せて磨くことができるようになっている。
【先行技術文献】
【特許文献】
【0004】
特開2022-63101号公報(第4頁、第1図)
【発明の概要】
【発明が解決しようとする課題】
【0005】
しかしながら、特許文献1に記載されているマウスピース型歯ブラシにおいては、本体部とブラシ部材とからなる歯ブラシ全体が3Dプリンタにより形成されているので、高密度のブラシ部材を形成するのは困難である。そのため、ブラシ部材の毛先等が歯間や歯周ポケットに効率よく入り込まず、歯垢等を効果的に除去できないという問題が発生するおそれがある。なお、3Dプリンタに代えてブラシ部材を植毛により形成することも考えられるが、植毛でも高密度のブラシ部材を形成するのには限界がある。
【0006】
本発明は、このような問題点に着目してなされたもので、高密度のブラシを使用することにより、歯垢等を効果的に除去できるようにしたマウスピース型歯ブラシを提供することを目的とする。
【課題を解決するための手段】
【0007】
前記課題を解決するために、本発明のマウスピース型歯ブラシは、
上顎または下顎の歯列に被せて使用するマウスピース型歯ブラシであって、前記歯列と離間して対向するように底部の適所が連結され、かつ前記歯列に沿う形状に平面視ほぼU字状に湾曲する内外二つのブラシ取付部材と、二つの前記ブラシ取付部材の対向面にそれぞれ取り付けられるシート基材と、それぞれの前記シート基材に毛先が対向するように一端部が接続され、織りによって形成された可撓性の多数のブラシ毛からなる高密度の起毛ブラシと、を備えることを特徴としている。
この特徴によれば、マウスピース型歯ブラシを上下の歯列により繰り返し噛むか、上下左右方向に動かすと、織りによって形成された可撓性の多数のブラシ毛からなる高密度の起毛ブラシが撓みながら歯列を効率よく磨くとともに、高密度の毛先が歯間や歯周ポケットに入り込むため、歯列の歯垢等が効果的に除去される。
【0008】
二つの前記ブラシ取付部材は内外方向に弾性変形可能であり、該二つのブラシ取付部材の連結部は前記U字状に湾曲する頂部付近であることを特徴としている。
この特徴によれば、奥側の歯列が高密度の起毛ブラシに入り込んだとき、内外二つのブラシ取付部材はU字状に湾曲する頂部付近の連結部を中心として離間する方向に弾性変形するので、起毛ブラシが歯茎等に強く接触して使用者に不快感を与えることはない。
【0009】
二つの前記ブラシ取付部材の底部には、一方側から他方側に交互に延びる複数の支持片が複数設けられていることを特徴としている。
この特徴によれば、シート基材及び起毛ブラシの底部が複数の支持片により支持されて歯列に沿った形状に保たれるので、起毛ブラシにより歯垢等をより効果的に除去することができる。また、支持片は二つのブラシ取付部材の一方側から他方側に交互に延びているだけで、内外のブラシ取付部材同士は支持片によって連結されていないので、内外のブラシ取付部材の離間方向への弾性変形が妨げられることはない。
【0010】
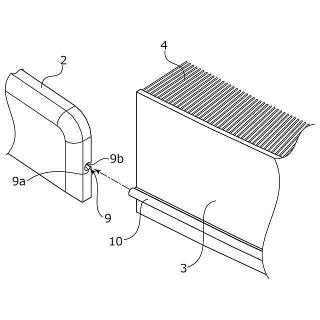
内外の前記ブラシ取付部材の対向面には長手方向に連続する凹溝が形成され、前記シート基材における前記ブラシ取付部材との対向面には、前記凹溝に着脱可能に嵌合される凸条が形成されていることを特徴としている。
この特徴によれば、内外のブラシ取付部材の凹溝にシート基材の凸条を嵌合することにより、内外のブラシ取付部材の対向面にシート基材と共に起毛ブラシを容易に取り付けることができる。また、ブラシ取付部材からシート基材と共に起毛ブラシのみを取り外して交換することができるので、交換費用が安価となる。
(【0011】以降は省略されています)
この特許をJ-PlatPat(特許庁公式サイト)で参照する
関連特許
個人
歯ブラシ
6か月前
個人
歯ブラシ及び緩衝材
2か月前
個人
不織布舌ブラシ
9か月前
個人
歯ブラシ
6か月前
株式会社徳安
ヘアーブラシ
1か月前
個人
歯磨き用マスク
9か月前
エビス株式会社
歯ブラシ
7か月前
個人
歯ブラシ補助具
8か月前
マクセルイズミ株式会社
電気機器
2か月前
個人
歯ブラシ
9か月前
株式会社TBM
歯ブラシ
6か月前
株式会社 資生堂
化粧料塗布具
5か月前
個人
歯ブラシ
5か月前
ライオン株式会社
歯ブラシ
5か月前
株式会社吉野工業所
歯ブラシ
9か月前
株式会社吉野工業所
歯ブラシ
1か月前
株式会社マンダム
ブラシ
6か月前
東レ・モノフィラメント株式会社
ブラシ用毛材
1か月前
ライオン株式会社
歯ブラシ
6か月前
ライオン株式会社
歯ブラシ
6か月前
ライオン株式会社
歯ブラシ
6か月前
株式会社ムーヴ
マウスピース型歯ブラシ
24日前
東レ・モノフィラメント株式会社
ブラシ用毛材
1か月前
サンスター株式会社
口腔ケア用具のハンドル
6か月前
ライオン株式会社
動物用ブラシ
9か月前
日南金属工業株式会社
携帯歯ブラシ(ポケット歯ブラシ)
1か月前
小林製薬株式会社
歯ブラシ
10か月前
小林製薬株式会社
歯ブラシ
9か月前
小林製薬株式会社
歯ブラシ
9か月前
小林製薬株式会社
歯ブラシ
9か月前
小林製薬株式会社
歯ブラシ
9か月前
花王株式会社
口腔ケアセット
6か月前
サンスター株式会社
歯ブラシ
6か月前
サンスター株式会社
歯ブラシ
6か月前
サンスター株式会社
歯ブラシ
5か月前
サンスター株式会社
歯ブラシ
5か月前
続きを見る
他の特許を見る