TOP
|
特許
|
意匠
|
商標
特許ウォッチ
Twitter
他の特許を見る
公開番号
2025155437
公報種別
公開特許公報(A)
公開日
2025-10-14
出願番号
2024064996
出願日
2024-03-28
発明の名称
携帯歯ブラシ(ポケット歯ブラシ)
出願人
日南金属工業株式会社
代理人
主分類
A46B
15/00 20060101AFI20251002BHJP(ブラシ製品)
要約
【課題】歯ブラシをケースから引き出せばそのまま使用できるようにし、歯磨き粉もケースに収納することによって、コンパクトな携帯用歯ブラシを提供する。
尚、歯ブラシの交換は可能にする。
【解決手段】ケース蓋(1)の開口部分から少し入った所の内側2か所(両側面各1ヶ所)に凹を設け、ケース本体(2)の開口部分から少し入った外側2か所(対面)に凸を設け、蓋をしっかりできるようにする。
ケース本体開口部から少し入った所の内側2か所(両側面各1ヶ所)に凸を設け、収納されている歯ブラシ(3)の途中2か所(両側面各1か所)に短い溝を設け、ある一定ところまで引き出すと止まるようにし、ケース本体(2)は歯ブラシの持つところにもなりそのまま使うことができることが特徴である。
歯ブラシ(3)交換する時はケース本体(2)の弾力によって、引き抜くことも可能にする。
歯ブラシ(3)の柄の部分の形状は、歯磨き粉に合わせることにより、収納を安定させる。
【選択図】図2
特許請求の範囲
【請求項1】
携帯歯ブラシは、ケースの蓋と、ケース本体(2)と歯ブラシ(3)を設ける。
その際、各部品の内側、外側に凹凸を設けることで、
1,ケースの蓋(1)もしっかりはまるし、
2,ケース本体(2)に収納する歯ブラシ(3)は使用時に引き出した時に一定の所で止まり、そのまま使用することができる。(ケース本体(2)が歯ブラシの持つところになる。
3,歯ブラシ(3)の収納時は本体ケース(2)から少し出るようにして引き出し易くする。
4.ケース蓋(1)は使用時にはケース本体(2)の底につけることができる。
歯ブラシ(3)は使用時には一定のところまでしか引き出せないようにしているが、交換できるように引き出し抜ききることも可能である。
発明の詳細な説明
【技術分野】
【0001】
この発明はケースと歯ブラシが一体化したもので、歯ブラシをスライドし、歯磨き粉も収納したものである。
続きを表示(約 1,300 文字)
【背景技術】
【0002】
ケースと歯ブラシ、歯磨き粉も別々になっているものはあったが、
ケースから引き出せばそのまま使う事も出来き、歯ブラシ部分の交換も可能である。
【先行技術文献】
【特許文献】
【0003】
【発明の概要】
【発明が解決しようとする課題】
【0004】
従来の携帯歯ブラシは、ケースと一体化しておらず、一度取り出すので不衛生であり、歯磨き粉も収納されてないのでポケットにそのまま入れる事は出来なかった。
【課題を解決するための手段】
【0005】
ケースの蓋(1)を開けると、ケース本体(2)の中に入いっている歯ブラシ(3)を引き出す。同時に収納している歯磨き粉(4)も出てくる。ポケットにも入るコンパクトな歯ブラシセットである。
【発明の効果】
【0006】
本体ケースと歯ブラシが一体化している為、歯ブラシを引き出すだけで使用することができる。
歯磨き粉も収納してあるのでポケットに入れて持ち運びも可能である。
【図面の簡単な説明】
【0007】
本発明品の収納時の外観図
本発明品の収納時の断面図
本発明品の使用時の外観図
本発明品の使用時の断面図
本発明の部品図―歯ブラシ
本発明の部品図―ケース蓋
本発明の部品図―ケース本体
【発明を実施するための形態】
【0008】
以下、本発明を実施するための形態について説明する。
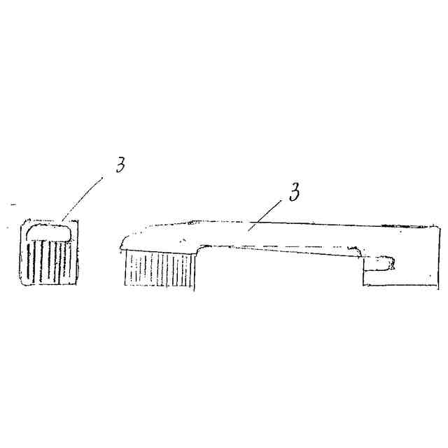
ケースは蓋(1)になる部分、歯ブラシ(3)を収納し使用時は持つ部分となるケース本体(2)部分を設ける。そして中に収納する歯ブラシ(3)部分を設ける。
蓋(1)部分の内側に開口部分から少し入った所に二か所(対角面各1)に小さな突起(ストッパーの役割)を設ける。
ケース本体(2)は、開口部分から少し入った外側の所に二か所(対角面各1)に凹みを設ける(蓋の突起部分が引っかかるようにする)
ケース本体(2)の内側には蓋(1)の内側と同じように、開口部分から少し入った所に二か所(側面両方)に突起(収納された歯ブラシ(3)が抜き出てしまわない様ストッパーの役割)を設ける。
即ち歯ブラシ(3)にもスライドする部分の側面に溝を設け、溝の無い所は突起に当たる為、引き抜けない仕組みである。ケース本体(2)の内側の底の部分には歯ブラシ(3)が奥まで入りきらない様に突起を設ける。
歯ブラシ(3)は、ブラシの柄のブラシに近い部分は歯磨き粉をのせる為、歯磨き粉のチューブのカーブと同じ形状にすることにより、歯磨き粉収納時及び引き出す時の安定を図る。
歯ブラシ交換の際には、ケースの素材の厚みによって弾力がある為、
少し強めに引き出せば、抜けるので交換が可能である。
ケース蓋(1)は使用時にはケース本体(2)の底部分にはめることがで出来る。
【符号の説明】
【0009】
1 ケース蓋
2 ケース本体
3 歯ブラシ
この特許をJ-PlatPat(特許庁公式サイト)で参照する
関連特許
日南金属工業株式会社
携帯歯ブラシ(ポケット歯ブラシ)
1か月前
個人
歯ブラシ
6か月前
個人
歯ブラシ及び緩衝材
2か月前
個人
不織布舌ブラシ
9か月前
個人
歯ブラシ
6か月前
株式会社徳安
ヘアーブラシ
1か月前
個人
歯磨き用マスク
9か月前
エビス株式会社
歯ブラシ
7か月前
個人
歯ブラシ補助具
8か月前
マクセルイズミ株式会社
電気機器
2か月前
個人
歯ブラシ
9か月前
株式会社TBM
歯ブラシ
6か月前
株式会社 資生堂
化粧料塗布具
5か月前
個人
歯ブラシ
5か月前
ライオン株式会社
歯ブラシ
5か月前
株式会社吉野工業所
歯ブラシ
9か月前
株式会社吉野工業所
歯ブラシ
1か月前
株式会社マンダム
ブラシ
6か月前
東レ・モノフィラメント株式会社
ブラシ用毛材
1か月前
ライオン株式会社
歯ブラシ
6か月前
ライオン株式会社
歯ブラシ
6か月前
ライオン株式会社
歯ブラシ
6か月前
株式会社ムーヴ
マウスピース型歯ブラシ
24日前
東レ・モノフィラメント株式会社
ブラシ用毛材
1か月前
サンスター株式会社
口腔ケア用具のハンドル
6か月前
ライオン株式会社
動物用ブラシ
9か月前
日南金属工業株式会社
携帯歯ブラシ(ポケット歯ブラシ)
1か月前
小林製薬株式会社
歯ブラシ
10か月前
小林製薬株式会社
歯ブラシ
9か月前
小林製薬株式会社
歯ブラシ
9か月前
小林製薬株式会社
歯ブラシ
9か月前
小林製薬株式会社
歯ブラシ
9か月前
花王株式会社
口腔ケアセット
6か月前
サンスター株式会社
歯ブラシ
6か月前
サンスター株式会社
歯ブラシ
6か月前
サンスター株式会社
歯ブラシ
5か月前
続きを見る
他の特許を見る