TOP
|
特許
|
意匠
|
商標
特許ウォッチ
Twitter
他の特許を見る
10個以上の画像は省略されています。
公開番号
2025091583
公報種別
公開特許公報(A)
公開日
2025-06-19
出願番号
2023206894
出願日
2023-12-07
発明の名称
歯ブラシ
出願人
ライオン株式会社
代理人
個人
,
個人
,
個人
主分類
A46D
1/00 20060101AFI20250612BHJP(ブラシ製品)
要約
【課題】歯垢除去力が高い歯ブラシを提供する。
【解決手段】ハンドル体と、軟質樹脂で形成されたブラシ成形体と、を備える。ブラシ成形体は、ヘッド基台部と、ヘッド基台の支持面から長軸方向に延びる複数のフィラメントと、を有する。フィラメントは、第1方向の一方側に開口し、第1方向の他方側に窪む凹部を有し、凹部は、第1方向の一方側の端部に位置し、第2方向の一方側に位置する第1開口端と、第1方向の一方側の端部に位置し、第2方向の他方側に位置する第2開口端と、第1方向の最も他方側、且つ、第2方向の所定位置に位置する底端部と、を有する。複数のフィラメントのうち、第1フィラメントに対して第1方向の一方側に隣り合う第2フィラメントは、第1方向の最も他方側に位置する外壁の少なくとも一部が、第1フィラメントにおける底端部および第1開口端を通る第1境界線と、底端部および第2開口端を通る第2境界線との間に位置する。
【選択図】図8
特許請求の範囲
【請求項1】
ハンドル体と、
軟質樹脂で形成され、前記ハンドル体の長手方向の一方側に配置されるブラシ成形体と、
を備え、
前記ブラシ成形体は、
ヘッド基台部と、
前記ヘッド基台部の厚さ方向の正面側に位置する支持面から長軸方向に延びる複数のフィラメントと、
を有し、
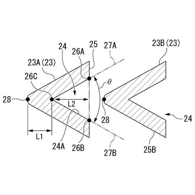
前記フィラメントは、前記支持面と平行な断面において前記支持面と平行な第1方向の一方側に開口し、前記第1方向の他方側に窪む凹部を有し、
前記凹部は、
前記第1方向の一方側の端部に位置し、前記第1方向と交差する第2方向の一方側に位置する第1開口端と、
前記第1方向の一方側の端部に位置し、前記第2方向の他方側に位置する第2開口端と、
前記第1方向の最も他方側、且つ、前記第2方向の所定位置に位置する底端部と、
を有し、
複数の前記フィラメントのうち、第1フィラメントに対して前記第1方向の一方側に隣り合う第2フィラメントは、前記第1方向の最も他方側に位置する外壁の少なくとも一部が、前記第1フィラメントにおける前記底端部および前記第1開口端を通る第1境界線と、前記底端部および前記第2開口端を通る第2境界線との間に位置する、歯ブラシ。
続きを表示(約 490 文字)
【請求項2】
前記凹部は、前記長軸方向に延び少なくとも前記フィラメントにおける先端側に設けられる、
請求項1に記載の歯ブラシ。
【請求項3】
前記第1フィラメントにおける前記凹部の断面形状は、前記第2フィラメントにおける前記第1方向の他方側に位置する前記外壁の断面形状と合同または相似である、
請求項1または2に記載の歯ブラシ。
【請求項4】
前記フィラメントは、前記凹部を1つ有する、
請求項1または2に記載の歯ブラシ。
【請求項5】
前記凹部を含む前記フィラメントの断面形状は V字状、U字状またはコ字状である、
請求項1または2に記載の歯ブラシ。
【請求項6】
前記第1方向は、前記長手方向と前記厚さ方向とに直交する幅方向または前記長手方向である、
請求項1または2に記載の歯ブラシ。
【請求項7】
前記第1境界線と前記第2境界線が交差する角度は、30°よりも大きく、150°よりも小さい、
請求項1または2に記載の歯ブラシ。
発明の詳細な説明
【技術分野】
【0001】
本発明は、歯ブラシに関するものである。
続きを表示(約 2,100 文字)
【背景技術】
【0002】
射出成形機のみで歯ブラシを製造する一体成形歯ブラシが提案されている(例えば、特許文献1)。一体成形歯ブラシは、清掃体であるフィラメントとヘッド基台部(あるいはヘッド部)を一体的に成形するため、清掃体の材料調達および植毛機が不要であり、植毛歯ブラシよりも安価に製造できる利点を有している。
【0003】
一体成形歯ブラシは射出成形により清掃体を作製するため、成形性確保の観点から、植毛歯ブラシと比べフィラメントを1本あたり太くする必要がある。そのため、当たり心地を確保するために低硬度の樹脂を用いることが多い。また、単位面積あたりの毛の本数は制限されフィラメント密度が低く、植毛歯ブラシと比べてフィラメント間の距離が遠い、という特性がある。
【0004】
これらの特性は歯垢除去力の低下を引き起こすという問題がある。特許文献2には、上記の低硬度樹脂を使用し、またフィラメント密度が疎であるという制約のもと、歯垢除去力を向上させるために、断面形状が多角形のフィラメントが開示されている。
【先行技術文献】
【特許文献】
【0005】
実開昭61-207233号公報
国際公開第2018/044754号
【発明の概要】
【発明が解決しようとする課題】
【0006】
低硬度樹脂で成形されたフィラメントは柔らかく、前後左右あらゆる方向に撓みやすいため、ブラッシング中、所望の部位にブラッシング力が伝達しにくい。また、フィラメント密度が低いと、清掃対象に多くの毛先を当てることができない。さらに、フィラメント間の距離が遠いことで、ブラッシング中にフィラメント同士の接触が起きにくく、1本1本が独立して振舞うため相互作用が極めて小さい状態である。上記の結果、一体成形歯ブラシにおける従来のフィラメントでは歯垢除去力が低いという問題が生じる。
【0007】
一方、特許文献2に開示されたフィラメントは、成形性確保の観点から生じるフィラメント密度、本数の制約のもと、断面形状を多角形とすることで、フィラメントを1本単位で撓みを制御し歯垢除去力向上を図っている。しかし、1本単位での施策では本問題の解決には不十分である。
【0008】
本発明は、以上のような点を考慮してなされたもので、歯垢除去力が高い歯ブラシを提供することを目的とする。
【課題を解決するための手段】
【0009】
本発明は下記の態様を有する。
[1]ハンドル体と、軟質樹脂で形成され、前記ハンドル体の長手方向の一方側に配置されるブラシ成形体と、を備え、前記ブラシ成形体は、ヘッド基台部と、前記ヘッド基台部の厚さ方向の正面側に位置する支持面から長軸方向に延びる複数のフィラメントと、を有し、前記フィラメントは、前記支持面と平行な断面において前記支持面と平行な第1方向の一方側に開口し、前記第1方向の他方側に窪む凹部を有し、前記凹部は、前記第1方向の一方側の端部に位置し、前記第1方向と交差する第2方向の一方側に位置する第1開口端と、前記第1方向の一方側の端部に位置し、前記第2方向の他方側に位置する第2開口端と、前記第1方向の最も他方側、且つ、前記第2方向の所定位置に位置する底端部と、を有し、複数の前記フィラメントのうち、第1フィラメントに対して前記第1方向の一方側に隣り合う第2フィラメントは、前記第1方向の最も他方側に位置する外壁の少なくとも一部が、前記第1フィラメントにおける前記底端部および前記第1開口端を通る第1境界線と、前記底端部および前記第2開口端を通る第2境界線との間に位置する、歯ブラシ。
[2]前記凹部は、前記長軸方向に延び少なくとも前記フィラメントにおける先端側に設けられる、前記[1]に記載の歯ブラシ。
[3]前記第1フィラメントにおける前記凹部の断面形状は、前記第2フィラメントにおける前記第1方向の他方側に位置する前記外壁の断面形状と合同または相似である、
前記[1]または前記[2]に記載の歯ブラシ。
[4]前記フィラメントは、前記凹部を1つ有する、 前記[1]から前記[3]のいずれか一つに記載の歯ブラシ。
[5]前記凹部を含む前記フィラメントの断面形状は V字状、U字状またはコ字状である、前記[1]から前記[4]のいずれか一つに記載の歯ブラシ。
[6]前記第1方向は、前記長手方向と前記厚さ方向とに直交する幅方向または前記長手方向である、 前記[1]から前記[5]のいずれか一つに記載の歯ブラシ。
[7]前記第1境界線と前記第2境界線が交差する角度は、30°よりも大きく、150°よりも小さい、前記[1]から前記[6]のいずれか一つに記載の歯ブラシ。
【発明の効果】
【0010】
本発明では、歯垢除去力が高い歯ブラシを提供することができる。
【図面の簡単な説明】
(【0011】以降は省略されています)
特許ウォッチbot のツイートを見る
この特許をJ-PlatPat(特許庁公式サイト)で参照する
関連特許
ライオン株式会社
歯周病予防又は治療剤
1か月前
ライオン株式会社
繊維製品用の液体洗浄剤組成物
1か月前
ライオン株式会社
繊維製品用液体洗浄剤組成物及び繊維製品の洗浄方法
1か月前
ライオン株式会社
歯周病発症リスク判定用バイオマーカー及び判定システム
11日前
個人
歯ブラシ
6か月前
個人
歯ブラシ及び緩衝材
2か月前
個人
不織布舌ブラシ
9か月前
個人
歯ブラシ
6か月前
株式会社徳安
ヘアーブラシ
1か月前
個人
歯磨き用マスク
9か月前
エビス株式会社
歯ブラシ
7か月前
個人
歯ブラシ補助具
8か月前
マクセルイズミ株式会社
電気機器
2か月前
個人
歯ブラシ
9か月前
株式会社TBM
歯ブラシ
6か月前
株式会社 資生堂
化粧料塗布具
5か月前
個人
歯ブラシ
5か月前
ライオン株式会社
歯ブラシ
5か月前
株式会社吉野工業所
歯ブラシ
9か月前
株式会社吉野工業所
歯ブラシ
1か月前
株式会社マンダム
ブラシ
6か月前
東レ・モノフィラメント株式会社
ブラシ用毛材
1か月前
ライオン株式会社
歯ブラシ
6か月前
ライオン株式会社
歯ブラシ
6か月前
ライオン株式会社
歯ブラシ
6か月前
株式会社ムーヴ
マウスピース型歯ブラシ
24日前
東レ・モノフィラメント株式会社
ブラシ用毛材
1か月前
サンスター株式会社
口腔ケア用具のハンドル
6か月前
ライオン株式会社
動物用ブラシ
9か月前
日南金属工業株式会社
携帯歯ブラシ(ポケット歯ブラシ)
1か月前
小林製薬株式会社
歯ブラシ
10か月前
小林製薬株式会社
歯ブラシ
9か月前
小林製薬株式会社
歯ブラシ
9か月前
小林製薬株式会社
歯ブラシ
9か月前
小林製薬株式会社
歯ブラシ
9か月前
花王株式会社
口腔ケアセット
6か月前
続きを見る
他の特許を見る