TOP
|
特許
|
意匠
|
商標
特許ウォッチ
Twitter
他の特許を見る
10個以上の画像は省略されています。
公開番号
2025166828
公報種別
公開特許公報(A)
公開日
2025-11-06
出願番号
2025086155,2024070516
出願日
2025-05-23,2024-04-24
発明の名称
洋上風力システム
出願人
日鉄エンジニアリング株式会社
代理人
個人
,
個人
,
個人
,
個人
,
個人
,
個人
,
個人
,
個人
主分類
F03D
80/80 20160101AFI20251029BHJP(液体用機械または機関;風力原動機,ばね原動機,重力原動機;他類に属さない機械動力または反動推進力を発生するもの)
要約
【課題】スペースを有効活用し、整流器の配置を工夫することで、機器の配置の煩雑さを改善した洋上風力システムを提供することを目的とする。
【解決手段】洋上風車10と、洋上風車10を支持する海洋構造物20と、洋上風車10によって発電される電気を交流から直流に変換する整流器40と、整流器40によって直流に変換される電気を蓄電する蓄電池50と、洋上風車10によって発電される電気の電圧を変える変圧器30と、を備える洋上風力システム1であって、整流器40は、洋上風車10に含まれるナセル13の外部に配置され、洋上風車10は、複数の鋼管で形成されるタワー14、を備え、整流器40及び変圧器30は、複数の鋼管のうち、ナセル13に接続される鋼管と、は異なる鋼管に設けられる、ことを特徴とする。
【選択図】図1
特許請求の範囲
【請求項1】
洋上風車と、
前記洋上風車を支持する海洋構造物と、
前記洋上風車によって発電される電気を交流から直流に変換する整流器と、
前記整流器によって直流に変換される電気を蓄電する蓄電池と、
前記洋上風車によって発電される電気の電圧を変える変圧器と、
を備える洋上風力システムであって、
前記整流器は、前記洋上風車に含まれるナセルの外部に配置され、
前記洋上風車は、複数の鋼管で形成されるタワー、を備え、
前記整流器及び前記変圧器は、前記複数の鋼管のうち、前記ナセルに接続される鋼管と、は異なる鋼管に設けられる、
ことを特徴とする洋上風力システム。
続きを表示(約 1,000 文字)
【請求項2】
洋上風車と、
前記洋上風車を支持する海洋構造物と、
前記洋上風車によって発電される電気を交流から直流に変換する整流器と、
前記整流器によって直流に変換される電気を蓄電する蓄電池と、を備える洋上風力システムであって、
前記整流器は、前記洋上風車に含まれるナセルの外部に配置され、
前記洋上風車は、複数の鋼管で形成されるタワー、を備え、
前記整流器及び制御盤は、前記複数の鋼管のうち、前記ナセルに接続される鋼管と、は異なる鋼管に設けられる、
ことを特徴とする洋上風力システム。
【請求項3】
前記蓄電池は、前記整流器と同じ鋼管に設けられる、
ことを特徴とする請求項1または2に記載の洋上風力システム。
【請求項4】
前記蓄電池は、前記整流器と異なる鋼管に設けられる、
ことを特徴とする請求項1または2に記載の洋上風力システム。
【請求項5】
前記蓄電池は、前記複数の鋼管のうち、前記ナセルに接続される鋼管と、は異なる鋼管に設けられる、
ことを特徴とする請求項1または2に記載の洋上風力システム。
【請求項6】
前記蓄電池は、前記海洋構造物に配置される、
ことを特徴とする請求項1または2に記載の洋上風力システム。
【請求項7】
前記蓄電池は、前記海洋構造物の外部に配置される、
ことを特徴とする請求項1または2に記載の洋上風力システム。
【請求項8】
前記海洋構造物は、トランジションピース、を更に備え、
前記トランジションピースは、センターパイプと、第1ウェブと、第2ウェブと、上フランジと、下フランジと、を含み、
前記蓄電池は、前記センターパイプと、前記第1ウェブと、前記第2ウェブと、前記上フランジと、前記下フランジとに囲まれる、
ことを特徴とする請求項1または2に記載の洋上風力システム。
【請求項9】
前記海洋構造物は、トランジションピース、を更に備え、
前記蓄電池、及び、前記変圧器は、前記トランジションピースの同じフロアに設けられる、
ことを特徴とする請求項1に記載の洋上風力システム。
【請求項10】
前記蓄電池は、前記整流器の近傍に設けられる、
ことを特徴とする請求項1または2に記載の洋上風力システム。
(【請求項11】以降は省略されています)
発明の詳細な説明
【技術分野】
【0001】
本開示は、洋上風力システムに関する。
続きを表示(約 1,800 文字)
【背景技術】
【0002】
従来より、洋上風力発電された電気を直流に変換することが行われている。
特許文献1は、ナセル内に設けられた発電機によって発電されたエネルギーが、ナセル内に設けられたコンバータによって、直流に変換されること、を開示する。
【先行技術文献】
【特許文献】
【0003】
特許第7240777号公報
【発明の概要】
【発明が解決しようとする課題】
【0004】
特許文献1においては、コンバータ(整流器)がナセルの内部に設けられている。このため、ナセルの内部における機器の配置が煩雑となる課題がある。換言すれば、特許文献1においては、整流器の配置に工夫の余地があった。
【0005】
本開示は、前述した事情に鑑みてなされたものであって、スペースを有効活用し、整流器の配置を工夫することで、機器の配置の煩雑さを改善した洋上風力システムを提供することを目的とする。
【課題を解決するための手段】
【0006】
本開示の一態様に係る洋上風力システムは、洋上風車と、前記洋上風車を支持する海洋構造物と、前記洋上風車によって発電される電気を交流から直流に変換する整流器と、前記整流器によって直流に変換される電気を蓄電する蓄電池と、前記洋上風車によって発電される電気の電圧を変える変圧器と、を備える洋上風力システムであって、前記整流器は、前記洋上風車に含まれるナセルの外部に配置され、前記洋上風車は、複数の鋼管で形成されるタワー、を備え、前記整流器及び前記変圧器は、前記複数の鋼管のうち、前記ナセルに接続される鋼管と、は異なる鋼管に設けられる、ことを特徴とする。
【発明の効果】
【0007】
本開示によれば、スペースを有効活用し、機器の配置の煩雑さを改善した洋上風力システムを提供することができる。
【図面の簡単な説明】
【0008】
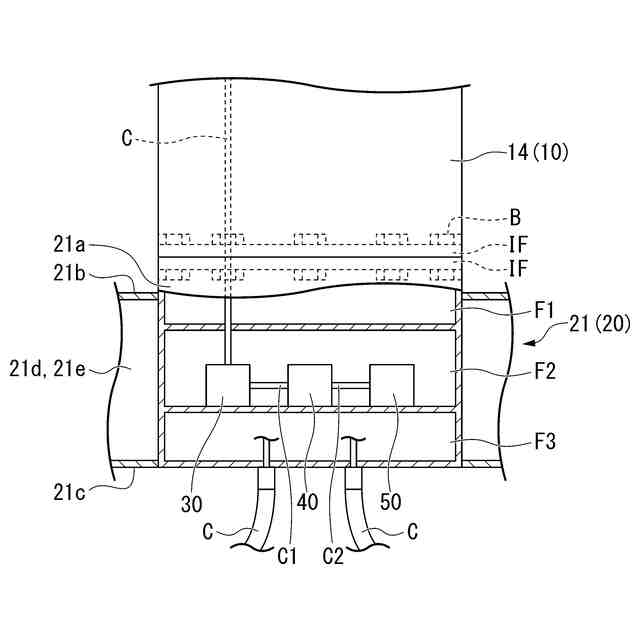
実施形態に係る洋上風力システムの第1例の斜視図である。
実施形態に係る洋上風力システムの第1例の正面図である。
洋上風車のタワーの内部の拡大断面図である。
図2におけるトランジションピースの平面図である。
実施形態に係る洋上風力システムの第2例の正面図である。
実施形態に係る洋上風力システムの第3例の正面図である。
実施形態に係る海洋構造物の備えるトランジションピースの内部構造を示す断面図である。
整流器等が海洋構造物の外部作業床に設けられた例を示す斜視図である。
整流器等が洋上風車のタワーに設けられた例を示す断面図である。
【発明を実施するための形態】
【0009】
以下、図面を参照し、本開示の一実施形態に係る洋上風力システムを説明する。
本実施形態に係る洋上風力システムは、洋上風車によって発電を行うシステムである。 本実施形態に係る洋上風力システムは、例えば、同じ海域又はウインドファームにおいて1つのみ設けられてもよいし、複数設けられてもよい。洋上風力システムが複数設けられる場合、例えば、互いに隣り合う洋上風車同士を送電ケーブルで接続し、互いに発電した電気を授受してもよい。
【0010】
(洋上風力システムの概要)
図1は、実施形態に係る洋上風力システム1の第1例の斜視図である。
図2は、実施形態に係る洋上風力システム1の第1例の正面図である。
図3は、洋上風車10のタワー14の内部の拡大断面図である。
図4は、図2におけるトランジションピース21の平面図である。
図5は、実施形態に係る洋上風力システム1の第2例の正面図である。
図6は、実施形態に係る洋上風力システム1の第3例の正面図である。
図7は、実施形態に係る海洋構造物20の備えるトランジションピース21の内部構造を示す断面図である。
図1~図7に示すように、洋上風力システム1は、洋上風車10と、海洋構造物20と、変圧器30と、整流器40と、蓄電池50と、を備える。
(【0011】以降は省略されています)
この特許をJ-PlatPat(特許庁公式サイト)で参照する
関連特許
個人
風力発電機
3か月前
個人
磁力スロープ
3か月前
個人
波力発電装置
3か月前
個人
風車用回転翼
3か月前
個人
小水力発電器
1か月前
個人
折り畳み式風車
3か月前
個人
サボニウス風車
1か月前
個人
閉空間推進移動装置
2か月前
個人
風力発電装置
2か月前
東レ株式会社
風車ブレード
2か月前
個人
水力発電用水の循環活動
1か月前
Orbray株式会社
発電装置
10日前
個人
波受け板を用いた波浪発電装置
1か月前
株式会社 林物産発明研究所
発電装置
1か月前
個人
岸壁などに設置する波力発電装置
27日前
株式会社ゲットクリーンエナジー
発電機
2か月前
株式会社高橋監理
浮体式洋上風力発電所
4か月前
個人
水車発電と水の循環供給装置
2か月前
株式会社リコー
水力発電装置
3か月前
株式会社ライトエンジ
推力発生方法
1か月前
三菱電機株式会社
風力発電システム
1か月前
株式会社堤水素研究所
風力発電装置
5か月前
個人
上下運動を回転運動に変換する装置。
21日前
株式会社大林組
リフトアップ装置
2か月前
株式会社アイシン
発電装置
3か月前
株式会社アイシン
発電装置
2か月前
株式会社大林組
リフトアップ装置
2か月前
株式会社酉島製作所
多段式流体機械
18日前
個人
波力発電ユニット及び波力発電システム
2か月前
三菱重工業株式会社
風力発電装置
1か月前
株式会社高橋監理
推進装置付き浮体式洋上風力発電所
4か月前
日本精工株式会社
風力発電装置
4か月前
株式会社大林組
リフトアップ装置の制御装置
18日前
パナテックス株式会社
発電装置
2か月前
株式会社日本海洋発電
海流発電システム
3か月前
日本精工株式会社
風力発電装置
3か月前
続きを見る
他の特許を見る