TOP
|
特許
|
意匠
|
商標
特許ウォッチ
Twitter
他の特許を見る
公開番号
2025164379
公報種別
公開特許公報(A)
公開日
2025-10-30
出願番号
2024068320
出願日
2024-04-19
発明の名称
車両用インフラ設備制御方法、車両用インフラ設備制御装置及び車両用インフラシステム
出願人
日産自動車株式会社
代理人
弁理士法人とこしえ特許事務所
主分類
G08G
1/01 20060101AFI20251023BHJP(信号)
要約
【課題】所定の車線が閉塞されていることを示す車線閉塞情報を車両に送信する場合に、リアルタイムの混雑情報に応じて、車線閉塞情報の中継の要否を判断できる車両用インフラ設備制御方法、車両用インフラ設備制御装置及び車両用インフラシステムを提供する。
【解決手段】車両用インフラ設備制御装置13及び車両用インフラシステム1は、車線閉塞情報を取得した場合に、車両用インフラ設備10から所定の範囲内において対象車線Lxが混雑しているか否かを判定し、対象車線Lxが混雑していると判定した場合に、車両用インフラ設備10より車両進行方向後方側にあり、中継設備として機能する他の車両用インフラ設備10に、通信部12を介して、車線閉塞情報を送信する。
【選択図】 図2
特許請求の範囲
【請求項1】
所定の通信可能範囲内にいる車両と通信する通信部を備える車両用インフラ設備をプロセッサを用いて制御する車両用インフラ設備制御方法であって、
前記プロセッサは、
所定の閉塞車線が所定の車線閉塞要因により閉塞されていることを示す車線閉塞情報を取得した場合に、前記車両用インフラ設備から所定の範囲内において、所定の対象車線が混雑しているか否かを判定し、
前記対象車線が混雑していると判定した場合に、前記車両用インフラ設備より車両進行方向後方側にあり、中継設備として機能する他の車両用インフラ設備に、
前記通信部を介して、前記車線閉塞情報を送信する、車両用インフラ設備制御方法。
続きを表示(約 1,000 文字)
【請求項2】
前記対象車線は、前記閉塞車線又は前記閉塞車線に接続する接続車線である、請求項1に記載の車両用インフラ設備制御方法。
【請求項3】
前記プロセッサは、前記車両用インフラ設備に設けられた撮像部が撮像した撮像画像に基づいて、前記対象車線が混雑しているか否かを判定する、請求項1に記載の車両用インフラ設備制御方法。
【請求項4】
前記プロセッサは、
前記撮像画像に基づいて、前記撮像部の撮像区間において、前記対象車線を走行する通行車両の車速が所定の基準速度以下であるか否かを判定し、
前記通行車両の車速が前記基準速度以下である場合は、前記対象車線が混雑していると判定する、請求項3に記載の車両用インフラ設備制御方法。
【請求項5】
前記プロセッサは、
前記撮像画像に基づいて、前記撮像部の撮像区間内の所定領域において、所定時間内に前記対象車線を走行する通行車両の通行台数を取得し、
前記通行台数が所定の基準台数より多い場合に、前記対象車線が混雑していると判定する、請求項3に記載の車両用インフラ設備制御方法。
【請求項6】
前記プロセッサは、前記通信部が受信した外部情報に基づいて、前記車両用インフラ設備から所定の範囲内において前記対象車線が混雑しているか否かを判定する、請求項1に記載の車両用インフラ設備制御方法。
【請求項7】
前記車線閉塞情報は前記車線閉塞要因の発生地点を含む、請求項1に記載の車両用インフラ設備制御方法。
【請求項8】
前記車線閉塞情報は前記車線閉塞要因の種別を含む、請求項1に記載の車両用インフラ設備制御方法。
【請求項9】
前記車線閉塞情報は前記車線閉塞要因の発生時刻を含む、請求項1に記載の車両用インフラ設備制御方法。
【請求項10】
前記プロセッサは、
前記車両用インフラ設備が、撮像部が取得した撮像画像に基づいて前記車線閉塞情報を取得した発信設備である場合は、前記中継設備に前記車線閉塞情報を送信し、
前記通信部が他の車両用インフラ設備から受信した受信情報に基づいて前記車線閉塞情報を取得した場合は、
前記対象車線が混雑しているか否かを判定し、
前記対象車線が混雑していると判定した場合は、前記中継設備に前記車線閉塞情報を送信する、請求項1に記載の車両用インフラ設備制御方法。
(【請求項11】以降は省略されています)
発明の詳細な説明
【技術分野】
【0001】
本発明は、車両用インフラ設備制御方法、車両用インフラ設備制御装置及び車両用インフラシステムに関するものである。
続きを表示(約 1,800 文字)
【背景技術】
【0002】
特許文献1に記載の車載通信装置は、車載通信装置を搭載した車両の位置する場所の統計情報として、時刻ごとの渋滞発生頻度を保持する。そして、特許文献1に記載の車載通信装置は、車車間通信を行う際に、渋滞発生頻度に基づいて、他の車載通信装置を中継機器として情報を中継するか否かを決定する。
【先行技術文献】
【特許文献】
【0003】
特許第5260991号公報
【発明の概要】
【発明が解決しようとする課題】
【0004】
しかしながら、特許文献1に記載の車載通信装置は、統計情報から抽出した渋滞発生頻度に基づいて通信する情報を中継するか否かを決定するため、リアルタイムの情報に基づいて中継の要否を決定できない。
【0005】
本発明が解決しようとする課題は、所定の車線が閉塞されていることを示す車線閉塞情報を車両に送信する場合に、リアルタイムの混雑情報に応じて、車線閉塞情報の中継の要否を判断できる車両用インフラ設備制御方法、車両用インフラ設備制御装置及び車両用インフラシステムを提供することである。
【課題を解決するための手段】
【0006】
本発明は、車線閉塞情報を取得した場合は、車両用インフラ設備から所定の範囲内において、所定の対象車線が混雑しているか否かを判定し、対象車線が混雑していると判定した場合は、車両用インフラ設備より車両進行方向後方側にあり、中継設備として機能する他の車両用インフラ設備に、通信部を介して、車線閉塞情報を送信することによって上記課題を解決する。
【発明の効果】
【0007】
本発明によれば、所定の車線が閉塞されていることを示す車線閉塞情報を車両に送信する場合に、リアルタイムの混雑情報に応じて、車線閉塞情報の中継の要否を判断できるという効果を得られる。
【図面の簡単な説明】
【0008】
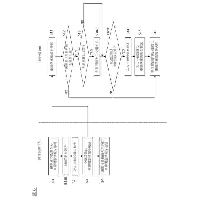
第1実施形態に係る車両用インフラ設備制御装置を有する車両用インフラ設備及び車両用インフラシステムを示す構成図である。
図1に示す車両用インフラ設備が車両に車線閉塞情報を送信し、車線閉塞情報を受信した車両が車線変更を行う例を示す図である。
図1に示す車両用インフラ設備が車両に車線閉塞情報を送信し、車線閉塞情報を受信した車両が車線閉塞要因の発生地点を迂回する例を示す図である。
図1に示す車両用インフラシステムにおいて、車両用インフラ設備が車線閉塞情報を送受信する手順及び車線閉塞情報を受信した車両の運転制御を示すフローチャートである。
第2実施形態に係る車両用インフラシステムにおいて、車両用インフラ設備が車線閉塞情報を送受信する手順を示すフローチャートである。
第3実施形態に係る車両用インフラシステムにおいて、車両用インフラ設備が車線閉塞情報を送受信する手順を示すフローチャートである。
【発明を実施するための形態】
【0009】
以下、本発明の実施形態を図面に基づいて説明する。
《第1実施形態》
本発明の第1実施形態について、図1~4に基づいて説明する。
図1に示すように、車両用インフラシステム1は、複数の車両用インフラ設備10及び複数の車両4を有する。車両用インフラ設備10は、車両4が通行する道路Rに沿って設けられている(図2参照)。各々の車両用インフラ設備10は、道路Rの交通流を監視するとともに、各種の交通情報を所定の通信可能範囲Ac内にいる車両4に送信する。
【0010】
図1に示す例では、複数の車両用インフラ設備10は、第1の車両用インフラ設備10a,第2の車両用インフラ設備10b,第3の車両用インフラ設備10c及び第4の車両用インフラ設備10dから構成される。なお、車両用インフラシステム1の車両用インフラ設備10の数は4つに限定されず、2つ以上であればよい。また、図1に示す例では、複数の車両4は、第1の車両4a,第2の車両4b,第3の車両4c及び第4の車両4dから構成されるが、車両4の数は4台に限定されず、1~3台であっても、5台以上であってもよい。なお、本実施形態に係る車両4は、自律走行可能な自動運転車両であるが、これに限定されず、ドライバが車両4を手動で運転していてもよい。
(【0011】以降は省略されています)
この特許をJ-PlatPat(特許庁公式サイト)で参照する
関連特許
日産自動車株式会社
電子機器
2日前
日産自動車株式会社
電動車両
18日前
日産自動車株式会社
内燃機関
15日前
日産自動車株式会社
電池モジュール
16日前
日産自動車株式会社
ロータシャフト
10日前
日産自動車株式会社
ロータシャフト
10日前
日産自動車株式会社
電池モジュール
23日前
日産自動車株式会社
車両用排気部構造
15日前
日産自動車株式会社
リチウム二次電池
15日前
日産自動車株式会社
エアレスタイヤ構造
2日前
日産自動車株式会社
塗装方法及び自動車
17日前
日産自動車株式会社
エンジンのアンダカバー
23日前
株式会社ニフコ
締結構造
23日前
日産自動車株式会社
運転支援方法及び運転支援装置
23日前
日産自動車株式会社
情報提供方法及び情報提供装置
2日前
日産自動車株式会社
運転支援方法及び運転支援装置
24日前
日産自動車株式会社
物体検出方法、及び物体検出装置
15日前
日産自動車株式会社
衝突回避方法、及び衝突回避装置
15日前
日産自動車株式会社
車両制御方法および車両制御装置
24日前
日産自動車株式会社
車両制御方法および車両制御装置
24日前
日産自動車株式会社
車両制御方法および車両制御装置
24日前
日産自動車株式会社
楽曲情報共有方法及び楽曲情報共有装置
15日前
日産自動車株式会社
地図情報生成方法及び地図情報生成装置
18日前
日産自動車株式会社
車両の発進制御方法、車両の発進制御装置
15日前
日産自動車株式会社
内燃機関の制御方法及び内燃機関の制御装置
15日前
日産自動車株式会社
成形のための位置決め治具および位置決め方法
18日前
日産自動車株式会社
ターボチャージャの潤滑油吸い出し抑制方法および装置
15日前
日産自動車株式会社
車両用インフラ設備制御方法、車両用インフラ設備制御装置及び車両用インフラシステム
23日前
日産自動車株式会社
車両用インフラ設備制御方法、車両用インフラ設備制御装置及び車両用インフラシステム
23日前
日産自動車株式会社
固体酸化物形燃料電池セル、固体酸化物形燃料電池セルの製造方法、及び固体酸化物形電解セル
15日前
個人
安全支援装置
17日前
日本精機株式会社
警報システム
2か月前
株式会社SUBARU
車両
1か月前
個人
自動電動車椅子
2か月前
スズキ株式会社
運転支援装置
2か月前
日本無線株式会社
船舶システム
18日前
続きを見る
他の特許を見る