TOP
|
特許
|
意匠
|
商標
特許ウォッチ
Twitter
他の特許を見る
公開番号
2025163634
公報種別
公開特許公報(A)
公開日
2025-10-29
出願番号
2024067098
出願日
2024-04-17
発明の名称
遊技機
出願人
株式会社平和
代理人
個人
,
個人
,
個人
,
個人
主分類
A63F
7/02 20060101AFI20251022BHJP(スポーツ;ゲーム;娯楽)
要約
【課題】オブジェクトの視認性の低下が抑制された遊技機を提供する。
【解決手段】発光部を備える基板と、前記基板の前方に配置され、前記発光部の光が照射されるシートと、前記シートの前方に配置されるレンズと、を備え、前記シートにはオブジェクトが設けられており、前記レンズの前面には凹凸部が設けられており、前記オブジェクトの周縁近傍の所定範囲を周縁部とすると、前記レンズの前面は、少なくとも前記周縁部に対応する部分が平面部となっており、前記平面部の外側が前記凹凸部となっている。
【選択図】図7
特許請求の範囲
【請求項1】
発光装飾ユニットを備える遊技機であって、
前記発光装飾ユニットは、
発光部を備える基板と、
前記基板の前方に配置され、前記発光部の光が照射されるシートと、
前記シートの前方に配置されるレンズと、を備え、
前記シートにはオブジェクトが設けられており、
前記レンズの前面には凹凸部が設けられており、
前記オブジェクトの周縁近傍の所定範囲を周縁部とすると、
前記レンズの前面は、少なくとも前記周縁部に対応する部分が平面部となっており、前記平面部の外側が前記凹凸部となっている、遊技機。
発明の詳細な説明
【技術分野】
【0001】
本発明は、遊技機に関する。
続きを表示(約 1,400 文字)
【背景技術】
【0002】
遊技機として、遊技盤および発射装置等を備えたパチンコ遊技機が知られている。パチンコ遊技機では、遊技媒体(遊技球)が遊技盤の前面に設けられた遊技領域に発射され、遊技球が、遊技領域に設けられている入賞口に進入したことに基づき、遊技者に遊技上の利益が付与される。
【0003】
このような遊技機には、演出用の役物装置(演出役物装置)を備えたものがある(例えば、特許文献1参照)。
【先行技術文献】
【特許文献】
【0004】
特開2014-217428号公報
【発明の概要】
【発明が解決しようとする課題】
【0005】
ところで、遊技機では、オブジェクトの視認性の低下を抑制することが求められている。
【0006】
本発明は、上記事情に鑑みてなされたものであり、オブジェクトの視認性の低下が抑制された遊技機を提供することを目的とする。
【課題を解決するための手段】
【0007】
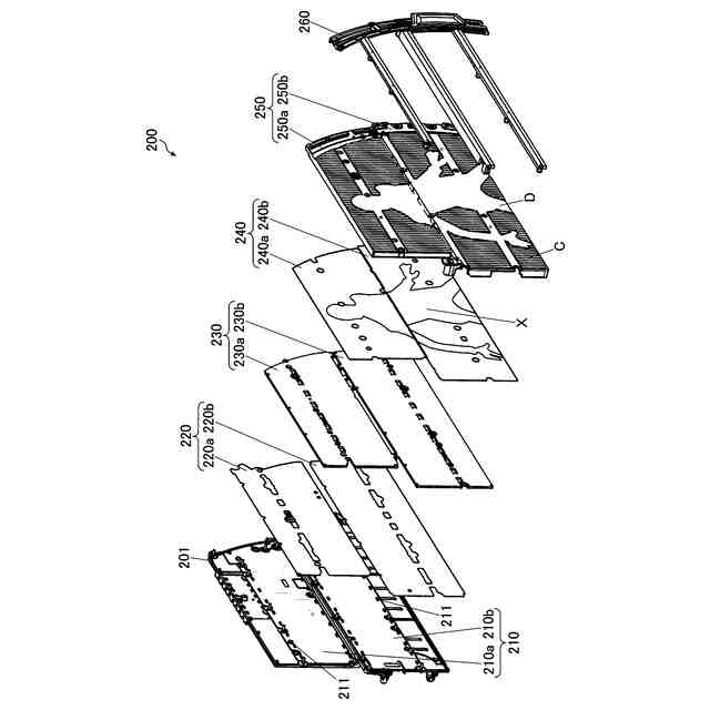
上記課題を解決するために、本発明の遊技機は、
発光装飾ユニット(発光装飾ユニット200)を備え、
前記発光装飾ユニットは、
発光部(LED211)を備える基板(基板210)と、
前記基板の前方に配置され、前記発光部の光が照射されるシート(装飾シート240)と、
前記シートの前方に配置されるレンズ(アウターレンズ250)と、を備え、
前記シートにはオブジェクト(キャラクタX)が設けられており、
前記レンズの前面には凹凸部(凹凸部C)が設けられており、
前記オブジェクトの周縁近傍の所定範囲を周縁部(周縁部G)とすると、
前記レンズの前面は、少なくとも前記周縁部に対応する部分が平面部(平面部D)となっており、前記平面部の外側が前記凹凸部となっている。
【0008】
前記レンズの前面における、少なくとも前記周縁部に対応する部分を平面部とすることで、オブジェクトの輪郭がぼやける(歪む)のを抑制し、オブジェクトの輪郭をはっきりとさせ、オブジェクトの視認性の低下を抑制できる。また、前記レンズの前面において前記平面部の外側を前記凹凸部とすることで、より広範囲に光を拡散でき、演出効果を高めることができる。
【発明の効果】
【0009】
本発明の遊技機によれば、オブジェクトの視認性の低下を抑制することができる。
【図面の簡単な説明】
【0010】
本発明の実施の形態に係る遊技機の一例を示すもので、扉が開放された状態を示す斜視図である。
同、遊技機を正面側から見た図である。
同、遊技盤を正面側から見た図である。
同、遊技盤を正面側から見た図である。
同、発光装飾ユニットの分解斜視図である。
同、アウターレンズを示すもので、(a)は上方から見た図であり、(b)は前方から見た斜視図であって、一部を拡大したものである。
同、(a)は装飾シートの正面図であり、(b)はアウターレンズの正面図である。
【発明を実施するための形態】
(【0011】以降は省略されています)
この特許をJ-PlatPat(特許庁公式サイト)で参照する
関連特許
株式会社平和
遊技機
今日
株式会社平和
遊技機
2か月前
株式会社平和
遊技機
1か月前
株式会社平和
遊技機
1か月前
株式会社平和
遊技機
1か月前
株式会社平和
遊技機
1か月前
株式会社平和
遊技機
2か月前
株式会社平和
遊技機
2か月前
株式会社平和
遊技機
2か月前
株式会社平和
遊技機
2か月前
株式会社平和
遊技機
2か月前
株式会社平和
遊技機
2か月前
株式会社平和
遊技機
2か月前
株式会社平和
遊技機
1か月前
株式会社平和
遊技機
2か月前
株式会社平和
遊技機
2か月前
株式会社平和
遊技機
2か月前
株式会社平和
遊技機
2か月前
株式会社平和
遊技機
2か月前
株式会社平和
遊技機
2か月前
株式会社平和
遊技機
3か月前
株式会社平和
遊技機
3か月前
株式会社平和
遊技機
3か月前
株式会社平和
遊技機
3か月前
株式会社平和
遊技機
3か月前
株式会社平和
遊技機
1か月前
株式会社平和
遊技機
1か月前
株式会社平和
遊技機
5日前
株式会社平和
遊技機
21日前
株式会社平和
遊技機
5日前
株式会社平和
遊技機
6日前
株式会社平和
遊技機
6日前
株式会社平和
遊技機
6日前
株式会社平和
遊技機
6日前
株式会社平和
遊技機
8日前
株式会社平和
遊技機
8日前
続きを見る
他の特許を見る