TOP
|
特許
|
意匠
|
商標
特許ウォッチ
Twitter
他の特許を見る
10個以上の画像は省略されています。
公開番号
2025133312
公報種別
公開特許公報(A)
公開日
2025-09-11
出願番号
2024031188
出願日
2024-03-01
発明の名称
遊技機
出願人
株式会社平和
代理人
個人
,
個人
主分類
A63F
7/02 20060101AFI20250904BHJP(スポーツ;ゲーム;娯楽)
要約
【課題】 演出の興趣を向上する。
【解決手段】 パチンコ機1は、操作手段(十字キー)の操作に伴い出力する楽曲を選択することが可能な演出制御基板300を備えている。特に、第1の楽曲選択許可期間中に所定の楽曲(例えば、「楽曲B」)が選択された場合と、第2の楽曲選択許可期間中に所定の楽曲(例えば、「楽曲B」)が選択された場合とで、所定の楽曲(例えば、「楽曲B」)における出力を開始する位置を異ならせることが可能となっている。これによって、所定の楽曲(例えば、「楽曲B」)における出力を開始する位置について、各楽曲選択許可期間(第1の楽曲選択許可期間・第2の楽曲選択許可期間)の長さに応じて、適切に設定することが可能となる。
【選択図】 図45
特許請求の範囲
【請求項1】
操作手段の操作に伴い出力する楽曲を選択することが可能な楽曲選択手段を備え、
第1の期間中に所定の楽曲が選択された場合と、第2の期間中に前記所定の楽曲が選択された場合とで、前記所定の楽曲における出力を開始する位置を異ならせることが可能である、遊技機。
続きを表示(約 77 文字)
【請求項2】
前記第1の期間と前記第2の期間との間において、出力する楽曲の選択が禁止される期間が設けられている、請求項1に記載の遊技機。
発明の詳細な説明
【技術分野】
【0001】
本発明は、操作手段の操作に伴い出力する楽曲を選択することが可能な遊技機に関する。
続きを表示(約 2,600 文字)
【背景技術】
【0002】
従来、操作手段の操作に伴い出力する楽曲を選択することが可能な遊技機が知られている(特許文献1参照)。この遊技機では、有利状態の生起中において、遊技者によって選択された楽曲を出力することが可能となっている。
【先行技術文献】
【特許文献】
【0003】
特開2023-92904号公報
【発明の概要】
【発明が解決しようとする課題】
【0004】
しかしながら、従来の遊技機では、演出の興趣が低下する恐れがある。
本発明の課題は、演出の興趣を向上することにある。
【課題を解決するための手段】
【0005】
上記目的を達成するために、第一の発明に係る遊技機は、操作手段の操作に伴い出力する楽曲を選択することが可能な楽曲選択手段を備え、第1の期間中に所定の楽曲が選択された場合と、第2の期間中に前記所定の楽曲が選択された場合とで、前記所定の楽曲における出力を開始する位置を異ならせることが可能となっている。
第一の発明に係る遊技機では、第1の期間中に所定の楽曲が選択された場合と、第2の期間中に所定の楽曲が選択された場合とで、異なる位置から所定の楽曲の出力を開始することが可能となっている。これによって、所定の楽曲における出力を開始する位置について、各期間(第1の期間・第2の期間)の長さに応じて、適切に設定することが可能となる。よって、演出の興趣を向上することが可能となる。
【0006】
第二の発明に係る遊技機は、第一の発明に係る遊技機において、前記第1の期間と前記第2の期間との間において、出力する楽曲の選択が禁止される期間(以下、「選択禁止期間」とする)が設けられている。
第二の発明に係る遊技機では、第1の期間中における楽曲の出力について、選択禁止期間においても継続することが可能となり、第1の期間から第2の期間までを一連の期間として演出することが可能となる。
【発明の効果】
【0007】
本発明によれば、演出の興趣を向上することが可能となる。
【図面の簡単な説明】
【0008】
パチンコ機の全体構成を示す斜視図である。
遊技盤の正面を示し、特に説明に必要な部分を模式的に示した図である。
パチンコ機の制御系の構成を示すブロック図である。
各種抽選の当選確率を示す図である。
普通図柄抽選の当選種別を示す図である。
特別図柄抽選の当選種別を示す図である。
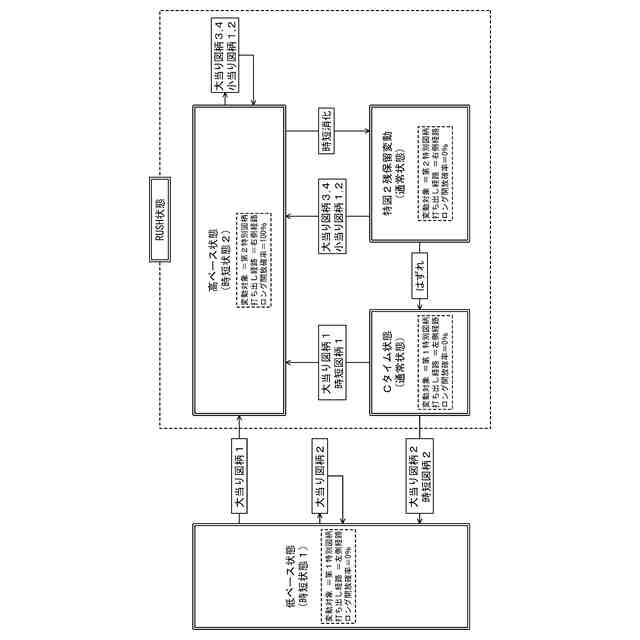
遊技状態の遷移を示す図である。
CPU初期化処理を示すフローチャートである。
メインループ処理を示すフローチャートである。
電源遮断時退避処理を示すフローチャートである。
タイマ割込み処理を示すフローチャートである。
ダイナミックポート出力処理を示すフローチャートである。
性能表示装置出力処理を示すフローチャートである。
設定関連処理を示すフローチャートである。
スイッチ管理処理を示すフローチャートである。
普図始動球検出処理を示すフローチャートである。
特図1始動球検出処理を示すフローチャートである。
特図2始動球検出処理を示すフローチャートである。
特別図柄乱数取得処理を示すフローチャートである。
特別遊技管理処理を示すフローチャートである。
特図変動待ち処理を示すフローチャートである。
特図変動中処理を示すフローチャートである。
回数切り管理処理を示すフローチャートである。
特図停止中処理を示すフローチャートである。
第1大入賞口開放前処理を示すフローチャートである。
第1大入賞口開放制御処理を示すフローチャートである。
第1大入賞口閉鎖有効処理を示すフローチャートである。
第1大入賞口開放終了ウェイト処理を示すフローチャートである。
第2大入賞口開放前処理を示すフローチャートである。
第2大入賞口開放制御処理を示すフローチャートである。
第2大入賞口閉鎖有効処理を示すフローチャートである。
第2大入賞口開放終了ウェイト処理を示すフローチャートである。
特別電役開閉切替処理を示すフローチャートである。
普通遊技管理処理を示すフローチャートである。
普図変動待ち処理を示すフローチャートである。
普図変動中処理を示すフローチャートである。
普図停止中処理を示すフローチャートである。
普通電動役物開放前処理を示すフローチャートである。
普通電役開閉切替処理を示すフローチャートである。
普通電動役物開放制御処理を示すフローチャートである。
普通電動役物閉鎖有効処理を示すフローチャートである。
普通電動役物開放終了ウェイト処理を示すフローチャートである。
性能表示装置制御処理を示すフローチャートである。
楽曲の構成及び音声ファイルの構成を示す図である。
遊技の進行と楽曲再生仕様との関係を示す図である。
楽曲ファイルの再生方法を示す図である。
【発明を実施するための形態】
【0009】
以下、本発明の実施形態について図面を参照しながら説明する。
本実施形態では、本発明に係る遊技機を、パチンコ機1に適用している。
【0010】
(パチンコ機1の全体構成)
まず、パチンコ機1の全体構成を説明する。
図1は、パチンコ機の全体構成を示す斜視図である。
パチンコ機1は、外枠ユニット2と、内枠ユニット3と、前枠ユニット4と、遊技盤ユニット10と、を含んで構成されている。
外枠ユニット2、内枠ユニット3及び前枠ユニット4は、ヒンジ機構を介して、互いに固定されている。これによって、内枠ユニット3は、外枠ユニット2に対して開閉することが可能となっている。また、前枠ユニット4は、内枠ユニット3及び外枠ユニット2のそれぞれに対して開閉することが可能となっている。
(【0011】以降は省略されています)
この特許をJ-PlatPat(特許庁公式サイト)で参照する
関連特許
株式会社平和
遊技機
3か月前
株式会社平和
遊技機
2か月前
株式会社平和
遊技機
2か月前
株式会社平和
遊技機
2か月前
株式会社平和
遊技機
2か月前
株式会社平和
遊技機
2か月前
株式会社平和
遊技機
2か月前
株式会社平和
遊技機
2か月前
株式会社平和
遊技機
2か月前
株式会社平和
遊技機
2か月前
株式会社平和
遊技機
2か月前
株式会社平和
遊技機
2か月前
株式会社平和
遊技機
2か月前
株式会社平和
遊技機
4日前
株式会社平和
遊技機
2か月前
株式会社平和
遊技機
2か月前
株式会社平和
遊技機
2か月前
株式会社平和
遊技機
2か月前
株式会社平和
遊技機
3か月前
株式会社平和
遊技機
3か月前
株式会社平和
遊技機
3か月前
株式会社平和
遊技機
3か月前
株式会社平和
遊技機
3か月前
株式会社平和
遊技機
3か月前
株式会社平和
遊技機
3か月前
株式会社平和
遊技機
2か月前
株式会社平和
遊技機
1か月前
株式会社平和
遊技機
1か月前
株式会社平和
遊技機
26日前
株式会社平和
遊技機
4日前
株式会社平和
遊技機
4日前
株式会社平和
遊技機
5日前
株式会社平和
遊技機
5日前
株式会社平和
遊技機
18日前
株式会社平和
遊技機
18日前
株式会社平和
遊技機
18日前
続きを見る
他の特許を見る