TOP
|
特許
|
意匠
|
商標
特許ウォッチ
Twitter
他の特許を見る
10個以上の画像は省略されています。
公開番号
2025135468
公報種別
公開特許公報(A)
公開日
2025-09-18
出願番号
2024033338
出願日
2024-03-05
発明の名称
遊技機
出願人
株式会社平和
代理人
個人
主分類
A63F
7/02 20060101AFI20250910BHJP(スポーツ;ゲーム;娯楽)
要約
【課題】遊技中であるのか否かを把握困難となるのを防止可能な遊技機を提供する。
【解決手段】普図抽選の結果が相対的に不利となりやすい非入賞容易状態、及び、普図抽選の結果が相対的に有利となりやすい入賞容易状態のいずれかを設定可能であり、入賞容易状態は普図抽選に基づいて成立し得る終了条件の成立により終了し、入賞容易状態が終了する場合に利益量を報知する結果報知を実行可能であり、結果報知が開始されてから所定時間が経過した場合には非入賞容易状態に対応する特定演出の実行に切り替わり、所定時間が経過する前に特図抽選が実行された場合には特図抽選に基づく演出の実行に切り替わるように設定する。
【選択図】図163
特許請求の範囲
【請求項1】
遊技球が進入可能な進入領域と、
複数の始動領域のうちの所定の始動領域への遊技球の進入の難易度を可変可能に作動する可変手段と、
進入領域への遊技球の進入に基づき、可変手段の作動に係る普図抽選を実行可能な第1抽選手段と、
始動領域への遊技球に進入に基づき、所定の大入賞口が開放される大入賞口開放遊技の実行に係る特図抽選を実行可能な第2抽選手段と、
第1抽選手段による普図抽選の結果が相対的に不利となりやすい非入賞容易状態、及び、第1抽選手段による普図抽選の結果が相対的に有利となりやすい入賞容易状態のいずれかを設定可能な設定手段と、
演出の実行を制御する演出制御手段と、を備え、
入賞容易状態は、少なくとも第1抽選手段による普図抽選に基づいて成立し得る終了条件の成立により終了する遊技機であって、
演出制御手段は、
非入賞容易状態においては、主として第2抽選手段による特図抽選に基づく演出を実行するように制御し、入賞容易状態においては、主として第1抽選手段による普図抽選に基づく演出を実行するように制御し、
入賞容易状態が終了する場合に、少なくとも入賞容易状態が設定されていた期間内における大入賞口開放遊技の実行に基づき遊技者に付与された利益量を報知する結果報知を実行可能であり、
結果報知が開始されてから所定時間が経過した場合には、当該結果報知が非入賞容易状態に対応する特定演出の実行に切り替わるものの、結果報知が開始されてから所定時間が経過する前に第2抽選手段による特図抽選が実行された場合には、当該結果報知が第2抽選手段による特図抽選に基づく演出の実行に切り替わることを特徴とする遊技機。
発明の詳細な説明
【技術分野】
【0001】
本発明は、遊技機に関する。
続きを表示(約 7,400 文字)
【背景技術】
【0002】
従来、この種の遊技機として、始動入賞口(始動領域)への遊技球の入球を条件に特別遊技の実行の可否を決定する当否抽選、当否抽選の結果を示す特別図柄の決定、及び、特別図柄の変動表示を実行し、特別遊技の実行が定められた特定図柄が決定されると多くの賞球を獲得可能な特別遊技を実行するとともに、遊技領域に設けられたゲート(進入領域)への遊技球の進入を条件に、始動入賞口への遊技球の入球の難易度を変化させる可動片(可動手段)を変位させるか否かを決定する普通図柄の抽選及び普通図柄の変動表示を行い、この抽選の結果が所定の抽選結果となると、始動入賞口への遊技球の入球を容易とする位置へ可動片を変位させるようなものが知られている。
このような遊技機においては、遊技者の興趣を高めるべく、有利度の異なる複数の遊技状態を設け、所定の特定図柄が決定された場合には、特別遊技の終了後の遊技状態を有利度の異なる遊技状態に設定するようなことが行われている。具体的には、通常遊技状態、及び、通常遊技状態よりも普通図柄の抽選により所定の抽選結果が決定されやすい時短遊技状態を設け、所定の特定図柄が決定されると、特別遊技の終了後に時短遊技状態を設定するようなことが行われている。
このような時短遊技状態は、特別図柄の変動表示が所定回数実行されるという時短終了条件が成立することで終了するように設定されているのが一般であるが、近年では、遊技者の興趣を高めるべく、普通図柄の変動表示が所定回数実行されるという時短終了条件が成立することで終了するように設定された遊技機(いわゆる普図ST機)も考案されている。また、このような遊技機では、普通図柄の変動表示が所定回数実行されることで時短遊技状態が終了すると、通常遊技状態から時短遊技状態へ移行した後、普通図柄の変動表示が所定回数実行されることで時短遊技状態が終了するまでに実行された特別遊技の回数や払い出された賞球の総数を報知する結果報知が実行されるようになっている(特許文献1参照)。
【先行技術文献】
【特許文献】
【0003】
特開2023-19501号公報
【発明の概要】
【発明が解決しようとする課題】
【0004】
上述のような遊技機においては、結果報知が実行された場合、当該結果報知は通常遊技状態中における特別図柄の変動表示が開始されるまで継続するように設定されるのが一般的である。
しかし、このような遊技機では、普通図柄の変動表示が所定回数実行されることで時短遊技状態が終了した際に、遊技者が即座に遊技を終了し離席してしまうと、結果報知が実行されたままとなり、結果報知が実行されている遊技機が遊技中であるのか否かを把握することが困難であり、遊技機の稼働が低下するとのおそれが生じていた。
【0005】
そこで、本発明は、上述した事情によりなされたものであり、遊技中であるのか否かを把握困難となるのを防止可能な遊技機の提供を目的とする。
【課題を解決するための手段】
【0006】
上述した目的を達成するために、本発明は次のように構成されている。
(1)本発明は、遊技球が進入可能な進入領域と、複数の始動領域のうちの所定の始動領域への遊技球の進入の難易度を可変可能に作動する可変手段と、進入領域への遊技球の進入に基づき、可変手段の作動に係る普図抽選を実行可能な第1抽選手段と、始動領域への遊技球に進入に基づき、所定の大入賞口が開放される大入賞口開放遊技の実行に係る特図抽選を実行可能な第2抽選手段と、第1抽選手段による普図抽選の結果が相対的に不利となりやすい非入賞容易状態、及び、第1抽選手段による普図抽選の結果が相対的に有利となりやすい入賞容易状態のいずれかを設定可能な設定手段と、演出の実行を制御する演出制御手段と、を備え、入賞容易状態は、少なくとも第1抽選手段による普図抽選に基づいて成立し得る終了条件の成立により終了する遊技機であって、演出制御手段は、非入賞容易状態においては、主として第2抽選手段による特図抽選に基づく演出を実行するように制御し、入賞容易状態においては、主として第1抽選手段による普図抽選に基づく演出を実行するように制御し、入賞容易状態が終了する場合に、少なくとも入賞容易状態が設定されていた期間内における大入賞口開放遊技の実行に基づき遊技者に付与された利益量を報知する結果報知を実行可能であり、結果報知が開始されてから所定時間が経過した場合には、当該結果報知が非入賞容易状態に対応する特定演出の実行に切り替わるものの、結果報知が開始されてから所定時間が経過する前に第2抽選手段による特図抽選が実行された場合には、当該結果報知が第2抽選手段による特図抽選に基づく演出の実行に切り替わることを特徴とする。
【発明の効果】
【0007】
本発明によれば、遊技中であるのか否かを把握困難となるのを防止可能な遊技機を提供することができる。
【図面の簡単な説明】
【0008】
第1形態に係るパチンコ機の外観斜視図である。
第1形態に係るパチンコ機の前扉を開けた状態の外観斜視図である。
第1形態に係るパチンコ機の遊技盤の正面概略図である。
第1形態に係るパチンコ機の内レールの外観斜視図である。
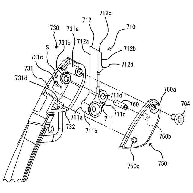
第1形態に係るパチンコ機の逆流防止部の分解斜視図である。
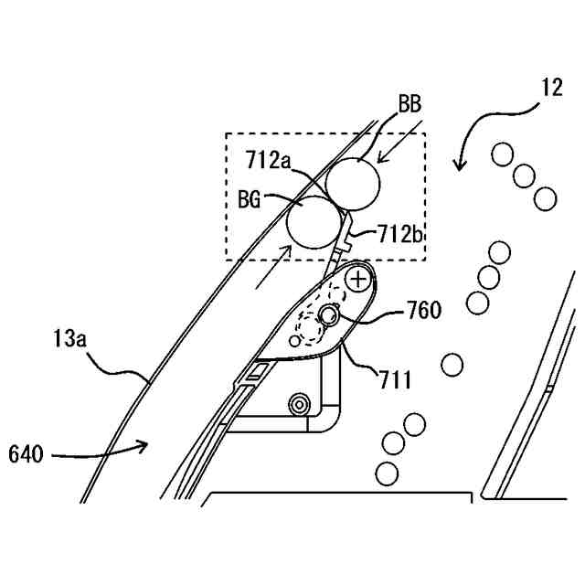
第1形態に係るパチンコ機の回動基部が非回動状態にあるときの逆流防止部の正面概略図である。
第1形態に係るパチンコ機の回動基部が回動状態にあるときの逆流防止部の正面概略図である。
第1形態に係るパチンコ機の回動基部が回動中状態にあるときの逆流防止部の正面概略図である。
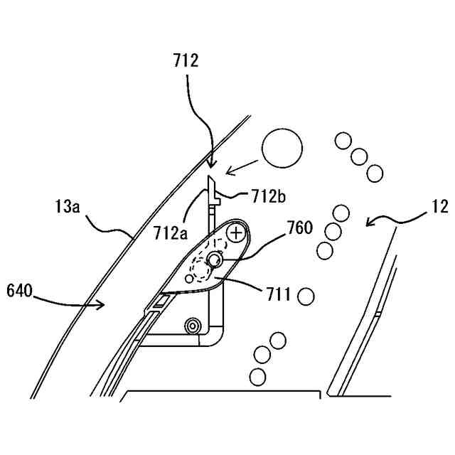
第1形態に係るパチンコ機の回動基部が回動中状態にあるときの逆流防止部における回動弁の正面拡大図である。
第1形態に係るパチンコ機の裏側の概略図である。
第1形態に係るパチンコ機の主制御基板の外観斜視図である。
第1形態に係るパチンコ機の第2始動入賞口及び可動片の拡大図である。
第1形態に係るパチンコ機のアタッカー装置内部の正面概略図である。
第1形態に係るパチンコ機の電気的構成を示すブロック図である。
第1形態に係るパチンコ機の当否乱数判定テーブルの説明図である。
第1形態に係るパチンコ機の特別図柄乱数判定テーブルの説明図である。
第1形態に係るパチンコ機の特別電動役物作動テーブルの説明図である。
第1形態に係るパチンコ機の遊技状態設定テーブルの説明図である。
第1形態に係るパチンコ機の変動パターンテーブルの説明図である。
第1形態に係るパチンコ機の変動パターンテーブルの説明図である。
第1形態に係るパチンコ機の停止表示時間テーブルの説明図である。
第1形態に係るパチンコ機の当たり決定乱数判定テーブルの説明図である。
第1形態に係るパチンコ機の普通図柄変動パターン決定テーブルの説明図である。
第1形態に係るパチンコ機の可動片作動制御テーブルの説明図である。
第1形態に係るパチンコ機の電断復帰時に設定される制御状態に関する説明図である。
第1形態に係るパチンコ機の電断復帰時に設定される制御状態に関する説明図である。
第1形態に係るパチンコ機の主制御基板における電断退避処理の概略を示すフローチャートである。
第1形態に係るパチンコ機の主制御基板におけるメイン処理の概略を示すフローチャートである。
第1形態に係るパチンコ機の主制御基板における電断復帰時処理の概略を示すフローチャートである。
第1形態に係るパチンコ機の主制御基板における差球制御リセット処理の概略を示すフローチャートである。
第1形態に係るパチンコ機の主制御基板におけるタイマ割込処理の概略を示すフローチャートである。
第1形態に係るパチンコ機の主制御基板におけるセンサ検出時処理の概略を示すフローチャートである。
第1形態に係るパチンコ機の主制御基板におけるゲート検出時処理の概略を示すフローチャートである。
第1形態に係るパチンコ機の主制御基板における第1始動入賞口検出時処理の概略を示すフローチャートである。
第1形態に係るパチンコ機の主制御基板における第2始動入賞口検出時処理の概略を示すフローチャートである。
第1形態に係るパチンコ機の主制御基板における事前判定処理の概略を示すフローチャートである。
第1形態に係るパチンコ機の主制御基板における大入賞口検出時処理の概略を示すフローチャートである。
第1形態に係るパチンコ機の主制御基板における一般入賞口検出時処理の概略を示すフローチャートである。
第1形態に係るパチンコ機の主制御基板におけるアウト検出時処理の概略を示すフローチャートである。
第1形態に係るパチンコ機の主制御基板における特定領域検出時処理の概略を示すフローチャートである。
第1形態に係るパチンコ機の主制御基板における特図関連制御処理の概略を示すフローチャートである。
第1形態に係るパチンコ機の主制御基板における特別図柄変動開始処理の概略を示すフローチャートである。
第1形態に係るパチンコ機の主制御基板における当否判定処理の概略を示すフローチャートである。
第1形態に係るパチンコ機の主制御基板における変動パターン決定処理の概略を示すフローチャートである。
第1形態に係るパチンコ機の主制御基板における特別図柄変動停止処理の概略を示すフローチャートである。
第1形態に係るパチンコ機の主制御基板における停止後処理の概略を示すフローチャートである。
第1形態に係るパチンコ機の主制御基板における特別遊技制御処理の概略を示すフローチャートである。
第1形態に係るパチンコ機の主制御基板における特別遊技終了処理の概略を示すフローチャートである。
第1形態に係るパチンコ機の主制御基板における普図関連制御処理の概略を示すフローチャートである。
第1形態に係るパチンコ機の主制御基板における普通図柄変動開始処理の概略を示すフローチャートである。
第1形態に係るパチンコ機の主制御基板における普通図柄抽選処理の概略を示すフローチャートである。
第1形態に係るパチンコ機の主制御基板における普通図柄変動停止処理の概略を示すフローチャートである。
第1形態に係るパチンコ機の主制御基板における普通図柄停止後処理の概略を示すフローチャートである。
第1形態に係るパチンコ機の主制御基板における可動片制御処理の概略を示すフローチャートである。
第1形態に係るパチンコ機の主制御基板におけるソレノイド制御処理の概略を示すフローチャートである。
第1形態に係るパチンコ機の主制御基板における差球関連コマンドセット処理の概略を示すフローチャートである。
第1形態に係るパチンコ機の主制御基板における差球判定制御処理の概略を示すフローチャートである。
第1形態に係るパチンコ機の主制御基板における設定関連処理の概略を示すフローチャートである。
第1形態に係るパチンコ機の各遊技状態への移行を示した状態遷移図である。
第1形態に係るパチンコ機の各演出状態への移行を示した状態遷移図である。
第1形態に係るパチンコ機の変動演出の態様の一例を示す図である。
第1形態に係るパチンコ機の変動演出の態様の一例を示す図である。
第1形態に係るパチンコ機の変動演出の態様の一例を示す図である。
第1形態に係るパチンコ機の変動演出の態様の一例を示す図である。
第1形態に係るパチンコ機の変動演出の態様の一例を示す図である。
第1形態に係るパチンコ機の変動演出の態様の一例を示す図である。
第1形態に係るパチンコ機の変動演出決定テーブルの説明図である。
第1形態に係るパチンコ機の変動演出決定テーブルの説明図である。
第1形態に係るパチンコ機の各種演出や各種示唆の態様の一例を示す図である。
第1形態に係るパチンコ機の副制御基板におけるメイン処理の概略を示すフローチャートである。
第1形態に係るパチンコ機の副制御基板におけるタイマ割込処理の概略を示すフローチャートである。
第1形態に係るパチンコ機の副制御基板における遊技状態設定関連コマンド受信処理の概略を示すフローチャートである。
第1形態に係るパチンコ機の副制御基板における電断復帰コマンド受信処理の概略を示すフローチャートである。
第1形態に係るパチンコ機の副制御基板における停止表示終了コマンド受信処理の概略を示すフローチャートである。
第1形態に係るパチンコ機の副制御基板における変動パターンコマンド受信処理の概略を示すフローチャートである。
第1形態に係るパチンコ機の副制御基板における差球関連コマンド受信処理の概略を示すフローチャートである。
第1形態に係るパチンコ機の副制御基板における賞球指定コマンド受信処理の概略を示すフローチャートである。
第1形態に係るパチンコ機の他の設定例における当否乱数判定テーブルの説明図である。
第1形態に係るパチンコ機の他の設定例における特別図柄乱数判定テーブルの説明図である。
第2形態に係るパチンコ機の当否乱数判定テーブルの説明図である。
第2形態に係るパチンコ機の特別図柄乱数判定テーブルの説明図である。
第2形態に係るパチンコ機の特別電動役物作動テーブルの説明図である。
第2形態に係るパチンコ機の遊技状態設定テーブルの説明図である。
第2形態に係るパチンコ機の変動パターンテーブルの説明図である。
第2形態に係るパチンコ機の停止表示時間テーブルの説明図である。
第2形態に係るパチンコ機の主制御基板における特別領域検出時処理の概略を示すフローチャートである。
第2形態に係るパチンコ機の主制御基板における特別図柄変動開始処理の概略を示すフローチャートである。
第2形態に係るパチンコ機の主制御基板における当否判定処理の概略を示すフローチャートである。
第2形態に係るパチンコ機の主制御基板における特別図柄変動停止処理の概略を示すフローチャートである。
第2形態に係るパチンコ機の主制御基板における停止表示時遊技状態設定処理の概略を示すフローチャートである。
第2形態に係るパチンコ機の主制御基板における停止後処理の概略を示すフローチャートである。
第2形態に係るパチンコ機の主制御基板における小当たり遊技制御処理の概略を示すフローチャートである。
第2形態に係るパチンコ機の主制御基板における特別遊技終了処理の概略を示すフローチャートである。
第2形態に係るパチンコ機の変動演出の態様の一例を示す図である。
第3形態に係るパチンコ機の各種設定内容を説明する図である。
第3形態に係るパチンコ機の各種設定内容を説明する図である。
第3形態に係るパチンコ機の主制御基板における特別図柄変動停止処理の概略を示すフローチャートである。
第3形態に係るパチンコ機の主制御基板における残変動回数更新処理の概略を示すフローチャートである。
第3形態に係るパチンコ機の主制御基板における残小当たり回数更新処理の概略を示すフローチャートである。
第3形態に係るパチンコ機の主制御基板における遊技状態制御処理の概略を示すフローチャートである。
【発明を実施するための形態】
【0009】
(第1形態)
以下、本発明の第1形態を、図面を参照しつつ説明する。
(パチンコ機Pの外部構成)
本形態に係る遊技機は、遊技媒体として遊技球を使用するパチンコ機Pである。特に図示していないが、パチンコ機Pが設置される遊技場においては、島と呼ばれる遊技機の設置領域に、複数台のパチンコ機Pが並べて配設されるとともに、遊技球を貸し出すための遊技球貸出装置が各パチンコ機Pに隣接して設置される。また、各パチンコ機Pは対応する遊技球貸出装置Rに接続されている。
遊技球貸出装置Rは、紙幣の投入や遊技球の貸し出しに必要な価値情報が記憶される記憶媒体(カード)の挿入が可能となっている。そして、遊技球貸出装置Rに紙幣を投入(又は、カードを挿入)した上で、パチンコ機Pに対して所定の操作を行うことにより、遊技球貸出装置Rから遊技球の貸し出しを受けることができるようになっている。
【0010】
本形態に係るパチンコ機Pは、図1又は図2に示すように、島に固定される四角形状の枠体であって、中空部(特に図示しておらず)を有する機枠1と、この機枠1にヒンジ機構(特に図示しておらず)により開閉自在に取り付けられる四角形状の枠体であって、中空部(特に図示しておらず)を有する本体枠2と、この本体枠2にヒンジ機構(特に図示しておらず)により開閉自在に取り付けられ、正面に開口部(特に図示しておらず)が形成された前扉3と、を備えている。
(【0011】以降は省略されています)
この特許をJ-PlatPat(特許庁公式サイト)で参照する
関連特許
株式会社平和
遊技機
5日前
株式会社平和
遊技機
2か月前
株式会社平和
遊技機
2か月前
株式会社平和
遊技機
2か月前
株式会社平和
遊技機
2か月前
株式会社平和
遊技機
2か月前
株式会社平和
遊技機
2か月前
株式会社平和
遊技機
2か月前
株式会社平和
遊技機
2か月前
株式会社平和
遊技機
2か月前
株式会社平和
遊技機
2か月前
株式会社平和
遊技機
1か月前
株式会社平和
遊技機
2か月前
株式会社平和
遊技機
2か月前
株式会社平和
遊技機
2か月前
株式会社平和
遊技機
2か月前
株式会社平和
遊技機
2か月前
株式会社平和
遊技機
2か月前
株式会社平和
遊技機
2か月前
株式会社平和
遊技機
2か月前
株式会社平和
遊技機
1か月前
株式会社平和
遊技機
1か月前
株式会社平和
遊技機
5日前
株式会社平和
遊技機
1か月前
株式会社平和
遊技機
10日前
株式会社平和
遊技機
12日前
株式会社平和
遊技機
12日前
株式会社平和
遊技機
16日前
株式会社平和
遊技機
16日前
株式会社平和
遊技機
16日前
株式会社平和
遊技機
17日前
株式会社平和
遊技機
17日前
株式会社平和
遊技機
1か月前
株式会社平和
遊技機
1か月前
株式会社平和
遊技機
1か月前
株式会社平和
遊技機
1か月前
続きを見る
他の特許を見る