TOP
|
特許
|
意匠
|
商標
特許ウォッチ
Twitter
他の特許を見る
10個以上の画像は省略されています。
公開番号
2025145346
公報種別
公開特許公報(A)
公開日
2025-10-03
出願番号
2024045466
出願日
2024-03-21
発明の名称
遊技機
出願人
株式会社平和
代理人
個人
,
個人
主分類
A63F
7/02 20060101AFI20250926BHJP(スポーツ;ゲーム;娯楽)
要約
【課題】 演出効果を向上する。
【解決手段】 パチンコ機1は、第1のトラックに割り当てられた第1の音声データの音量に基づいて、第2のトラックに割り当てられた第2の音声データの音量を調整することが可能な演出制御基板300を備えている。特に、一のトラックに割り当てられた音声データについて、複数のトラックに基づく音量の調整の対象となる場合、当該複数のトラックについて算出された調整量(ダッキング量)のうち、最大の調整量が、当該一のトラックに割り当てられた音声データの音量の調整量とされる。
【選択図】 図52
特許請求の範囲
【請求項1】
第1のトラックに割り当てられた第1の音声データの音量に基づいて、第2のトラックに割り当てられた第2の音声データの音量を調整することが可能な制御手段を備え、
一のトラックに割り当てられた音声データについて、複数のトラックに基づく音量の調整の対象となる場合、当該複数のトラックについて算出された調整量のうち、最大の調整量が、当該一のトラックに割り当てられた音声データの音量の調整量とされることを特徴とする遊技機。
発明の詳細な説明
【技術分野】
【0001】
本発明は、演出音を再生することが可能な遊技機に関する。
続きを表示(約 3,200 文字)
【背景技術】
【0002】
従来、演出音を再生することが可能な遊技機が知られている(特許文献1参照)。この遊技機では、一のオーディオバスに割り当てられた音声データの音量に基づいて、他のオーディオバスに割り当てられた音声データの音量を調整することが可能となっている。
【先行技術文献】
【特許文献】
【0003】
特開2021-132831号公報
【発明の概要】
【発明が解決しようとする課題】
【0004】
しかしながら、従来の遊技機では、オーディオバス単位で音量の調整が行われるため、演出効果を向上することが困難となる恐れがある。
本発明の課題は、演出効果を向上することにある。
【課題を解決するための手段】
【0005】
上記目的を達成するために、第一の発明に係る遊技機は、第1のトラックに割り当てられた第1の音声データの音量に基づいて、第2のトラックに割り当てられた第2の音声データの音量を調整することが可能な制御手段を備え、一のトラックに割り当てられた音声データについて、複数のトラックに基づく音量の調整の対象となる場合、当該複数のトラックについて算出された調整量のうち、最大の調整量が、当該一のトラックに割り当てられた音声データの音量の調整量とされることを特徴とする。
第一の発明に係る遊技機では、第1のトラックに割り当てられた第1の音声データの音量に基づいて、第2のトラックに割り当てられた第2の音声データの音量を調整することが可能となっている。これによって、音声データ単位(トラック単位)で音量の調整を行うことが可能となり、オーディオバス単位で音量の調整を行う場合と比較して、細かい調整を行うことが可能となり、演出効果を向上することが可能となる。
特に、第一の発明に係る遊技機では、一のトラックに割り当てられた音声データについて、複数のトラックに基づく音量の調整の対象となる場合、当該複数のトラックについて算出された調整量のうち、最大の調整量が、当該一のトラックに割り当てられた音声データの音量の調整量とされる。これによって、一のトラックを対象とする音量の調整が重複した場合であっても、適切な音量の調整を行うことが可能となる。
【発明の効果】
【0006】
本発明によれば、演出効果を向上することが可能となる。
【図面の簡単な説明】
【0007】
パチンコ機の全体構成を示す斜視図である。
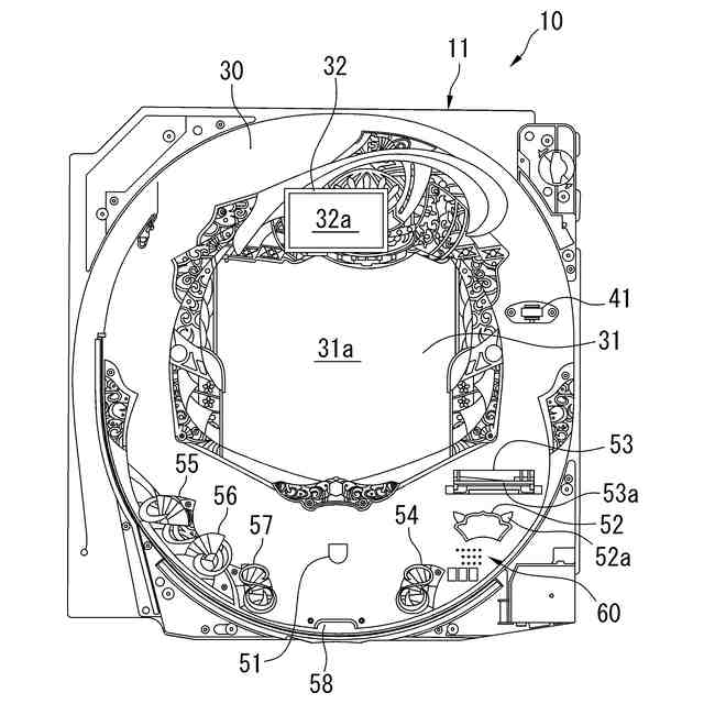
遊技盤の正面を示し、特に説明に必要な部分を模式的に示した図である。
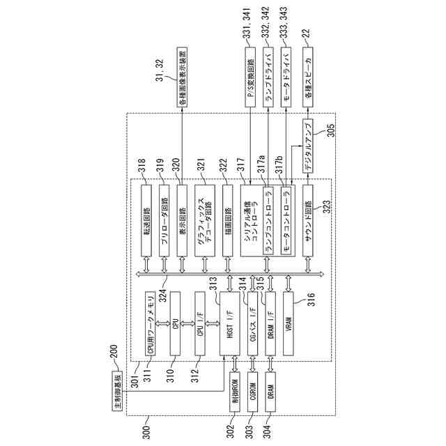
パチンコ機の制御系の構成を示すブロック図である。
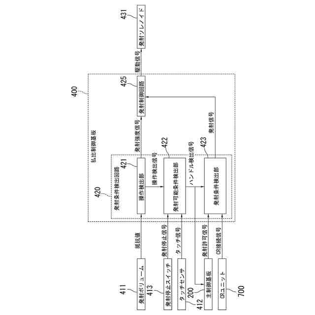
発射条件検出回路及び発射制御回路の構成を示すブロック図である。
演出制御基板の構成を示すブロック図である。
CPU210が使用するメモリ領域のアドレスマップである。
CPU初期化処理を示すフローチャートである。
メインループ処理を示すフローチャートである。
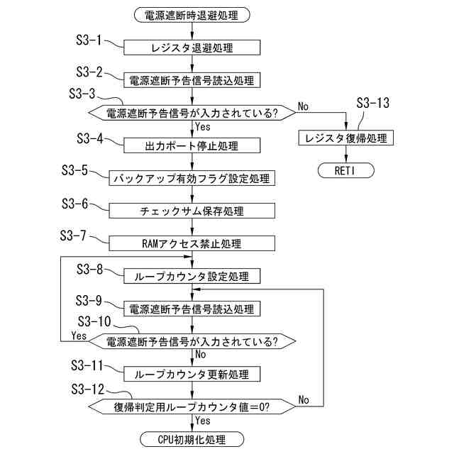
電源遮断時退避処理を示すフローチャートである。
タイマ割込み処理を示すフローチャートである。
ダイナミックポート出力処理を示すフローチャートである。
性能表示装置出力処理を示すフローチャートである。
設定関連処理を示すフローチャートである。
スイッチ管理処理を示すフローチャートである。
普図始動球検出処理を示すフローチャートである。
特図1始動球検出処理を示すフローチャートである。
特図2始動球検出処理を示すフローチャートである。
特別図柄乱数取得処理を示すフローチャートである。
特別遊技管理処理を示すフローチャートである。
特図変動待ち処理を示すフローチャートである。
特図変動中処理を示すフローチャートである。
特図停止中処理を示すフローチャートである。
大入賞口開放前処理を示すフローチャートである。
特別電役開閉切替処理を示すフローチャートである。
大入賞口開放制御処理を示すフローチャートである。
大入賞口閉鎖有効処理を示すフローチャートである。
大入賞口開放終了ウェイト処理を示すフローチャートである。
普通遊技管理処理を示すフローチャートである。
普図変動待ち処理を示すフローチャートである。
普図変動中処理を示すフローチャートである。
普図停止中処理を示すフローチャートである。
普通電動役物開放前処理を示すフローチャートである。
普通電役開閉切替処理を示すフローチャートである。
普通電動役物開放制御処理を示すフローチャートである。
普通電動役物閉鎖有効処理を示すフローチャートである。
普通電動役物開放終了ウェイト処理を示すフローチャートである。
性能表示装置制御処理を示すフローチャートである。
初期転送処理を示すフローチャートである。
サブタイマ割込み処理を示すフローチャートである。
コマンド解析処理を示すフローチャートである。
保留コマンド受信処理を示すフローチャートである。
先読みコマンド受信処理を示すフローチャートである。
変動コマンド受信処理を示すフローチャートである。
停止コマンド受信処理を示すフローチャートである。
オープニングコマンド受信処理を示すフローチャートである。
Vsync割込み処理を示すフローチャートである。
コマンド構築タスク処理を示すフローチャートである。
サウンド割込み処理を示すフローチャートである。
ランプ割込み処理を示すフローチャートである。
可動体割込み処理を示すフローチャートである。
サウンド回路の構成を示すブロック図である。
音声データAに対応する音量ピーク値情報を示す図である。
トラックダッキング機能を説明する図である。
【発明を実施するための形態】
【0008】
以下、本発明の実施形態について図面を参照しながら説明する。
本実施形態では、本発明に係る遊技機を、パチンコ機1に適用している。
【0009】
(パチンコ機1の全体構成)
まず、パチンコ機1の全体構成を説明する。
図1は、パチンコ機の全体構成を示す斜視図である。パチンコ機1は、外枠ユニット2と、内枠ユニット3と、一体扉ユニット4と、遊技盤ユニット10と、を含んで構成されている。
外枠ユニット2、内枠ユニット3及び一体扉ユニット4は、ヒンジ機構を介して、互いに固定されている。これによって、内枠ユニット3は、外枠ユニット2に対して開閉することが可能となっている。また、一体扉ユニット4は、内枠ユニット3及び外枠ユニット2のそれぞれに対して開閉することが可能となっている。
【0010】
外枠ユニット2は、矩形の枠体(外枠)を含んで構成されている。そして、外枠ユニット2が備える外枠は、遊技場の島設備に対して固定される。
内枠ユニット3は、矩形の枠体(内枠)を含んで構成されている。内枠ユニット3は、外枠ユニット2の内側に配置される。
一体扉ユニット4は、矩形の扉状に形成されている。一体扉ユニット4は、略中央部に配設された透明板4aと、透明板4aの周囲に配設された装飾部4bと、透明板4aの下側に配設された受皿ユニット5と、受皿ユニット5の側方に配設された発射ハンドルユニット6と、を有している。
(【0011】以降は省略されています)
この特許をJ-PlatPat(特許庁公式サイト)で参照する
関連特許
株式会社平和
遊技機
1日前
株式会社平和
遊技機
23日前
株式会社平和
遊技機
1か月前
株式会社平和
遊技機
1か月前
株式会社平和
遊技機
1か月前
株式会社平和
遊技機
1か月前
株式会社平和
遊技機
1か月前
株式会社平和
遊技機
1か月前
株式会社平和
遊技機
1か月前
株式会社平和
遊技機
25日前
株式会社平和
遊技機
16日前
株式会社平和
遊技機
1日前
株式会社平和
遊技機
16日前
株式会社平和
遊技機
15日前
株式会社平和
遊技機
15日前
株式会社平和
遊技機
15日前
株式会社平和
遊技機
15日前
株式会社平和
遊技機
2日前
株式会社平和
遊技機
2日前
株式会社平和
遊技機
1日前
株式会社平和
遊技機
1か月前
株式会社平和
遊技機
5日前
個人
玩具
22日前
個人
玩具
3か月前
個人
自走玩具
15日前
個人
運動補助具
2か月前
個人
ゲーム玩具
4か月前
株式会社三共
遊技機
3か月前
株式会社三共
遊技機
3か月前
株式会社三共
遊技機
3か月前
株式会社三共
遊技機
3か月前
株式会社三共
遊技機
3か月前
株式会社三共
遊技機
6か月前
株式会社三共
遊技機
3か月前
株式会社三共
遊技機
3か月前
株式会社三共
遊技機
3か月前
続きを見る
他の特許を見る