TOP
|
特許
|
意匠
|
商標
特許ウォッチ
Twitter
他の特許を見る
10個以上の画像は省略されています。
公開番号
2025151546
公報種別
公開特許公報(A)
公開日
2025-10-09
出願番号
2024053038
出願日
2024-03-28
発明の名称
遊技機
出願人
株式会社平和
代理人
個人
,
個人
主分類
A63F
7/02 20060101AFI20251002BHJP(スポーツ;ゲーム;娯楽)
要約
【課題】 強度の低下を抑制しつつ、演出性を向上する。
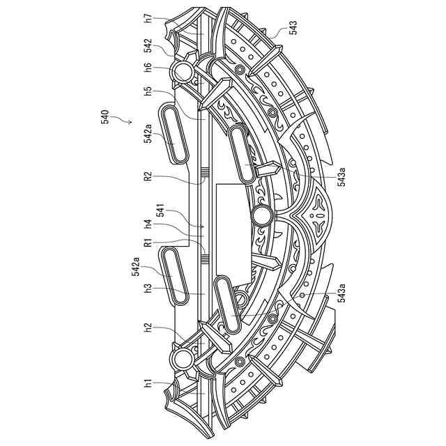
【解決手段】 パチンコ機1では、光透過性を有する材料からなり、第3レンズ挿入孔h3と、第4レンズ挿入孔h4と、第3レンズ挿入孔h3と第4レンズ挿入孔h4との間に設けられたリブR1と、を含んでなる正面側ケース部材540と、第3レンズ挿入孔h3に挿入される第3レンズ部L3と、第4レンズ挿入孔h4に挿入される第4レンズ部L4と、正面側ケース部材540の背面側に設けられた発光素子572と、を備えている。また、正面側ケース部材540は、塗装が施されている塗装部と、塗装が施されていない非塗装部と、を有している。そして、リブR1は、非塗装部に含まれる。
【選択図】 図48
特許請求の範囲
【請求項1】
光透過性を有する材料からなり、第1の孔部と、第2の孔部と、前記第1の孔部と前記第2の孔部との間に設けられたリブと、を含んでなるベース部と、
前記第1の孔部に挿入される第1のレンズ部と、
前記第2の孔部に挿入される第2のレンズ部と、
前記ベース部の背面側に設けられた発光部と、を備え、
前記ベース部は、塗装が施されている塗装部と、塗装が施されていない非塗装部と、を有し、
前記リブは、前記非塗装部に含まれることを特徴とする遊技機。
続きを表示(約 84 文字)
【請求項2】
前記第1のレンズ部、前記第2のレンズ部、及び、前記リブにおいて、共通のレンズカットが施されていることを特徴とする請求項1に記載の遊技機。
発明の詳細な説明
【技術分野】
【0001】
本発明は、発光演出を行うことが可能な演出部材を備える遊技機に関する。
続きを表示(約 3,600 文字)
【背景技術】
【0002】
従来、発光演出を行うことが可能な演出部材を備える遊技機が知られている(特許文献1参照)。この遊技機では、所定方向に沿って並ぶ複数のランプを含んでなる演出部材を備えている。
【先行技術文献】
【特許文献】
【0003】
特開2015-196069号公報
【発明の概要】
【発明が解決しようとする課題】
【0004】
しかしながら、従来の遊技機では、強度の低下を抑制しつつ、演出性を向上することが困難となっている。
本発明の課題は、強度の低下を抑制しつつ、演出性を向上することにある。
【課題を解決するための手段】
【0005】
上記目的を達成するために、第一の発明に係る遊技機は、光透過性を有する材料からなり、第1の孔部と、第2の孔部と、前記第1の孔部と前記第2の孔部との間に設けられたリブと、を含んでなるベース部と、前記第1の孔部に挿入される第1のレンズ部と、前記第2の孔部に挿入される第2のレンズ部と、前記ベース部の背面側に設けられた発光部と、を備え、前記ベース部は、塗装が施されている塗装部と、塗装が施されていない非塗装部と、を有し、前記リブは、前記非塗装部に含まれることを特徴とする。
第一の発明に係る遊技機では、第1の孔部と、第2の孔部と、の間において、リブが設けられている。これによって、ベース部の強度の低下を抑制することが可能となり、ベース部に撓みが発生する事態を抑制することが可能となる。
また、第一の発明に係る遊技機では、ベース部が、光透過性を有する材料から構成されている。その上で、第1の孔部と第2の孔部との間に設けられているリブについて、塗装が施されていない。これによって、第1の孔部に挿入された第1のレンズ部、リブ、及び、第2の孔部に挿入された第2のレンズ部について、一体(一連)のレンズとして発光演出を行うことが可能となり、演出性を向上することが可能となる。
以上により、第一の発明に係る遊技機では、強度の低下を抑制しつつ、演出性を向上することが可能となる。
【0006】
第二の発明に係る遊技機は、第一の発明に係る遊技機において、前記第1のレンズ部、前記第2のレンズ部、及び、前記リブにおいて、共通のレンズカットが施されていることを特徴とする。
第二の発明に係る遊技機では、第1のレンズ部、リブ、及び、第2のレンズ部について、一体(一連)のレンズとして認識される可能性を向上することが可能となり、演出性を更に向上することが可能となる。
【発明の効果】
【0007】
本発明によれば、強度の低下を抑制しつつ、演出性を向上することが可能となる。
【図面の簡単な説明】
【0008】
パチンコ機の全体構成を示す斜視図である。
遊技盤の正面を示し、特に説明に必要な部分を模式的に示した図である。
パチンコ機の制御系の構成を示すブロック図である。
各種抽選の当選確率を示す図である。
普通図柄抽選の当選種別を示す図である。
特別図柄抽選の当選種別を示す図である。
遊技状態の遷移を示す図である。
CPU初期化処理を示すフローチャートである。
メインループ処理を示すフローチャートである。
電源遮断時退避処理を示すフローチャートである。
タイマ割込み処理を示すフローチャートである。
ダイナミックポート出力処理を示すフローチャートである。
性能表示装置出力処理を示すフローチャートである。
設定関連処理を示すフローチャートである。
スイッチ管理処理を示すフローチャートである。
普図始動球検出処理を示すフローチャートである。
特図1始動球検出処理を示すフローチャートである。
特図2始動球検出処理を示すフローチャートである。
特別図柄乱数取得処理を示すフローチャートである。
特別遊技管理処理を示すフローチャートである。
特図変動待ち処理を示すフローチャートである。
特図変動中処理を示すフローチャートである。
第1回数切り管理処理を示すフローチャートである。
第2回数切り管理処理を示すフローチャートである。
第3回数切り管理処理を示すフローチャートである。
確変管理処理を示すフローチャートである。
特図停止中処理を示すフローチャートである。
大入賞口開放前処理を示すフローチャートである。
大入賞口開放制御処理を示すフローチャートである。
大入賞口閉鎖有効処理を示すフローチャートである。
大入賞口開放終了ウェイト処理を示すフローチャートである。
特別電役開閉切替処理を示すフローチャートである。
普通遊技管理処理を示すフローチャートである。
普図変動待ち処理を示すフローチャートである。
普図変動中処理を示すフローチャートである。
普図停止中処理を示すフローチャートである。
普通電動役物開放前処理を示すフローチャートである。
普通電役開閉切替処理を示すフローチャートである。
普通電動役物開放制御処理を示すフローチャートである。
普通電動役物閉鎖有効処理を示すフローチャートである。
普通電動役物開放終了ウェイト処理を示すフローチャートである。
性能表示装置制御処理を示すフローチャートである。
一対の可動部材520,530が閉鎖位置に配置されている状態の可動体ユニット500の正面図である。
一対の可動部材520,530が開放位置に配置されている状態の可動体ユニット500の正面図である。
可動体ユニット500の側面図である。
一対の可動部材520,530を取り外した状態の可動体ユニット500の正面図である。
一対の可動部材520,530を取り外した状態の可動体ユニット500の分解斜視図である。
正面側ケース部材540の正面図である。
導光板560の正面図である。
LED基板570の正面図である。
【発明を実施するための形態】
【0009】
以下、本発明の実施形態について図面を参照しながら説明する。
本実施形態では、本発明に係る遊技機を、パチンコ機1に適用している。
【0010】
(パチンコ機1の全体構成)
まず、パチンコ機1の全体構成を説明する。
図1は、パチンコ機の全体構成を示す斜視図である。
パチンコ機1は、外枠ユニット2と、内枠ユニット3と、前枠ユニット4と、遊技盤ユニット10と、を含んで構成されている。
外枠ユニット2、内枠ユニット3及び前枠ユニット4は、ヒンジ機構を介して、互いに固定されている。これによって、内枠ユニット3は、外枠ユニット2に対して開閉することが可能となっている。また、前枠ユニット4は、内枠ユニット3及び外枠ユニット2のそれぞれに対して開閉することが可能となっている。
外枠ユニット2は、矩形の枠体(外枠)を含んで構成されている。そして、外枠ユニット2が備える外枠は、遊技場の島設備に対して固定される。
内枠ユニット3は、矩形の枠体(内枠)を含んで構成されている。内枠ユニット3は、外枠ユニット2の内側に配置される。
前枠ユニット4は、矩形の扉状に形成されている。扉ユニット4は、略中央部に配設された透明板4aと、透明板4aの周囲に配設された装飾部4bと、透明板4aの下側に配設された受皿ユニット5と、受皿ユニット5の側方に配設された発射ハンドル6と、を有している。
透明板4aは、樹脂、ガラス等の透明な材料により平板状に形成されている。装飾部4bは、透明又は半透明の樹脂材料により形成され、前方に向かって膨出する形状を有している。装飾部4bの上側の各角部には、その内部にスピーカ22(図3参照)が配設された音抜部4cが設けられている。各音抜部4cには、スピーカ22が出力する音声を通過させる複数の音抜孔が設けられている。また、装飾部4bには、枠ランプ20(図3参照)が配設されている。枠ランプ20は、ダイナミック点灯制御により駆動される複数の発光素子(LED)を含んで構成されている。
(【0011】以降は省略されています)
この特許をJ-PlatPat(特許庁公式サイト)で参照する
関連特許
株式会社平和
遊技機
2日前
株式会社平和
遊技機
2か月前
株式会社平和
遊技機
1か月前
株式会社平和
遊技機
1か月前
株式会社平和
遊技機
1か月前
株式会社平和
遊技機
1か月前
株式会社平和
遊技機
2か月前
株式会社平和
遊技機
2か月前
株式会社平和
遊技機
2か月前
株式会社平和
遊技機
2か月前
株式会社平和
遊技機
2か月前
株式会社平和
遊技機
2か月前
株式会社平和
遊技機
2日前
株式会社平和
遊技機
2か月前
株式会社平和
遊技機
2か月前
株式会社平和
遊技機
2か月前
株式会社平和
遊技機
3か月前
株式会社平和
遊技機
3か月前
株式会社平和
遊技機
3か月前
株式会社平和
遊技機
3か月前
株式会社平和
遊技機
3か月前
株式会社平和
遊技機
3か月前
株式会社平和
遊技機
3か月前
株式会社平和
遊技機
1か月前
株式会社平和
遊技機
1か月前
株式会社平和
遊技機
1か月前
株式会社平和
遊技機
1か月前
株式会社平和
遊技機
2日前
株式会社平和
遊技機
2日前
株式会社平和
遊技機
2日前
株式会社平和
遊技機
10日前
株式会社平和
遊技機
10日前
株式会社平和
遊技機
24日前
株式会社平和
遊技機
26日前
株式会社平和
遊技機
1か月前
株式会社平和
遊技機
1か月前
続きを見る
他の特許を見る