TOP
|
特許
|
意匠
|
商標
特許ウォッチ
Twitter
他の特許を見る
10個以上の画像は省略されています。
公開番号
2025162943
公報種別
公開特許公報(A)
公開日
2025-10-28
出願番号
2024097137
出願日
2024-06-17
発明の名称
画像撮像モジュール及び携帯電子装置
出願人
海華科技股分有限公司
代理人
個人
主分類
H04N
25/70 20230101AFI20251021BHJP(電気通信技術)
要約
【課題】本発明は、全体的な厚さを減少させるための画像撮像モジュール及び携帯電子装置を提供する。
【解決手段】画像撮像モジュールは、回路基板、画像感知チップ、絶縁性接続構造体及びレンズ組立体を含む。画像感知チップは回路基板の貫通口内に設置され、複数の金属ワイヤを通じて電気的に回路基板に接続される。絶縁性接続構造体は回路基板の貫通口内に設置され、画像感知チップと回路基板との間に接続される。レンズ組立体は、回路基板上に設置されたレンズキャリアと、レンズキャリアによってキャリアされるレンズモジュールを含む。これにより、画像感知チップは回路基板に接触しない状態で、絶縁性接続構造体の接続により回路基板の貫通口内に確実に固定され、画像撮像モジュールの全体的な厚さを減少させる。
【選択図】図6
特許請求の範囲
【請求項1】
上面、下面、および前記上面と前記下面との間を接続する貫通口を有する、回路基板と、
前記回路基板の前記貫通口内に配置され、複数の金属ワイヤを介して前記回路基板に電気的に接続される、画像感知チップと、
前記回路基板の前記貫通口内に配置され、前記画像感知チップと前記回路基板とに接続される、絶縁性接続構造体と、
前記回路基板に配置されたレンズキャリア、および前記レンズキャリアにより支持されるレンズモジュールを含む、レンズ組立体と、
を備える、全体の厚みを低減するための画像撮像モジュールであって、
前記画像感知チップの上面は、前記レンズモジュールに対応する画像検知領域を有し、
前記画像感知チップの下面は外に露出しており、前記絶縁性接続構造体により覆われておらず、
前記画像撮像モジュールは更にフィルター素子を含み、前記フィルター素子は複数の支持体または囲繞支持体により支持され前記画像感知チップの上方に配置され、前記フィルター素子は複数の前記金属ワイヤにより囲まれている、
ことを特徴とする、画像撮像モジュール。
続きを表示(約 5,500 文字)
【請求項2】
前記回路基板の前記上面は複数の基板導電性パッドを有し、前記画像感知チップの前記上面は複数のチップ導電性パッドを有し、且つ前記画像感知チップの複数の前記チップ導電性パッドはそれぞれ複数の前記金属ワイヤを介してそれぞれ前記回路基板の複数の前記基板導電性パッドに電気的に接続され、
前記絶縁性接続構造体は前記画像感知チップの外囲面および前記回路基板の前記貫通口の内囲面に緊密に接続され、
前記回路基板における前記貫通口の前記内囲面は粗化囲面に配置され、これにより前記絶縁性接続構造体と前記回路基板の間の接着力または接触面積を増加させ、
前記画像感知チップの前記外囲面の全部または一部は前記絶縁性接続構造体により覆われ、これにより前記絶縁性接続構造体と前記画像感知チップの両者間の接着力または接触面積を調整し、
前記絶縁性接続構造体の厚さは前記画像感知チップの厚さ以下且つ前記回路基板の厚さ以下であり、
前記絶縁性接続構造体は外に露出して遮蔽されていない下囲面を有し、且つ前記絶縁性接続構造体の前記下囲面、前記回路基板の前記下面および前記画像感知チップの前記下面は互いに揃えるように構成され、
前記絶縁性接続構造体の前記下囲面は仮設キャリア基板から分離後に生成されたゲル体離し痕跡を有し、
前記絶縁性接続構造体の前記下囲面は加熱モジュールにより生成された熱源加熱後に生成されたゲル体変形痕跡を有し、
前記絶縁性接続構造体は前記回路基板の前記上面に延伸する延伸接続部を有し、これにより前記絶縁性接続構造体と前記回路基板との間の接着力または接触面積を増加させる、請求項1に記載の画像撮像モジュール。
【請求項3】
前記絶縁性接続構造体は底端囲み絶縁層、および前記底端囲み絶縁層に接続された頂端囲み絶縁層を含み、且つ、前記底端囲み絶縁層および前記頂端囲み絶縁層は両方とも前記回路基板の前記貫通口内に配置され、前記画像感知チップと前記回路基板との間に接続され、
前記底端囲み絶縁層の厚さは、前記頂端囲み絶縁層の厚さよりも薄く、前記底端囲み絶縁層の粘度は前記頂端囲み絶縁層の粘度よりも低く、且つ前記底端囲み絶縁層の融点は前記頂端囲み絶縁層の融点よりも低いように構成され、
前記底端囲み絶縁層と前記画像感知チップとの間の接着力は前記頂端囲み絶縁層と前記画像感知チップとの間の接着力よりも弱く、且つ前記底端囲み絶縁層と前記回路基板との間の接着力は前記頂端囲み絶縁層と前記回路基板との間の接着力よりも弱いように構成され、
前記回路基板の前記貫通口の前記内囲面は前記頂端囲み絶縁層の粗化囲面に接触するように配置され、これにより前記頂端囲み絶縁層と前記回路基板との間の接着力または接触面積を増加させ、
前記絶縁性接続構造体は外に露出して遮蔽されていない下囲面を有し、且つ前記絶縁性接続構造体の前記下囲面、前記回路基板の前記下面および前記画像感知チップの前記下面は互いに切り揃えるように構成され、
前記底端囲み絶縁層の前記下囲面は仮設キャリア基板から分離後に生成されたゲル体離し痕跡を有し、
前記底端囲み絶縁層の前記下囲面は加熱モジュールにより生成された熱源で加熱後に生成されたゲル体変形痕跡を有し、
前記絶縁性接続構造体の前記頂端囲み絶縁層は前記回路基板の前記上面に延伸する延伸接続部を有し、これにより前記絶縁性接続構造体と前記回路基板との間の接着力または接触面積を増加させる、請求項1に記載の画像撮像モジュール。
【請求項4】
前記絶縁性接続構造体は露出されており、遮蔽されていない下囲面を有し、前記絶縁性接続構造体の前記下囲面と前記回路基板の前記下面との間には所定の垂直高さを有し、これにより前記回路基板、前記画像感知チップ及び前記絶縁性接続構造体の間に囲繞空きスペースが形成され、
前記絶縁性接続構造体は前記画像感知チップの外囲面及び前記回路基板の前記貫通口の内囲面の間に緊密に接続されており、且つ、前記絶縁性接続構造体の前記下囲面、前記回路基板の前記貫通口の前記内囲面の一部及び前記画像感知チップの前記外囲面の一部は前記回路基板の前記貫通口の底端から露出され、
前記絶縁性接続構造体は前記回路基板の前記上面に延伸する延伸接続部を有し、これにより前記絶縁性接続構造体と前記回路基板との間の接着力または接触面積を増加させる、請求項1に記載の画像撮像モジュール。
【請求項5】
上面、下面、及び前記上面と前記下面の間に接続される貫通口を有する、回路基板と、
前記回路基板の前記貫通口内に設置され、且つ複数の金属ワイヤを介して前記回路基板に電気的に接続される、画像感知チップと、
前記回路基板の前記貫通口内に設置され、且つ前記画像感知チップと前記回路基板との間に接続される、絶縁性接続構造体と、
前記回路基板上に設置されるレンズキャリア、及び前記レンズキャリアに搭載されるレンズモジュールを含む、レンズ組立体と、
を備える、全体の厚みを低減するための画像撮像モジュールであって、
前記画像感知チップの上面は前記レンズモジュールに対応する画像検知領域を有し、
前記画像感知チップの下面は露出されており、且つ前記絶縁性接続構造体により覆われていない、ことを特徴とする画像撮像モジュール。
【請求項6】
前記回路基板の前記上面は複数の基板導電性パッドを有し、前記画像感知チップの前記上面は複数のチップ導電性パッドを有し、且つ前記画像感知チップの複数の前記チップ導電性パッドはそれぞれ複数の前記金属ワイヤを介して、それぞれ前記回路基板の複数の前記基板導電性パッドに電気的に接続され、
前記絶縁性接続構造体は前記画像感知チップの外囲面及び前記回路基板の前記貫通口の内囲面の間に緊密に接続され、
前記回路基板の前記貫通口の前記内囲面は粗化囲面として構成されており、これにより前記絶縁性接続構造体と前記回路基板の両者間の接着力または接触面積を増加させ、
前記画像感知チップの前記外囲面の全部または一部は前記絶縁性接続構造体により覆われ、これにより前記絶縁性接続構造体と前記画像感知チップの両者間の接着力または接触面積を調整し、
前記絶縁性接続構造体の厚さは前記画像感知チップの厚さ以下であり、且つ前記回路基板の厚さ以下であり、
前記絶縁性接続構造体は露出されており、遮蔽されていない下囲面を有し、且つ前記絶縁性接続構造体の前記下囲面、前記回路基板の前記下面及び前記画像感知チップの前記下面は相互に一致し、
前記絶縁性接続構造体の前記下囲面は仮設キャリア基板から分離された後に生じたゲル体離し痕跡を有し、
前記絶縁性接続構造体の前記下囲面は加熱モジュールにより生成された熱源により加熱された後に生じたゲル体変形痕跡を有し、
前記絶縁性接続構造体は前記回路基板の前記上面に延伸する延伸接続部を有し、これにより前記絶縁性接続構造体と前記回路基板の間の接着力または接触面積を増加させる、請求項5に記載の画像撮像モジュール。
【請求項7】
前記絶縁性接続構造体は底端囲み絶縁層、及び前記底端囲み絶縁層に接続された頂端囲み絶縁層を含み、且つ前記底端囲み絶縁層及び前記頂端囲み絶縁層は前記回路基板の前記貫通口内に設置され且つ前記画像感知チップと前記回路基板の間に接続され、
前記底端囲み絶縁層の厚さは前記頂端囲み絶縁層の厚さより小さく、前記底端囲み絶縁層の粘度は前記頂端囲み絶縁層の粘度より小さく、且つ前記底端囲み絶縁層の融点は前記頂端囲み絶縁層の融点より低いように構成され、
前記底端囲み絶縁層と前記画像感知チップの両者間の接着力は前記頂端囲み絶縁層と前記画像感知チップの両者間の接着力より小さく、且つ前記底端囲み絶縁層と前記回路基板の両者間の接着力は前記頂端囲み絶縁層と前記回路基板の両者間の接着力より小さいように構成され、
前記回路基板の前記貫通口の内囲面は前記頂端囲み絶縁層の粗化囲面に接触するように構成されており、これにより前記頂端囲み絶縁層と前記回路基板の両者間の接着力または接触面積を増加させ、
前記絶縁性接続構造体は露出されており、遮蔽されていない下囲面を有し、且つ前記絶縁性接続構造体の前記下囲面、前記回路基板の前記下面及び前記画像感知チップの前記下面は相互に揃えるように構成され、
前記底端囲み絶縁層の前記下囲面は仮設キャリア基板から分離された後に生じたゲル体離し痕跡を有し、
前記底端囲み絶縁層の前記下囲面は、加熱モジュールが生成した熱源により加熱され生じたゲル体変形痕跡を有し、
前記絶縁性接続構造体の前記頂端囲み絶縁層は前記回路基板の前記上面に延伸する延伸接続部を有し、これにより前記絶縁性接続構造体と前記回路基板の間の接着力または接触面積を増加させる、請求項5に記載の画像撮像モジュール。
【請求項8】
前記絶縁性接続構造体は外に露出されており、遮蔽されていない下囲面を有し、且つ、前記絶縁性接続構造体の前記下囲面と前記回路基板の前記下面との間に所定垂直高さを有し、これにより、囲繞空きスペースが、前記回路基板、前記画像感知チップ及び前記絶縁性接続構造体の三者の間に形成され、
前記絶縁性接続構造体は前記画像感知チップの外囲面及び前記回路基板の前記貫通口の内囲面の間に緊密に接続されており、且つ、前記絶縁性接続構造体の前記下囲面、前記回路基板の前記貫通口の前記内囲面の一部分及び前記画像感知チップの前記外囲面の一部分が前記回路基板の前記貫通口の底端から露出されており、
前記絶縁性接続構造体は前記回路基板の前記上面に延伸する延伸接続部を有し、これにより前記絶縁性接続構造体と前記回路基板の間の接着力または接触面積を増加させる、請求項5に記載の画像撮像モジュール。
【請求項9】
画像撮像モジュールを使用する携帯電子装置であって、
前記画像撮像モジュールは、
上面、下面、及び前記上面と前記下面との間に接続する貫通口を有する、回路基板と、
前記回路基板の前記貫通口内に設置され、複数の金属ワイヤを通じて前記回路基板に電気的に接続される、画像感知チップと、
前記回路基板の前記貫通口内に設置され、且つ前記画像感知チップと前記回路基板との間に接続される、絶縁性接続構造体と、
前記回路基板上に設置されたレンズキャリア、及び前記レンズキャリアに支持されたレンズモジュールを含む、レンズ組立体と、
を備え、
前記画像感知チップの上面は前記レンズモジュールに対応する画像検知領域を有し、
前記画像感知チップの下面は露出されており、且つ前記絶縁性接続構造体に覆われていない、
ことを特徴とする携帯電子装置。
【請求項10】
前記回路基板の前記上面は複数の基板導電性パッドを有し、前記画像感知チップの前記上面は複数のチップ導電性パッドを有し、且つ前記画像感知チップの複数の前記チップ導電性パッドはそれぞれ複数の前記金属ワイヤを介して、それぞれ前記回路基板の複数の前記基板導電性パッドに電気的に接続され、
前記絶縁性接続構造体は前記画像感知チップの外囲面及び前記回路基板の前記貫通口の内囲面の間に緊密に接続され、
前記回路基板の前記貫通口の前記内囲面は粗化囲面として構成されており、これにより前記絶縁性接続構造体と前記回路基板の両者間の接着力または接触面積を増加させ、
前記画像感知チップの前記外囲面の全部または一部は前記絶縁性接続構造体により覆われ、これにより前記絶縁性接続構造体と前記画像感知チップの両者間の接着力または接触面積を調整し、
前記絶縁性接続構造体の厚さは前記画像感知チップの厚さ以下であり、且つ前記回路基板の厚さ以下であり、
前記絶縁性接続構造体は露出されており、遮蔽されていない下囲面を有し、且つ前記絶縁性接続構造体の前記下囲面、前記回路基板の前記下面及び前記画像感知チップの前記下面は相互に一致し、
前記絶縁性接続構造体の前記下囲面は仮設キャリア基板から分離された後に生じたゲル体離し痕跡を有し、
前記絶縁性接続構造体の前記下囲面は加熱モジュールにより生成された熱源により加熱された後に生じたゲル体変形痕跡を有し、
前記絶縁性接続構造体は前記回路基板の前記上面に延伸する延伸接続部を有し、これにより前記絶縁性接続構造体と前記回路基板の間の接着力または接触面積を増加させ、
前記画像撮像モジュールは更にフィルター素子を含み、前記フィルター素子は複数の支持体または囲繞支持体により支持され前記画像感知チップの上方に配置され、前記フィルター素子は複数の前記金属ワイヤにより囲まれている、
、請求項9に記載の携帯電子装置。
発明の詳細な説明
【技術分野】
【0001】
本発明は、画像撮像モジュールに関し、特に全体的な厚さを低減するための画像撮像モジュール及びその画像撮像モジュールを使用した携帯電子装置に関する。
続きを表示(約 3,500 文字)
【背景技術】
【0002】
既存技術において、画像撮像モジュールの画像感知チップは、開口部のない回路基板の頂端にワイヤボンディング(wire bonding)方式で設置されることがある。また、画像撮像モジュールの画像感知チップは、開口部を持つ回路基板の底端にフリップチップボンディング(flip-chip bonding)方式で設置されることもある。しかし、既存の画像撮像モジュールには改善の余地が残っている。
【発明の概要】
【発明が解決しようとする課題】
【0003】
本発明は、既存技術の不足を改善又は解決することを課題とし、全体的な厚さを低減する画像撮像モジュール及びその画像撮像モジュールを使用した携帯電子装置を提供する。
【課題を解決するための手段】
【0004】
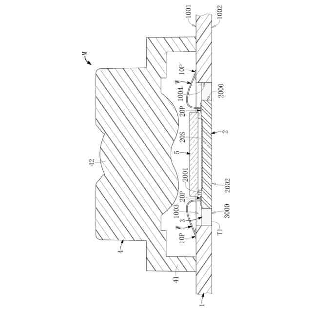
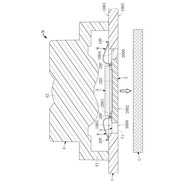
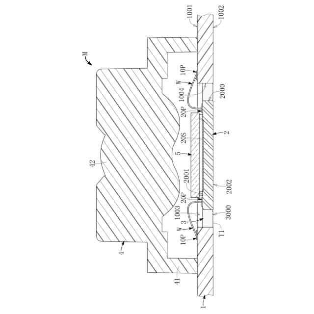
上述課題を改善または解決するために、本発明が採用する技術手段の1つは、全体的な厚さを低減する画像撮像モジュールを提供することである。画像撮像モジュールには、回路基板、画像感知チップ、絶縁性接続構造体及びレンズ組立体が含まれる。回路基板は、上面、下面及び上下面を連結する貫通口を有する。画像感知チップは回路基板の貫通口内に配置され、複数の金属ワイヤを介して回路基板に電気的に接続される。絶縁性接続構造体は回路基板の貫通口内に配置され、画像感知チップと回路基板との間に接続される。レンズ組立体は回路基板に設置されたレンズキャリアと、レンズキャリアによってキャリアされるレンズモジュールを含む。ここで、画像感知チップの上面にはレンズモジュールに対応する画像検知領域がある。また、画像感知チップの下面は外部に露出しており、絶縁性接続構造体によって覆われていない。さらに、画像撮像モジュールはフィルター素子をさらに含み、フィルター素子は複数の支持体または囲繞支持体によって画像感知チップの上方に設置され、複数の金属ワイヤによって囲まれている。
【0005】
上述課題を改善または解決するため、本発明が採用する別の技術手段は、全体的な厚さを低減するための画像撮像モジュールを提供することである。画像撮像モジュールには、回路基板、画像感知チップ、絶縁性接続構造体及びレンズ組立体が含まれる。回路基板は、上面、下面及び上下面を連結する貫通口を有する。画像感知チップは回路基板の貫通口内に配置され、複数の金属ワイヤを介して回路基板に電気的に接続される。絶縁性接続構造体は回路基板の貫通口内に配置され、画像感知チップと回路基板との間に接続される。レンズ組立体は回路基板上に設置されたレンズキャリア及びそのレンズキャリアによってキャリアされるレンズモジュールを含む。ここで、画像感知チップの上面にはレンズモジュールに対応する画像検知領域があり、画像感知チップの下面は外部に露出しており、絶縁性接続構造体によって覆われていない。
【0006】
上述課題を改善または解決するため、本発明が採用する別の技術手段は、携帯電子装置を提供することであり、携帯電子装置は画像撮像モジュールを使用するように配置されている。画像撮像モジュールは、回路基板、画像感知チップ、絶縁性接続構造体及びレンズ組立体を含む。回路基板は、上面、下面及び上下面を連結する貫通口を有する。画像感知チップは回路基板の貫通口内に配置され、複数の金属ワイヤを介して回路基板に電気的に接続される。絶縁性接続構造体は回路基板の貫通口内に配置され、画像感知チップと回路基板との間に接続される。レンズ組立体は回路基板上に設置されたレンズキャリア及びそのレンズキャリアによってキャリアされるレンズモジュールを含む。ここで、画像感知チップの上面にはレンズモジュールに対応する画像検知領域があり、画像感知チップの下面は外部に露出しており、絶縁性接続構造体によって覆われていない。
【発明の効果】
【0007】
本発明の1つの有益な効果は、全体の厚みを減少させるために提供された画像撮像モジュールに関連している。この技術的な解決策は、「回路基板が上面、下面、及び上面と下面を結ぶ貫通口を有している」、「画像感知チップが回路基板の貫通口内に配置され、複数の金属ワイヤを介して回路基板に電気的に接続される」及び「絶縁性接続構造体が回路基板の貫通口内に配置され、画像感知チップと回路基板との間に接続される」により、画像感知チップが回路基板に接触せずに絶縁性接続構造体の接続によって回路基板の貫通口内に安定して固定されることが可能であり、これにより画像撮像モジュールの全体的な厚みを低減できる。
【0008】
本発明の特徴と技術的内容をよりよく理解するため、以下の本発明に関する詳細な説明と図面を参照されたい。ただし、提供する図面は参考及び説明のため用いるに過ぎず、本発明を限定するためのものではない。
【図面の簡単な説明】
【0009】
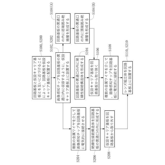
本発明が提供する、全体の厚みを減少させるための画像撮像モジュールに係る製造方法のフローチャートである。
本発明の第1の実施形態が提供する、全体の厚みを減少させるための画像撮像モジュールの製造方法に係るステップS100の模式図である。
本発明の第1の実施形態が提供する、全体の厚みを減少させるための画像撮像モジュールの製造方法に係るステップS102およびS104の模式図である。
本発明の第1の実施形態が提供する、全体の厚みを減少させるための画像撮像モジュールの製造方法に係るステップS106の模式図である。
本発明の第1の実施形態が提供する、全体の厚みを減少させるための画像撮像モジュールの製造方法に係るステップS108の模式図である。
本発明の第1の実施形態が提供する、全体の厚みを減少させるための画像撮像モジュールの模式図である。
本発明の第1の実施形態が提供する、全体の厚みを減少させるための画像撮像モジュールの製造方法の1つの実行可能な実施形態の模式図(画像感知チップを回路基板に電気的に接続した後、仮設キャリア基板を回路基板から取り除くステップ)である。
本発明の第1の実施形態が提供する、全体の厚みを減少させるための画像撮像モジュールに係る製造方法の別の実行可能な実施形態の模式図(レンズ組立体を回路基板上に設置した後、仮設キャリア基板を回路基板から取り除くステップ)である。
本発明の第2の実施形態が提供する、全体の厚みを減少させるための画像撮像モジュールの製造方法に係る実行可能な実施形態の模式図である。
本発明の第2の実施形態が提供する、全体の厚みを減少させるための画像撮像モジュールの模式図である。
本発明の第3の実施形態が提供する、全体の厚みを減少させるための画像撮像モジュールの模式図である。
本発明の第4の実施形態が提供する、全体の厚みを減少させるための画像撮像モジュールの製造方法に係るステップS200およびS202の模式図である。
本発明の第4の実施形態が提供する、全体の厚みを減少させるための画像撮像モジュールの製造方法に係るステップS204の模式図である。
本発明の第4の実施形態が提供する、全体の厚みを減少させるための画像撮像モジュールの製造方法に係るステップS206の模式図である。
本発明の第5の実施形態が提供する、画像撮像モジュールを使用した携帯電子装置の機能ブロック図である。
【発明を実施するための形態】
【0010】
下記より、具体的な実施例で本発明が開示する「画像撮像モジュール及び携帯電子装置」に係る実施形態を説明する。当業者は本明細書の公開内容により本発明のメリット及び効果を理解し得る。本発明は他の異なる実施形態により実行又は応用できる。本明細書における各細節も様々な観点又は応用に基づいて、本発明の精神逸脱しない限りに、均等の変形と変更を行うことができる。また、本発明の図面は簡単で模式的に説明するためのものであり、実際的な寸法を示すものではない。以下の実施形態において、さらに本発明に係る技術事項を説明するが、公開された内容は本発明を限定するものではない。また、本明細書に用いられる「又は」という用語は、実際の状況に応じて、関連する項目中の何れか一つ又は複数の組合せを含み得る。
(【0011】以降は省略されています)
この特許をJ-PlatPat(特許庁公式サイト)で参照する
関連特許
海華科技股分有限公司
画像撮像モジュールの製造方法
1日前
海華科技股分有限公司
画像撮像モジュール及び携帯電子装置
1日前
個人
イヤーマフ
5日前
個人
監視カメラシステム
14日前
キーコム株式会社
光伝送線路
15日前
サクサ株式会社
中継装置
20日前
WHISMR合同会社
収音装置
1か月前
個人
スキャン式車載用撮像装置
14日前
サクサ株式会社
中継装置
21日前
アイホン株式会社
電気機器
1か月前
キヤノン株式会社
撮像装置
2か月前
株式会社リコー
画像形成装置
7日前
キヤノン電子株式会社
画像読取装置
13日前
個人
ワイヤレスイヤホン対応耳掛け
1か月前
サクサ株式会社
無線通信装置
20日前
サクサ株式会社
無線通信装置
20日前
キヤノン電子株式会社
画像読取装置
1か月前
株式会社リコー
画像形成装置
2か月前
サクサ株式会社
無線システム
19日前
株式会社リコー
画像形成装置
2か月前
株式会社リコー
画像形成装置
1か月前
個人
映像表示装置、及びARグラス
今日
ブラザー工業株式会社
読取装置
2か月前
個人
発信機及び発信方法
19日前
日本電気株式会社
海底分岐装置
15日前
株式会社ニコン
撮像装置
3か月前
キヤノン株式会社
撮像システム
1か月前
DXO株式会社
情報処理システム
2か月前
沖電気工業株式会社
画像形成装置
22日前
株式会社小糸製作所
画像照射装置
1か月前
パテントフレア株式会社
水中電波通信法
2か月前
株式会社NTTドコモ
端末
15日前
大日本印刷株式会社
写真撮影装置
1か月前
株式会社NTTドコモ
端末
15日前
国立大学法人電気通信大学
小型光学装置
2か月前
キヤノン電子株式会社
画像処理システム
13日前
続きを見る
他の特許を見る