TOP
|
特許
|
意匠
|
商標
特許ウォッチ
Twitter
他の特許を見る
10個以上の画像は省略されています。
公開番号
2025160812
公報種別
公開特許公報(A)
公開日
2025-10-23
出願番号
2024063613
出願日
2024-04-10
発明の名称
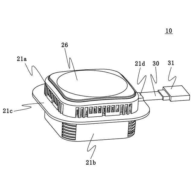
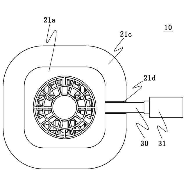
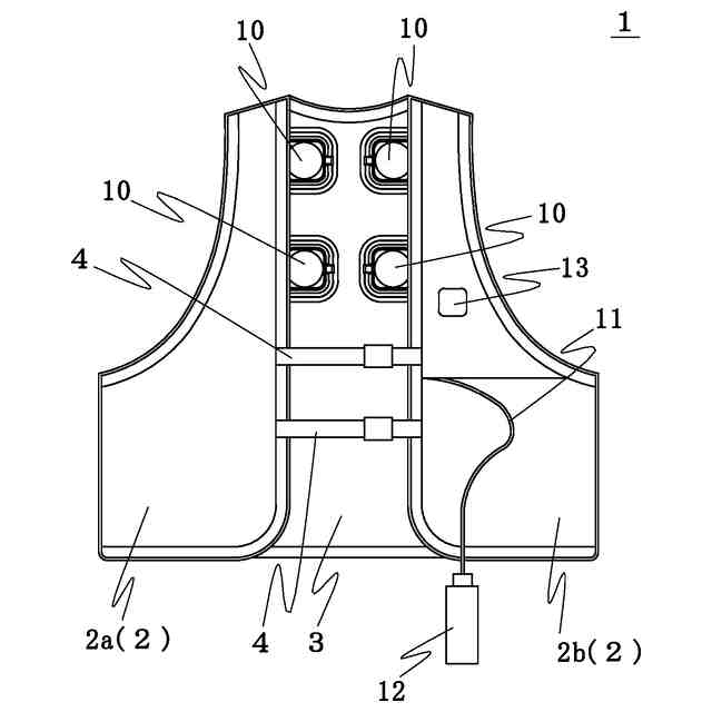
ペルチェユニットを備えた衣服
出願人
株式会社大進
代理人
個人
主分類
A41D
13/005 20060101AFI20251016BHJP(衣類)
要約
【課題】 ペルチェユニットのみを容易に取り外し、簡易な構成で再度取付を容易に行い得ることで、洗濯が可能なペルチェユニットを備えた衣服を提供することを目的とする。
【解決手段】 本発明のペルチェユニット10を用いた衣服1は、筐体21と、筐体21に収容し電力の供給を受けて冷却または発熱するペルチェ素子24と、筐体21の一面に配されて少なくともペルチェ素子24の冷却または発熱を受ける導熱部26と、を有するものであって、衣服1は、ペルチェユニット10を収容するための軟質樹脂材からなるユニット受材40を予め固定されており、ユニット受材40は、ペルチェユニット10を着脱自在に係合固定が可能な係合部43を有することを特徴とする。
【選択図】 図8
特許請求の範囲
【請求項1】
筐体と、前記筐体に収容し電力の供給を受けて冷却・発熱するペルチェ素子と、前記筐体の一面に配されて少なくとも前記ペルチェ素子の冷却または発熱を受ける導熱部と、を有するペルチェユニットを着脱自在に備える衣服であって、
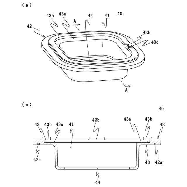
前記衣服には、前記ペルチェユニットを収容するための樹脂材からなるユニット受材が予め固定されており、
前記ユニット受材は、前記ペルチェユニットを着脱自在に係合固定が可能な係合部を有することを特徴とするペルチェユニットを備えた衣服。
続きを表示(約 580 文字)
【請求項2】
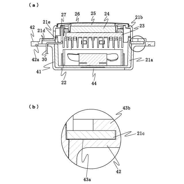
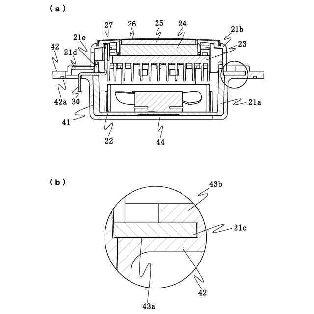
筐体は、外周面から外方に突出するユニットフランジ部を有し、
前記ユニットフランジ部は、ユニット受材に形成される溝状の係合部に係合して着脱自在に固定されることを特徴とする請求項1に記載のペルチェユニットを備えた衣服。
【請求項3】
ユニット受材は、収容部と、前記収容部から外方に突出する受材フランジ部を有し、
前記受材フランジ部の係合部は、ユニットフランジ部の一方面を受ける内底面と、ユニットフランジ部の他方面を受け可撓性を有する樹脂材からなる上側フランジ部とを有することを特徴とする請求項2に記載のペルチェユニットを備えた衣服。
【請求項4】
ユニット受材の受材フランジ部は、上側フランジ部の一部を切り欠いたフランジ切欠き部を有し、
ペルチェユニットのユニットフランジ部は、一部をせり上げた段部を有し、
前記段部が前記フランジ切欠き部に係合することを特徴とする請求項3に記載のペルチェユニットを備えた衣服。
【請求項5】
ユニットフランジ部の段部の基端側にペルチェユニットの配線ケーブルを導出するための開口部を形成し、
前記配線ケーブルにコネクタを備えて衣服内に配する配線ケーブと着脱自在としたことを特徴とする請求項4に記載のペルチェユニットを備えた衣服。
発明の詳細な説明
【技術分野】
【0001】
本発明は、通電により冷却若しくは発熱するペルチェ素子を有するペルチェユニットを備えた衣服に関する。
続きを表示(約 1,400 文字)
【背景技術】
【0002】
従来より作業用衣服などにおいて冷却装置を備えたものや、発熱装置を備えた衣服が提供されている。そのなかでもペルチェ素子を備えた衣服も存在する(特許文献1)。特許文献1に記載の文献には、ペルチェ素子ユニットをリング体により螺合して装着する内容が開示されている。
【先行技術文献】
【特許文献】
【0003】
特許第7365067号公報
【発明の概要】
【発明が解決しようとする課題】
【0004】
特許文献1の衣服は、リング体によりペルチェ素子ユニットを取り付けることが開示されているが、着脱を繰り返すことを必ずしも想定したものではなかった。リング体による取付は使用状態の振動により不意に螺合が解除されたり、リング体自体を紛失してしまうことがあった。また、最初の取付に際しては自由に配置することができるが、配線を有することで日常に取り外しが容易に可能とは言い難かった。衣服は、衛生的に使用することが必要であり、使用後に洗濯をしなければならない。その際にはペルチェ素子ユニットのみを容易に取り外し、簡易な構成で再度取付をできるものが求められていた。
【0005】
そこで、本発明は、ペルチェユニットのみを容易に取り外し、簡易な構成で再度取付を容易に行い得ることで、洗濯が可能なペルチェユニットを備えた衣服を提供することを目的とする。
【課題を解決するための手段】
【0006】
本発明のペルチェユニットを用いた衣服は、筐体と、前記筐体に収容し電力の供給を受けて冷却・発熱するペルチェ素子と、前記筐体の一面に配されて少なくとも前記ペルチェ素子の冷却または発熱を受ける導熱部と、を有するペルチェユニットを着脱自在に備える衣服であって、
前記衣服には、前記ペルチェユニットを収容するための軟質樹脂材からなるユニット受材が予め固定され、
前記ユニット受材は、前記ペルチェユニットを着脱自在に係合固定が可能な係合部を有することを特徴とする。
【0007】
また、筐体は、外周面から外方に突出するユニットフランジ部を有し、
前記ユニットフランジ部は、ユニット受材に形成される溝状の係合部に係合して着脱自在に固定されることが好ましい。
【0008】
また、ユニット受材は、収容部と、前記収容部から外方に突出する受材フランジ部を有し、
前記受材フランジ部は、ユニットフランジ部の一方面を受ける内底面と、ユニットフランジ部の他方面を受け可撓性を有する樹脂材からなる上側フランジ部とを有することが好ましい。
【0009】
また、ユニット受材の受材フランジ部は、上側フランジ部の一部を切り欠いたフランジ切欠き部を有し、
ペルチェユニットのユニットフランジ部は、一部をせり上げた段部を有し、
前記段部が前記フランジ切欠き部に係合することが好ましい。
【0010】
また、ユニットフランジ部の段部の基端側にペルチェユニットの配線ケーブルを導出するための開口部を形成し、
前記配線ケーブルにコネクタを備えて衣服内に配する配線ケーブと着脱自在としたことが好ましい。
【発明の効果】
(【0011】以降は省略されています)
この特許をJ-PlatPat(特許庁公式サイト)で参照する
関連特許
株式会社大進
ペルチェユニットを備えた衣服
1か月前
個人
和服
6か月前
個人
衿芯
4か月前
個人
シャツ
2か月前
個人
中間着
21日前
個人
ネクタイ
2か月前
個人
二部式袍
10か月前
個人
下着
5か月前
個人
靴下
11か月前
個人
衣装
7か月前
個人
多機能装身具
3か月前
個人
防虫服
21日前
個人
マスク
2か月前
東レ株式会社
防護服
1か月前
個人
作業補助ミトン
9か月前
個人
肩章付き衣服。
5か月前
個人
シャツ改造方法
7か月前
個人
:マスクカバー
3か月前
株式会社聖
手足保護具
1か月前
個人
車椅子用グローブ
3か月前
東洋紡株式会社
マスク
1か月前
株式会社聖
手足保護具
10か月前
個人
ソフトキャミブラ
7か月前
個人
手袋
8か月前
個人
内フィルムマスク
1か月前
個人
足首用サポーター
9か月前
個人
レインコート
6か月前
興和株式会社
マスク
9か月前
個人
被介護者用上衣
4か月前
株式会社マルイチ
二部式帯
1か月前
グンゼ株式会社
衣服
7か月前
LUDO合同会社
手袋
8か月前
個人
ワイヤー付き衣類
11か月前
個人
ブラカップを有する衣類
2か月前
個人
ヘアアクセサリー
11か月前
個人
ブラカップを有する衣類
2か月前
続きを見る
他の特許を見る