TOP
|
特許
|
意匠
|
商標
特許ウォッチ
Twitter
他の特許を見る
公開番号
2025160099
公報種別
公開特許公報(A)
公開日
2025-10-22
出願番号
2025002735
出願日
2025-01-08
発明の名称
現像装置およびそれを備えた画像形成装置
出願人
京セラドキュメントソリューションズ株式会社
代理人
弁理士法人 佐野特許事務所
主分類
G03G
15/08 20060101AFI20251015BHJP(写真;映画;光波以外の波を使用する類似技術;電子写真;ホログラフイ)
要約
【課題】現像剤搬送室が上下に配置された現像装置において、現像装置の外部へのトナー飛散を簡易な構成で抑制可能な現像装置およびそれを備えた画像形成装置を提供する。
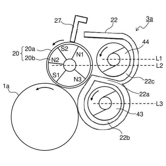
【解決手段】現像装置は、第1搬送室と、第1搬送室の上方に配置される第2搬送室と、を有し、キャリアとトナーとを含む二成分現像剤を収容する現像容器と、第1搬送室内および第2搬送室内の現像剤を攪拌しながら互いに逆方向に搬送する第1攪拌搬送部材および第2攪拌搬送部材と、第2搬送室内の現像剤を表面に担持する現像剤担持体と、現像剤担持体上の現像剤の層厚を規制する規制ブレードと、を備える。現像剤担持体への現像剤の供給、および現像剤担持体からの現像剤の回収を第2搬送室内で行う。第2攪拌搬送部材の回転軸の中心を通る水平な直線L1は、現像剤担持体の回転軸の中心を通る水平な直線L2よりも上方に位置し、直線L2は、第1攪拌搬送部材の回転軸の中心を通る水平な直線L3よりも上方に位置する。
【選択図】図3
特許請求の範囲
【請求項1】
第1搬送室と、仕切り部を挟んで前記第1搬送室の上方に配置される第2搬送室と、を有し、キャリアとトナーとを含む二成分現像剤を収容する現像容器と、
前記第1搬送室内に回転可能に支持され、前記第1搬送室内の現像剤を攪拌しながら第1方向に搬送する第1攪拌搬送部材と、
前記第2搬送室内に前記第1攪拌搬送部材と平行であって回転可能に支持され、前記第2搬送室内の現像剤を攪拌しながら前記第1方向と逆方向である第2方向に搬送する第2攪拌搬送部材と、
前記現像容器に回転可能に支持され、前記第2搬送室内の現像剤を表面に担持する現像剤担持体と、
前記現像剤担持体に対向配置され、前記現像剤担持体上の前記現像剤の層厚を規制する規制ブレードと、
を備え、像担持体上に形成された静電潜像をトナー像に現像する現像装置において、
前記現像剤担持体への前記現像剤の供給、および前記現像剤担持体からの前記現像剤の回収を前記第2搬送室内で行い、
前記第2攪拌搬送部材の回転軸の中心を通る水平な直線L1は、前記現像剤担持体の回転軸の中心を通る水平な直線L2よりも上方に位置し、前記直線L2は、前記第1攪拌搬送部材の回転軸の中心を通る水平な直線L3よりも上方に位置することを特徴とする現像装置。
続きを表示(約 660 文字)
【請求項2】
前記現像剤担持体は、回転可能な円筒状の現像スリーブと、前記現像スリーブの内部に回転不能に固定され、前記現像スリーブの回転方向に沿って、前記規制ブレードに対向する規制極と、前記像担持体に対向する主極と、前記現像剤担持体上に担持された前記現像剤を剥離する剥離極と、前記現像剤担持体上に前記現像剤を汲み上げる汲上極と、を含む複数の磁極を有する磁石部材と、を有し、
前記剥離極と前記汲上極との間における前記剥離極の磁力ピークの立ち下がり位置である剥離開始位置が、前記仕切り部の上面と同一の高さであることを特徴とする請求項1に記載の現像装置。
【請求項3】
前記剥離極と前記汲上極との間における前記汲上極の磁力ピークの立ち上がり位置である汲上開始位置が、前記第2攪拌搬送部材の上端部よりも下方に位置することを特徴とする請求項2に記載の現像装置。
【請求項4】
前記現像剤担持体の半径をR、前記第2攪拌搬送部材の半径をrとするとき、前記現像剤担持体の回転中心と前記第2攪拌搬送部材の回転中心を結んだ線分の長さd1、および前記第2攪拌搬送部材の回転中心と前記剥離開始位置とを結んだ線分の長さd2が、以下の式(1)、(2)を満たすことを特徴とする請求項2に記載の現像装置。
d1≧R+r+2[mm] ・・・(1)
d2≦r+7[mm] ・・・(2)
【請求項5】
請求項1乃至請求項4のいずれかに記載の現像装置を備えた画像形成装置。
発明の詳細な説明
【技術分野】
【0001】
本発明は、現像装置およびそれを備えた画像形成装置に関し、特に、現像剤を攪拌搬送する攪拌搬送部材が内部に配置される第1搬送室と、第1搬送室の上方に配置される第2搬送室と、を有する現像装置およびそれを備えた画像形成装置に関するものである。
続きを表示(約 2,300 文字)
【背景技術】
【0002】
画像形成装置においては、感光体等からなる像担持体上に形成した潜像を現像装置により現像し、トナー像として可視化することを行っている。このような現像装置として、現像剤を収容する現像容器と、現像剤を攪拌搬送する第1攪拌搬送部材および第2攪拌搬送部材と、第2攪拌搬送部材から供給される現像剤を担持する現像ローラー(現像剤担持体)と、を備える現像装置が知られている。第1攪拌搬送部材は、現像剤を現像ローラーの軸方向の一方側に搬送し、第2攪拌搬送部材は、現像剤を他方側(一方側とは反対側)に搬送しながら現像ローラーに供給する。
【0003】
ところで、近年、画像形成装置の小型化の要求が高まっており、特にカラー機においては現像装置を複数配置するので、現像装置の小型化が要求されている。そこで、第1攪拌搬送部材が内部に配置される第1搬送室と、第1搬送室の上方に配置されるとともに第2攪拌搬送部材が内部に配置される第2搬送室と、を備えた現像装置が知られている。この現像装置では、第1搬送室と第2搬送室とを上下に配置することによって、第1搬送室と第2搬送室とを水平に並べた構成に比べて現像装置を水平方向に小型化することが可能である。このため、現像装置の配置スペースを削減することができ、画像形成装置を小型化することが可能である。
【0004】
例えば特許文献1、2には、下側搬送室と上側搬送室とを有する現像装置において、現像ローラー上の現像剤を下側搬送室内の現像剤搬送ミキサーよりも上方で分離し、下側搬送室に現像剤を回収する構成が開示されている。
【先行技術文献】
【特許文献】
【0005】
特開2010-66377号公報
特開2015-129905号公報
【発明の概要】
【発明が解決しようとする課題】
【0006】
特許文献1、2のように、現像領域を通過した現像剤を現像ローラーから下側搬送室に回収する構成では、現像ローラーから分離された現像剤は、下側搬送室内の現像剤搬送ミキサー上部の現像剤が充填されていない場所へ回収される。このとき、分離された現像剤が現像容器内で舞い上がり、現像ローラーとハウジングの間の空隙から現像装置の外部へトナーが飛散するという問題点があった。
【0007】
特許文献1の構成では、現像ローラーから剥離された現像剤を下側攪拌室へ回収するために、下側攪拌室のハウジングを現像ローラーの下方に対向させる(オーバーラップさせる)必要がある。そのため、下側搬送室と感光体ドラムとを一定以上近接させることはできず、余分な配置スペースが必要になる。また、特許文献2の構成では、現像ローラーから分離した現像剤を下側搬送室側に設置した現像剤案内部材を通じて回収しており、現像ローラーとハウジング間の空隙付近でのトナー飛散を抑制している。そのため、部品点数の増加や現像剤の搬送スペースを確保しなければならず、現像装置の大型化やコストアップに繋がる。
【0008】
本発明は、上記問題点に鑑み、現像剤搬送室が上下に配置された現像装置において、現像装置の外部へのトナー飛散を簡易な構成で抑制可能な現像装置およびそれを備えた画像形成装置を提供することを目的としている。
【課題を解決するための手段】
【0009】
上記目的を達成するために本発明の第1の構成は、現像容器と、第1攪拌搬送部材と、第2攪拌搬送部材と、現像剤担持体と、規制ブレードと、を備え、像担持体上に形成された静電潜像をトナー像に現像する現像装置である。現像容器は、第1搬送室と、仕切り部を挟んで第1搬送室の上方に配置される第2搬送室と、を有し、キャリアとトナーとを含む二成分現像剤を収容する。第1攪拌搬送部材は、第1搬送室内に回転可能に支持され、第1搬送室内の現像剤を攪拌しながら第1方向に搬送する。第2攪拌搬送部材は、第2搬送室内に第1攪拌搬送部材と平行であって回転可能に支持され、第2搬送室内の現像剤を攪拌しながら第1方向と逆方向である第2方向に攪拌搬送する。現像剤担持体は、現像容器に回転可能に支持され、第2搬送室内の現像剤を表面に担持する。規制ブレードは、現像剤担持体に対向配置され、現像剤担持体上の現像剤の層厚を規制する。現像剤担持体への現像剤の供給、および現像剤担持体からの現像剤の回収を第2搬送室内で行う。第2攪拌搬送部材の回転軸の中心を通る水平な直線L1は、現像剤担持体の回転軸の中心を通る水平な直線L2よりも上方に位置し、直線L2は、第1攪拌搬送部材の回転軸の中心を通る水平な直線L3よりも上方に位置する。
【発明の効果】
【0010】
本発明の第1の構成によれば、現像剤担持体から分離された現像剤を、現像剤の充填されている第2搬送室内の下部へ回収することができる。これにより、現像容器の内部で発生するトナーの舞い上がりを抑制し、現像剤担持体と現像容器との間の隙間から現像装置の外部へのトナー飛散を抑制することができる。また、現像剤案内部材を設ける必要がないため、現像装置内の使用部材を減らすことができる。さらに、像担持体と現像装置との間の距離を設ける必要がないため、像担持体と現像装置とを近づけることができ、画像形成装置の小型化が可能となる。
【図面の簡単な説明】
(【0011】以降は省略されています)
この特許をJ-PlatPat(特許庁公式サイト)で参照する
関連特許
個人
表示装置
14日前
個人
雨用レンズカバー
12日前
株式会社シグマ
絞りユニット
1か月前
キヤノン株式会社
撮像装置
1か月前
キヤノン株式会社
撮像装置
5日前
キヤノン株式会社
撮像装置
5日前
キヤノン株式会社
撮像装置
5日前
平和精機工業株式会社
雲台
2か月前
日本精機株式会社
車両用投射装置
20日前
キヤノン株式会社
撮像装置
1か月前
キヤノン株式会社
撮像装置
1か月前
株式会社リコー
画像形成装置
2か月前
株式会社リコー
画像形成装置
2か月前
株式会社リコー
画像形成装置
2か月前
株式会社リコー
画像形成装置
1か月前
株式会社リコー
画像形成装置
1か月前
株式会社リコー
画像形成装置
2か月前
株式会社リコー
画像形成装置
2日前
キヤノン株式会社
トナー
8日前
キヤノン株式会社
画像形成装置
3か月前
ブラザー工業株式会社
再生方法
2か月前
キヤノン株式会社
トナー
26日前
キヤノン株式会社
画像形成装置
15日前
キヤノン株式会社
画像形成装置
2か月前
キヤノン株式会社
画像形成装置
2か月前
キヤノン株式会社
トナー
21日前
キヤノン株式会社
トナー
1か月前
株式会社オプトル
プロジェクタ
1か月前
キヤノン株式会社
画像形成装置
1日前
キヤノン株式会社
画像形成装置
3か月前
キヤノン株式会社
画像形成装置
3か月前
キヤノン株式会社
画像形成装置
3か月前
株式会社オプトル
プロジェクタ
2か月前
キヤノン株式会社
画像形成装置
3か月前
シャープ株式会社
画像形成装置
2か月前
キヤノン株式会社
画像形成装置
2か月前
続きを見る
他の特許を見る