TOP
|
特許
|
意匠
|
商標
特許ウォッチ
Twitter
他の特許を見る
10個以上の画像は省略されています。
公開番号
2025159349
公報種別
公開特許公報(A)
公開日
2025-10-20
出願番号
2025009493
出願日
2025-01-22
発明の名称
端末及び通信方法
出願人
株式会社NTTドコモ
代理人
弁理士法人ITOH
主分類
H04W
72/0453 20230101AFI20251010BHJP(電気通信技術)
要約
【課題】スイッチングパターンを用いたFDDキャリアとSDLキャリアとのスイッチングにおいて適切かつ柔軟なスイッチングギャップを設定する。
【解決手段】端末は、上りリンク通信及び下りリンク通信をサポートする第1のキャリアと下りリンク通信のみをサポートする第2のキャリアとのスイッチングにおけるスイッチングギャップに関する情報を含む端末能力情報を、基地局に送信する送信部と、前記スイッチングギャップに関する情報に基づいて、前記スイッチングギャップに関する情報に基づいて設定されたスイッチングギャップを含むスイッチングパターンを用いて、前記第1のキャリアと前記第2のキャリアとのスイッチングを実行する制御部と、を備える。
【選択図】図5
特許請求の範囲
【請求項1】
上りリンク通信及び下りリンク通信をサポートする第1のキャリアと下りリンク通信のみをサポートする第2のキャリアとのスイッチングにおけるスイッチングギャップに関する情報を含む端末能力情報を、基地局に送信する送信部と、
前記スイッチングギャップに関する情報に基づいて、前記スイッチングギャップに関する情報に基づいて設定されたスイッチングギャップを含むスイッチングパターンを用いて、前記第1のキャリアと前記第2のキャリアとのスイッチングを実行する制御部と、を備える端末。
続きを表示(約 850 文字)
【請求項2】
前記スイッチングギャップに関する情報は、前記スイッチングギャップの必要有無、前記スイッチングギャップの長さ又は前記スイッチングギャップ中の他バンドにおけるインターラプションの有無の少なくとも一つを含む、請求項1に記載の端末。
【請求項3】
前記第1のキャリアから前記第2のキャリアにスイッチングする場合と前記第2のキャリアから前記第1のキャリアにスイッチングする場合とで、前記スイッチングギャップの必要有無、前記スイッチングギャップの長さ又は前記インターラプションの有無を示す設定値は異なる、請求項2に記載の端末。
【請求項4】
前記基地局から、前記スイッチングギャップの位置を示す情報を受信する受信部を備え、
前記スイッチングギャップの位置を示す情報は、前記スイッチングギャップが前記第1のキャリア側又は前記第2のキャリア側のいずれに位置するのかを示す、請求項1に記載の端末。
【請求項5】
前記受信部は、前記基地局により設定された前記スイッチングギャップの長さを示す情報を、前記基地局から受信し、
前記基地局により設定された前記スイッチングギャップの長さは、前記端末能力情報に含まれる前記スイッチングギャップの長さと同じ又はより長い、請求項4に記載の端末。
【請求項6】
端末により実行される通信方法であって、
上りリンク通信及び下りリンク通信をサポートする第1のキャリアと下りリンク通信のみをサポートする第2のキャリアとのスイッチングにおけるスイッチングギャップに関する情報を含む端末能力情報を、基地局に送信するステップと、
前記スイッチングギャップに関する情報に基づいて、前記スイッチングギャップに関する情報に基づいて設定されたスイッチングギャップを含むスイッチングパターンを用いて、前記第1のキャリアと前記第2のキャリアとのスイッチングを実行するステップと、を備える、通信方法。
発明の詳細な説明
【技術分野】
【0001】
本発明は、無線通信システムにおける端末及び通信方法に関する。
続きを表示(約 2,100 文字)
【背景技術】
【0002】
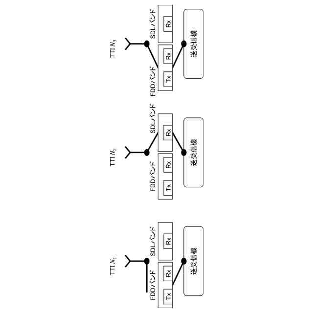
移動通信システムにおいて、低周波数帯 (Low Band)はその優れた伝搬特性により、都市部の屋内トラフィックや郊外・農村部の広範なトラフィック収容において重要な役割を果たしている。しかしながら、従来、800MHz帯のFDD (Frequency Division Duplex)バンド (Band n5) と700MHz帯のSDL (Supplemental DownLink)バンド (Band n29) のような低周波数同士のキャリアアグリゲーション (CA (Carrier Aggregation))は、端末の送受信回路設計や制御の複雑性のため実現されていなかった。
【0003】
3GPP(登録商標)(3rd Generation Partnership Project)では、端末の実装の複雑性を解消し、低周波数帯でのキャリアアグリゲーション (LBCA)を実現するために、Semi-static(半静的)スイッチングパターンを用いて、FDDキャリアとSDLキャリアとを時分割スイッチングする方法が検討されている。Semi-staticスイッチングパターンを用いたFDDキャリアとSDLキャリアとのスイッチングにおいて、適切なスイッチングギャップを設定することが求められる。
【先行技術文献】
【非特許文献】
【0004】
3GPP TS 38.300 V18.4.0(2024-12)
3GPP TS 38.401 V18.4.0(2024-12)
【発明の概要】
【発明が解決しようとする課題】
【0005】
しかしながら、このようなFDDキャリアとSDLキャリアとのスイッチングにおけるスイッチングギャップをどのように設定すべきか規定されていない。その結果、適切なスイッチングギャップが確保されない場合、通信品質が低下したり、遅延が増大したりする可能性がある。
【課題を解決するための手段】
【0006】
本実施形態における端末は、上りリンク通信及び下りリンク通信をサポートする第1のキャリアと下りリンク通信のみをサポートする第2のキャリアとのスイッチングにおけるスイッチングギャップに関する情報を含む端末能力情報を、基地局に送信する送信部と、前記スイッチングギャップに関する情報に基づいて、前記スイッチングギャップに関する情報に基づいて設定されたスイッチングギャップを含むスイッチングパターンを用いて、前記第1のキャリアと前記第2のキャリアとのスイッチングを実行する制御部と、を備える。
【発明の効果】
【0007】
本実施形態によれば、スイッチングパターンを用いたFDDキャリアとSDLキャリアとのスイッチングにおいて適切かつ柔軟なスイッチングギャップの設定を可能とする。
【図面の簡単な説明】
【0008】
本実施形態における無線通信システムを説明するための図である。
FDDバンドとSDLバンドとのスイッチングの動作の一例を示す図である。
本実施形態における端末の動作の一例を示す図である。
実施例1における端末及び基地局の動作の一例を示す図である。
実施例1におけるSemi-staticスイッチングパターン及びスイッチングギャップの一例を示す図である。
実施例2における端末及び基地局の動作の一例を示す図である。
実施例2におけるSemi-staticスイッチングパターン及びスイッチングギャップの一例を示す図である。
実施例2におけるSemi-staticスイッチングパターン及びスイッチングギャップの一例を示す図である。
実施例2におけるSemi-staticスイッチングパターン及びスイッチングギャップの一例を示す図である。
本実施形態における基地局の機能構成の一例を示す図である。
本実施形態における端末の機能構成の一例を示す図である。
本実施形態における基地局又は端末のハードウェア構成の一例を示す図である。
本実施形態における車両の構成の一例を示す図である。
【発明を実施するための形態】
【0009】
以下、図面を参照して本実施形態を説明する。なお、以下で説明する実施の形態は一例であり、本発明が適用される実施の形態は、以下の実施の形態に限られない。
【0010】
本実施形態の無線通信システムは、既存技術を用いて動作する。既存技術は、例えば、3GPP規格のような通信規格に基づく無線通信技術である。既存技術は、例えばNR(New Radio)であるが、既存のNRに限られない。本明細書で使用する用語「NR」は、特に断らない限り、NR(5G)以降の方式(例えば、6G)を含む広い意味を有するものとする。
(【0011】以降は省略されています)
特許ウォッチbot のツイートを見る
この特許をJ-PlatPat(特許庁公式サイト)で参照する
関連特許
株式会社NTTドコモ
推定装置
21日前
株式会社NTTドコモ
携帯端末
21日前
株式会社NTTドコモ
情報処理装置
23日前
株式会社NTTドコモ
移動通信端末
14日前
株式会社NTTドコモ
情報処理装置
21日前
株式会社NTTドコモ
端末及び通信方法
1日前
株式会社NTTドコモ
端末及び通信方法
2日前
株式会社NTTドコモ
端末及び通信方法
27日前
株式会社NTTドコモ
端末及び通信方法
27日前
株式会社NTTドコモ
端末及び通信方法
3日前
株式会社NTTドコモ
端末及び通信方法
3日前
株式会社NTTドコモ
端末及び通信方法
6日前
株式会社NTTドコモ
情報処理装置及び方法
15日前
株式会社NTTドコモ
情報処理装置及び方法
15日前
株式会社NTTドコモ
情報処理装置及び方法
今日
株式会社NTTドコモ
管理装置及び管理方法
6日前
株式会社NTTドコモ
管理装置及び管理方法
6日前
株式会社NTTドコモ
管理装置及び管理方法
6日前
株式会社NTTドコモ
生成システム及び生成方法
13日前
株式会社NTTドコモ
測位支援装置及び測位支援方法
8日前
株式会社NTTドコモ
電力監視装置、及び、電力監視方法
8日前
株式会社NTTドコモ
最適化支援装置および最適化支援方法
21日前
株式会社NTTドコモ
基地局、ネットワークノード及び端末
27日前
株式会社NTTドコモ
端末
8日前
株式会社NTTドコモ
太陽電池の配置支援装置及び太陽電池の配置支援方法
6日前
株式会社NTTドコモ
端末
2日前
株式会社NTTドコモ
端末及び通信方法
15日前
株式会社NTTドコモ
端末及び通信方法
15日前
株式会社NTTドコモ
通信制御方法、端末、通信制御装置、通信制御システム、通信制御プログラム
13日前
株式会社NTTドコモ
端末、通信システム及び通信方法
15日前
株式会社NTTドコモ
無線通信ノード、および、無線通信方法
23日前
株式会社NTTドコモ
端末、基地局、通信システム及び通信方法
15日前
株式会社NTTドコモ
端末、無線通信方法、基地局及びシステム
15日前
株式会社NTTドコモ
端末、無線通信システム及び無線通信方法
2日前
株式会社NTTドコモ
端末、無線通信システム及び無線通信方法
8日前
株式会社NTTドコモ
端末、基地局、無線通信システム及び無線通信方法
15日前
続きを見る
他の特許を見る