TOP
|
特許
|
意匠
|
商標
特許ウォッチ
Twitter
他の特許を見る
10個以上の画像は省略されています。
公開番号
2025159182
公報種別
公開特許公報(A)
公開日
2025-10-17
出願番号
2025136871,2023186569
出願日
2025-08-20,2023-10-31
発明の名称
イベントを管理するための装置、コンピュータプログラム及びシステム
出願人
株式会社バンダイ
代理人
個人
,
個人
,
個人
,
個人
,
個人
,
個人
,
個人
,
個人
,
個人
主分類
G06Q
50/10 20120101AFI20251009BHJP(計算;計数)
要約
【課題】ユーザにとってより利便性の高いイベント管理装置を提供する。
【解決手段】ユーザ端末と通信可能に接続されるイベント管理装置は、複数の第1ゲーム媒体と、第1ゲーム媒体に対応している第2ゲーム媒体を使用した複数のイベントと、をユーザ端末に提示させる提示制御手段と、提示された複数の第1ゲーム媒体の中から選択された第1ゲーム媒体に基づき仮想デッキを作成可能なデッキ作成制御手段と、作成されたデッキと、複数のイベントの中から選択された一のイベントと、を登録可能な登録制御手段と、ユーザ同士をマッチング可能なマッチング制御手段と、を備える。マッチング制御手段は、異なる日に一のイベントを登録した第1種別のユーザと第2種別のユーザとをマッチング可能に制御する。
【選択図】図4B
特許請求の範囲
【請求項1】
ユーザ端末と通信可能に接続されるイベント管理装置であって、
複数の第1ゲーム媒体と、第1ゲーム媒体に対応している第2ゲーム媒体を使用した複数のイベントと、をユーザ端末に提示させる提示制御手段と、
前記提示された複数の第1ゲーム媒体の中から選択された第1ゲーム媒体に基づき仮想デッキを作成可能なデッキ作成制御手段と、
作成されたデッキと、前記複数のイベントの中から選択された一のイベントと、を登録可能な登録制御手段と、
ユーザ同士をマッチング可能なマッチング制御手段と、
を備え、
前記マッチング制御手段は、異なる日に前記一のイベントを登録した第1種別のユーザと第2種別のユーザとをマッチング可能に制御する、
イベント管理装置。
続きを表示(約 1,100 文字)
【請求項2】
前記マッチング制御手段は、前記一のイベントの開催日程において、前記第1種別のユーザと前記第2種別のユーザとをマッチング可能に制御する、
請求項1に記載のイベント管理装置。
【請求項3】
イベントを開催する会場へのチェックインを制御可能なチェックイン制御手段をさらに備え、
前記マッチング制御手段は、前記第1種別のユーザと前記第2種別のユーザとが前記一のイベントを開催する会場へチェックインしたことを条件として、前記第1種別のユーザと前記第2種別のユーザとをマッチング可能に制御する、
請求項1に記載のイベント管理装置。
【請求項4】
前記第1種別のユーザは、第1期間に前記一のイベントを登録したユーザであり、
前記第2種別のユーザは、前記第1期間に後続する第2期間に前記一のイベントを登録したユーザである、
請求項1に記載のイベント管理装置。
【請求項5】
前記第1期間は、前記第2期間よりも長い期間である、
請求項4に記載のイベント管理装置。
【請求項6】
前記第1種別のユーザは、前記一のイベントの開催日程の前日までに前記一のイベントを登録したユーザであり、
前記第2種別のユーザは、前記一のイベントの開催日程の当日に前記一のイベントを登録したユーザである、
請求項1に記載のイベント管理装置。
【請求項7】
前記登録制御手段は、前記第2種別のユーザについて、前記一のイベントの開催日程の当日であって、前記一のイベントの開催日程の開催時間までに前記一のイベントを登録可能に制御する、
請求項1に記載のイベント管理装置。
【請求項8】
イベントに応じて定員が設定され、
登録制御手段は、前記一のイベントを登録しているユーザが定員未満であることを条件として、前記第2種別のユーザについて前記一のイベントを登録可能に制御する、
請求項1に記載のイベント管理装置。
【請求項9】
前記一のイベントは、前記作成された仮想デッキに対応している前記第2ゲーム媒体に基づく実デッキに基づく対戦ゲームであり、
前記登録制御手段は、対戦ゲームの対戦結果を登録可能に制御する、
請求項1に記載のイベント管理装置。
【請求項10】
前記マッチング制御手段は、さらに前記第1種別のユーザ同士、及び前記第2種別のユーザ同士をマッチング可能に制御する、
請求項1に記載のイベント管理装置。
(【請求項11】以降は省略されています)
発明の詳細な説明
【技術分野】
【0001】
本発明は、イベントを管理するための装置、コンピュータプログラム及びシステムに関する。
続きを表示(約 2,200 文字)
【背景技術】
【0002】
従来から、イベントに参加するユーザの利便性を高めるためのシステムが知られている。例えば特許文献1には、ゲームに参加するユーザの利便性を高めるためのゲームシステム開示されている。
【先行技術文献】
【特許文献】
【0003】
特開2014-171859号
【発明の概要】
【発明が解決しようとする課題】
【0004】
このような状況において、ユーザの利便性が高まるようなイベントを提供するような技術が求められている。本発明は、このような課題を解決するためになされたものであり、イベントに参加するユーザの利便性が高まるようなイベントを提供することが可能な、イベントを管理するための装置、コンピュータプログラム及びシステムを提供することを目的とする。
【課題を解決するための手段】
【0005】
[1]本発明の一実施形態のイベント管理装置は、ユーザ端末と通信可能に接続されるイベント管理装置であって、複数の第1ゲーム媒体と、第1ゲーム媒体に対応している第2ゲーム媒体を使用した複数のイベントと、をユーザ端末に提示させる提示制御手段と、提示された複数の第1ゲーム媒体の中から選択された第1ゲーム媒体に基づき仮想デッキを作成可能なデッキ作成制御手段と、作成されたデッキと、複数のイベントの中から選択された一のイベントと、を登録可能な登録制御手段と、ユーザ同士をマッチング可能なマッチング制御手段と、を備え、マッチング制御手段は、異なる日に一のイベントを登録した第1種別のユーザと第2種別のユーザとをマッチング可能に制御する、イベント管理装置である。
【0006】
[2]本発明の一実施形態のイベント管理コンピュータプログラムは、イベント管理装置コンピュータプログラムであって、一以上のコンピュータを、複数の第1ゲーム媒体と、第1ゲーム媒体に対応している第2ゲーム媒体を使用した複数のイベントと、をユーザ端末に提示させる提示制御手段と、提示された複数の第1ゲーム媒体の中から選択された第1ゲーム媒体に基づき仮想デッキを作成可能なデッキ作成制御手段と、作成されたデッキと、複数のイベントの中から選択された一のイベントと、を登録可能な登録制御手段と、ユーザ同士をマッチング可能なマッチング制御手段として機能させ、マッチング制御手段は、異なる日に一のイベントを登録した第1種別のユーザと第2種別のユーザとをマッチング可能に制御する、イベント管理コンピュータプログラムである。
【0007】
[3]本発明の一実施形態のイベント管理システムは、ユーザ端末とイベント管理装置とが通信可能に接続されるイベント管理システムであって、複数の第1ゲーム媒体と、第1ゲーム媒体に対応している第2ゲーム媒体を使用した複数のイベントと、をユーザ端末に提示させる提示制御手段と、提示された複数の第1ゲーム媒体の中から選択された第1ゲーム媒体に基づき仮想デッキを作成可能なデッキ作成制御手段と、作成されたデッキと、複数のイベントの中から選択された一のイベントと、を登録可能な登録制御手段と、ユーザ同士をマッチング可能なマッチング制御手段と、を備え、マッチング制御手段は、異なる日に一のイベントを登録した第1種別のユーザと第2種別のユーザとをマッチング可能に制御する、イベント管理システムである。
【発明の効果】
【0008】
本発明によれば、ユーザが参加するイベントに関して、ユーザにとってより利便性の高いイベントを提供できる。
【図面の簡単な説明】
【0009】
本発明の一実施形態に係るシステムの全体構成である。
本発明の一実施形態に係るシステムのハードウェア構成図である。
本発明の一実施形態に係るシステムの機能ブロック図である。
本発明の一実施形態に係る記憶手段が記憶するデータのテーブルAの一例である。
本発明の一実施形態に係る記憶手段が記憶するデータのテーブルBの一例である。
本発明の一実施形態に係る記憶手段が記憶するデータのテーブルCの一例である。
本発明の一実施形態に係る処理を示すフローチャートである。
本発明の一実施形態に係る処理を示すフローチャートである。
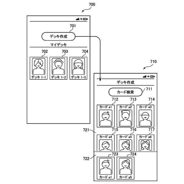
本発明の一実施形態に係るアプリ画面の一例である。
本発明の一実施形態に係るアプリ画面の一例である。
本発明の一実施形態に係るアプリ画面の一例である。
本発明の一実施形態に係る処理を示すフローチャートである。
【発明を実施するための形態】
【0010】
以下、図面を参照して、本発明の実施形態のイベントを管理するためのシステムであるイベント管理システム1及びイベントを管理するための装置であるイベント管理装置について説明する。本明細書においては、説明の便宜上、必要以上に詳細な説明は省略する場合がある。例えば、既によく知られた事項の詳細な説明や実質的に同一の構成についての重複説明を省略する場合がある。
(【0011】以降は省略されています)
この特許をJ-PlatPat(特許庁公式サイト)で参照する
関連特許
株式会社バンダイ
玩具
1か月前
株式会社バンダイ
玩具
1か月前
株式会社バンダイ
玩具
1か月前
株式会社バンダイ
玩具
1か月前
株式会社バンダイ
物品
1か月前
株式会社バンダイ
ゲーム装置
1か月前
株式会社バンダイ
ゲーム装置
1か月前
株式会社バンダイ
ゲーム装置
1か月前
株式会社バンダイナムコエクスペリエンス
袋体供給装置
1か月前
株式会社バンダイ
演出出力玩具
1か月前
株式会社バンダイ
ブックマーク
20日前
株式会社バンダイナムコエクスペリエンス
ゲームシステム
1か月前
株式会社バンダイ
模型部品及び模型玩具
1か月前
株式会社バンダイナムコエンターテインメント
コンピュータシステム
1か月前
株式会社バンダイ
模型部品及び模型玩具
1か月前
株式会社バンダイ
模型玩具、及び模型部品
1か月前
株式会社バンダイナムコエクスペリエンス
ゲーム装置および操作具
1か月前
株式会社バンダイ
模型玩具、及び模型部品
1か月前
株式会社バンダイ
玩具、及び制御プログラム
29日前
株式会社バンダイ
ゲーム装置及びプログラム
1か月前
株式会社バンダイ
模型部品、および模型玩具
1か月前
株式会社バンダイ
ゲーム装置及びプログラム
1か月前
株式会社バンダイ
玩具、及び制御プログラム
29日前
株式会社バンダイ
プログラム及びゲーム装置
27日前
株式会社バンダイ
プログラム及びゲーム装置
1か月前
株式会社バンダイ
プログラム及びゲーム装置
1か月前
株式会社バンダイ
プログラム、及びゲーム装置
1か月前
株式会社バンダイ
プログラム、及びゲーム装置
1か月前
株式会社バンダイ
ゲーム玩具、及びプログラム
1か月前
株式会社バンダイ
プログラム、及びゲーム装置
1か月前
株式会社バンダイ
プログラム、及びゲーム装置
1か月前
株式会社バンダイ
プログラム、及びゲーム装置
1か月前
株式会社バンダイ
プログラム、及びゲーム装置
1か月前
株式会社バンダイ
プログラム、及びゲーム装置
1か月前
株式会社バンダイ
プログラム、及びゲーム装置
1か月前
株式会社バンダイ
プログラム、及びゲーム装置
1か月前
続きを見る
他の特許を見る