TOP
|
特許
|
意匠
|
商標
特許ウォッチ
Twitter
他の特許を見る
公開番号
2025145216
公報種別
公開特許公報(A)
公開日
2025-10-03
出願番号
2024045288
出願日
2024-03-21
発明の名称
模型玩具、及び模型部品
出願人
株式会社バンダイ
代理人
弁理士法人大塚国際特許事務所
主分類
A63H
3/36 20060101AFI20250926BHJP(スポーツ;ゲーム;娯楽)
要約
【課題】本発明は、例えば、模型玩具に脱着可能な模型部品における新規な仕組みを提供する。
【解決手段】本模型玩具は、模型玩具の一部であって、所定方向に回動可能な第1部分と、第1部分に脱着可能な第2部分とを備える。また、第2部分は、模型玩具に装着された状態で前記第1部分の回動に連動して回動する第1回動機構を有する。
【選択図】図5
特許請求の範囲
【請求項1】
模型玩具であって、
前記模型玩具の一部であって、所定方向に回動可能な第1部分と、
前記第1部分に脱着可能な第2部分と
を備え、
前記第2部分は、前記模型玩具に装着された状態で前記第1部分の回動に連動して回動する第1回動機構を有することを特徴とする模型玩具。
続きを表示(約 960 文字)
【請求項2】
前記第2部分は、前記模型玩具から取り外された状態で、該第2部分が変形するための前記第1回動機構とは異なる第2回動機構を有することを特徴とする請求項1に記載の模型玩具。
【請求項3】
前記第2部分は、
第1パーツ及び第2パーツと、
前記第1パーツ及び前記第2パーツとそれぞれ回動可能に連結される連結部材と
を備え、
前記第1回動機構は、前記第1パーツ及び前記第2パーツが前記連結部材に対して前記所定方向に回動する機構であることを特徴とする請求項2に記載の模型玩具。
【請求項4】
前記連結部材は、
前記第1パーツに回動可能に連結する第1連結部と、
前記第2パーツに回動可能に連結する第2連結部と
を備えることを特徴とする請求項3に記載の模型玩具。
【請求項5】
前記第2部分において、前記第1パーツ、前記第2パーツ、及び前記連結部材を含むパーツ群が左右対称に2つ設けられることを特徴とする請求項4に記載の模型玩具。
【請求項6】
前記第2部分は前記第1部分の内部に装着されることを特徴とする請求項2に記載の模型玩具。
【請求項7】
前記第1部分は、前記模型玩具の上体部であり、
前記第2部分は、前記上体部の内部に脱着可能な部品であることを特徴とする請求項2乃至6の何れか1項に記載の模型玩具。
【請求項8】
前記第2部分は、前記第2回動機構により、飛行形態に変形可能であることを特徴とする請求項7に記載の模型玩具。
【請求項9】
前記第2部分は、前記模型玩具に装着された状態において、機首と翼とがボディ部分に折り畳まれることを特徴とする請求項8に記載の模型玩具。
【請求項10】
模型玩具の一部に脱着可能な模型部品であって、
前記模型玩具に装着された状態で、前記模型玩具の一部が所定方向に回動することに連動して回動する第1回動機構と、
前記模型玩具から取り外された状態で、前記模型部品が変形するための前記第1回動機構とは異なる第2回動機構と
を有することを特徴とする模型部品。
発明の詳細な説明
【技術分野】
【0001】
本発明は、模型玩具、及び模型部品に関する。
続きを表示(約 1,300 文字)
【背景技術】
【0002】
人や動物などの模型玩具(人形体)においては、自然な動作や多彩なポージングを実現することが求められている。したがって、人間や動物に近い動作やポージングを実現すべく、人形体には種々の関節やより可動域の広い回動部を複数のパーツによって実現している。例えば、前屈動作を実現するうえで腹部等を複数のパーツに分割して組み合わせることでそれぞれのパーツの動きによって、より自然で可動域の広い前屈動作を実現することができる。特許文献1には、腹部材、胸部材、及び腰部材を互いに連結部材の支軸を中心に摺動可能に構成した人形の腹部関節構造が提案されている。
【先行技術文献】
【特許文献】
【0003】
実開平1-138492号公報
【発明の概要】
【発明が解決しようとする課題】
【0004】
上記従来技術では、球形に形成された腹部材の内側に位置する連結部材に胸部材及び腰部材が連結され、胸部材が腹部材を中心に摺動可能に構成されている。腹部材を球形に形成することにより、胸部材を摺動させたときに胸部材の下部が腹部材に当接することによってその可動域が狭まることを防止している。
【0005】
一方で、腹部等の模型玩具の一部に脱着可能な模型部品を組み込む形態が知られている。このような模型部品を組み込んだ形態において、模型部品を含む部分を回動させた場合、模型部品によって模型玩具の可動域が制限する虞がある。
【0006】
本発明は、例えば、模型玩具に脱着可能な模型部品における新規な仕組みを提供する。
【課題を解決するための手段】
【0007】
本発明は、例えば、模型玩具であって、前記模型玩具の一部であって、所定方向に回動可能な第1部分と、前記第1部分に脱着可能な第2部分とを備え、前記第2部分は、前記模型玩具に装着された状態で前記第1部分の回動に連動して回動する第1回動機構を有することを特徴とする。
【0008】
また、本発明は、例えば、模型玩具の一部に脱着可能な模型部品であって、前記模型玩具に装着された状態で、前記模型玩具の一部が所定方向に回動することに連動して回動する第1回動機構と、前記模型玩具から取り外された状態で、前記模型部品が変形するための前記第1回動機構とは異なる第2回動機構とを有することを特徴とする。
【発明の効果】
【0009】
本発明によれば、模型玩具に脱着可能な模型部品における新規な仕組みを提供できる。
【図面の簡単な説明】
【0010】
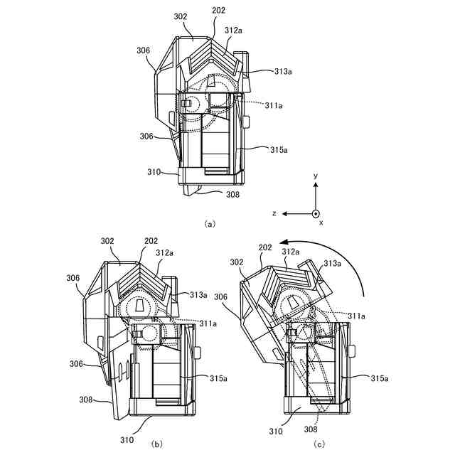
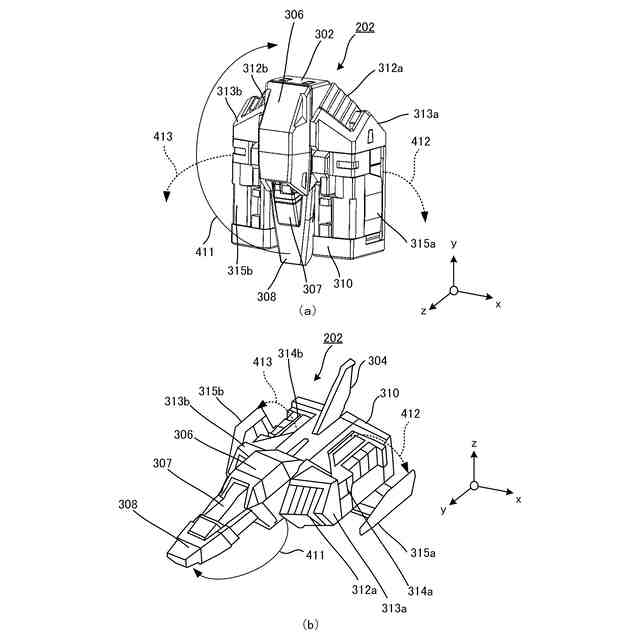
一実施形態に係る模型玩具の外観正面の一例を示す図。
一実施形態に係る上体部102の(a)分解正面図及び(b)分解側面図。
一実施形態に係る上体部102の第1部分への第2部分の脱着構成を示す図。
一実施形態に係る第2部分の分解構成を示す図。
一実施形態に係る第2部分の変形構成を示す図。
一実施形態に係る第2部分の第1回動機構を示す図。
一実施形態に係る第2部分が回動する様子を示す図。
【発明を実施するための形態】
(【0011】以降は省略されています)
この特許をJ-PlatPat(特許庁公式サイト)で参照する
関連特許
株式会社バンダイ
玩具
1か月前
株式会社バンダイ
物品
1か月前
株式会社バンダイ
玩具
1か月前
株式会社バンダイ
玩具
1か月前
株式会社バンダイ
ゲーム装置
1か月前
株式会社バンダイ
ゲーム装置
1か月前
株式会社バンダイ
ゲーム装置
1か月前
株式会社バンダイ
演出出力玩具
1か月前
株式会社バンダイ
ブックマーク
20日前
株式会社バンダイナムコエクスペリエンス
袋体供給装置
1か月前
株式会社バンダイナムコエクスペリエンス
ゲームシステム
1か月前
株式会社バンダイ
模型部品及び模型玩具
1か月前
株式会社バンダイナムコエンターテインメント
コンピュータシステム
1か月前
株式会社バンダイ
模型玩具、及び模型部品
1か月前
株式会社バンダイナムコエクスペリエンス
ゲーム装置および操作具
1か月前
株式会社バンダイ
模型部品、および模型玩具
1か月前
株式会社バンダイ
ゲーム装置及びプログラム
1か月前
株式会社バンダイ
プログラム及びゲーム装置
1か月前
株式会社バンダイ
プログラム及びゲーム装置
1か月前
株式会社バンダイ
ゲーム装置及びプログラム
1か月前
株式会社バンダイ
玩具、及び制御プログラム
29日前
株式会社バンダイ
玩具、及び制御プログラム
29日前
株式会社バンダイ
プログラム及びゲーム装置
27日前
株式会社バンダイ
ゲーム玩具、及びプログラム
1か月前
株式会社バンダイ
プログラム、及びゲーム装置
1か月前
株式会社バンダイ
プログラム、及びゲーム装置
1か月前
株式会社バンダイ
プログラム、及びゲーム装置
1か月前
株式会社バンダイ
プログラム、及びゲーム装置
1か月前
株式会社バンダイ
プログラム、及びゲーム装置
1か月前
株式会社バンダイ
プログラム、及びゲーム装置
1か月前
株式会社バンダイ
プログラム、及びゲーム装置
1か月前
株式会社バンダイ
プログラム、及びゲーム装置
1か月前
株式会社バンダイ
プログラム、及びゲーム装置
1か月前
株式会社バンダイ
プログラム、及びゲーム装置
1か月前
株式会社バンダイ
プログラム、及びゲーム装置
1か月前
株式会社バンダイ
プログラム、及びゲーム装置
1か月前
続きを見る
他の特許を見る