TOP
|
特許
|
意匠
|
商標
特許ウォッチ
Twitter
他の特許を見る
10個以上の画像は省略されています。
公開番号
2025153236
公報種別
公開特許公報(A)
公開日
2025-10-10
出願番号
2024055609
出願日
2024-03-29
発明の名称
袋体供給装置
出願人
株式会社バンダイナムコエクスペリエンス
,
株式会社バンダイナムコテクニカ
代理人
個人
,
個人
,
個人
主分類
B65B
67/04 20060101AFI20251002BHJP(運搬;包装;貯蔵;薄板状または線条材料の取扱い)
要約
【課題】 利便性を向上する。
【解決手段】 袋体供給装置1では、袋体排出口111を有するケーシング100と、ケーシング100内に配置され、破断予定線を介して連続する複数枚の袋体bが巻回された袋体ロール210と、袋体排出口111から袋体bを1枚ずつ送り出すことが可能な送り出し機構230と、を備えている。すなわち、袋体供給装置1では、袋体排出口111から袋体bを1枚ずつ送り出すことが可能な送り出し機構230を備えている。これによって、袋体bを1枚ずつ自動で供給することが可能となり、利便性を向上することが可能となる。
【選択図】 図8
特許請求の範囲
【請求項1】
排出口を有するケーシングと、
前記ケーシング内に配置され、破断予定線を介して連続する複数枚の袋体が巻回されたロールと、
前記排出口から前記袋体を1枚ずつ送り出すことが可能な送り出し機構と、を備えることを特徴とする袋体供給装置。
続きを表示(約 280 文字)
【請求項2】
前記ロールの芯に対して着脱可能な一対の軸部材を備え、
前記ロールは、前記一対の軸部材を介して、前記ケーシング内において回転可能に配置されていることを特徴とする請求項1に記載の袋体供給装置。
【請求項3】
前記送り出し機構による前記袋体の送り出しに伴う前記ロールの回転に対して抵抗力を付与する抵抗力付与機構を備えることを特徴とする請求項1又は2に記載の袋体供給装置。
【請求項4】
前記ロールに巻回されている袋体の減少を検知する検知手段を備えることを特徴とする請求項1又は2に記載の袋体供給装置。
発明の詳細な説明
【技術分野】
【0001】
本発明は、袋体を供給することが可能な袋体供給装置に関する。
続きを表示(約 1,900 文字)
【背景技術】
【0002】
従来、袋体を供給することが可能な袋体供給装置が知られている(特許文献1参照)。この袋体供給装置では、破断予定線を介して連続する複数枚の袋体からなる袋連続体が、袋体を1枚ずつ手動により取り出し可能となるように配置されている。
【先行技術文献】
【特許文献】
【0003】
特許第7098028号公報
【発明の概要】
【発明が解決しようとする課題】
【0004】
しかしながら、従来の袋体供給装置では、袋体を自動で供給することができず、利便性が低下する恐れがある。
本発明の課題は、利便性を向上することにある。
【課題を解決するための手段】
【0005】
上記目的を達成するために、第一の発明に係る袋体供給装置は、排出口を有するケーシングと、前記ケーシング内に配置され、破断予定線を介して連続する複数枚の袋体が巻回されたロールと、前記排出口から前記袋体を1枚ずつ送り出すことが可能な送り出し機構と、を備えることを特徴とする。
第一の発明に係る袋体供給装置では、排出口から袋体を1枚ずつ送り出すことが可能な送り出し機構を備えている。これによって、袋体を1枚ずつ自動で供給することが可能となり、利便性を向上することが可能となる。
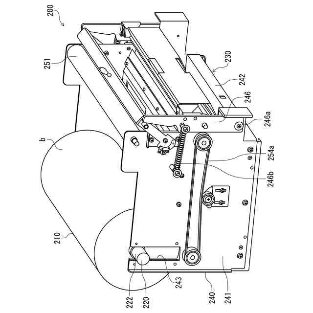
ここで、袋体供給装置としては、例えば、後述する袋体供給装置1が該当する。排出口としては、例えば、後述する袋体排出口111が該当する。ケーシングとしては、例えば、後述するケーシング100が該当する。破断予定線としては、例えば、後述する破断予定線が該当する。袋体としては、例えば、後述する袋体bが該当する。ロールとしては、例えば、後述する袋体ロール210が該当する。送り出し機構としては、例えば、後述する送り出し機構230が該当する。
【0006】
第二の発明に係る袋体供給装置は、第一の発明に係る袋体供給装置において、前記ロールの芯に対して着脱可能な一対の軸部材を備え、前記ロールは、前記一対の軸部材を介して、前記ケーシング内において回転可能に配置されていることを特徴とする。
第二の発明に係る袋体供給装置では、ロールの芯に対して着脱可能な一対の軸部材を備えている。これによって、袋体の幅に応じた軸部材を用意することで、様々な幅の袋体からなるロールを配置することが可能となる。
ここで、軸部材としては、例えば、後述する軸部材220が該当する。
【0007】
第三の発明に係る袋体供給装置は、第一又は第二の発明に係る袋体供給装置において、前記送り出し機構による前記袋体の送り出しに伴う前記ロールの回転に対して抵抗力を付与する抵抗力付与機構を備えることを特徴とする。
第三の発明に係る袋体供給装置では、ロールと送り出し機構との間における袋体の撓みに起因する不具合を防止することが可能となる。
ここで、抵抗力付与機構としては、例えば、後述する支持ローラ254が該当する。
【0008】
第四の発明に係る袋体供給装置は、第一又は第二の発明に係る袋体供給装置において、前記ロールに巻回されている袋体の減少を検知する検知手段を備えることを特徴とする。
第四の発明に係る袋体供給装置では、袋体の補充を容易とすることが可能となる。
ここで、検知手段としては、例えば、後述する袋切れ検知センサ244が該当する。
【発明の効果】
【0009】
本発明によれば、利便性を向上することが可能となる。
【図面の簡単な説明】
【0010】
袋体供給装置1を上方から見た状態を示す斜視図である。
袋体供給装置1を下方から見た状態を示す斜視図である。
開閉扉112を取り外した状態の袋体供給装置1を示す斜視図である。
本体ユニット200を右方から見た状態を示す斜視図である。
本体ユニット200を左方から見た状態を示す斜視図である。
袋体ロール210に取り付けられる軸部材220を示す斜視図である。
本体ユニット200から一部の部材を取り外した状態を示す図である。
送り出し機構230における袋体bの配置を説明する図である。
袋体供給装置1の制御系の構成を示すブロック図である。
【発明を実施するための形態】
(【0011】以降は省略されています)
この特許をJ-PlatPat(特許庁公式サイト)で参照する
関連特許
個人
収容箱
3か月前
個人
コンベア
5か月前
個人
容器
9か月前
個人
段ボール箱
7か月前
個人
段ボール箱
7か月前
個人
ゴミ収集器
7か月前
個人
角筒状構造体
5か月前
個人
土嚢運搬器具
8か月前
個人
宅配システム
7か月前
個人
楽ちんハンド
5か月前
個人
バンド
2か月前
個人
廃棄物収容容器
2か月前
個人
コード類収納具
8か月前
個人
包装容器
1か月前
個人
お薬の締結装置
6か月前
個人
閉塞装置
10か月前
個人
蓋閉止構造
4か月前
株式会社和気
包装用箱
9か月前
個人
蓋閉止構造
4か月前
個人
貯蔵サイロ
7か月前
株式会社和気
包装用箱
6日前
個人
積み重ね用補助具
3か月前
個人
ゴミ処理機
9か月前
株式会社コロナ
梱包材
5か月前
株式会社バンダイ
物品
26日前
個人
把手付米袋
4か月前
三甲株式会社
容器
10日前
株式会社KY7
封止装置
3か月前
個人
袋入り即席麺
7か月前
個人
搬送システム
6か月前
個人
コード折り畳み器具
4か月前
個人
包装箱
10か月前
個人
輸送積荷用動吸振器
6か月前
株式会社新弘
容器
3か月前
株式会社イシダ
搬送装置
6か月前
個人
介護用コップ
2か月前
続きを見る
他の特許を見る