TOP
|
特許
|
意匠
|
商標
特許ウォッチ
Twitter
他の特許を見る
10個以上の画像は省略されています。
公開番号
2025152164
公報種別
公開特許公報(A)
公開日
2025-10-09
出願番号
2024053937
出願日
2024-03-28
発明の名称
ゲーム装置および操作具
出願人
株式会社バンダイナムコエクスペリエンス
代理人
個人
,
個人
,
個人
主分類
A63F
13/24 20140101AFI20251002BHJP(スポーツ;ゲーム;娯楽)
要約
【課題】回転表示部を利用したゲーム用の操作具を実現可能な技術を提供すること。
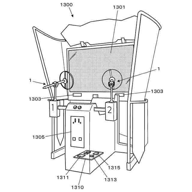
【解決手段】指示方向が設定された操作具1を画面に向けてプレイするゲーム装置において、操作具1は、表示面51が指示方向7に交差するように設けられた回転表示部50と、操作入力部20と、を備え、指示方向7をゲーム装置の画面に向ける方向とした場合に、操作入力部20よりも回転表示部50の方が画面に近い位置となるように配置構成される。ゲーム装置は、操作入力部20への操作入力に基づいて回転表示部50の表示画像を変更する制御を行うとともに当該操作入力に応じたゲーム進行制御を行う。
【選択図】図2
特許請求の範囲
【請求項1】
指示方向が設定された操作具を画面に向けてプレイするゲーム装置であって、
前記操作具は、
表示面が前記指示方向に交差するように設けられた回転表示部と、
操作入力部と、
を備え、前記指示方向を前記画面に向ける方向とした場合に、前記操作入力部よりも前記回転表示部の方が前記画面に近い位置となるように配置構成され、
前記操作入力部への操作入力に基づいて前記回転表示部の表示画像を変更する制御を行うとともに当該操作入力に応じたゲーム進行制御を行うゲーム装置。
続きを表示(約 940 文字)
【請求項2】
前記指示方向は、前記回転表示部の回転中心を通る方向であり、
前記指示方向を検出する指示方向検出機能、
を備え、前記指示方向検出機能の検出結果に応じた前記画面中の表示位置に所定のマーカ画像を表示する制御を行う、
請求項1に記載のゲーム装置。
【請求項3】
前記操作具は、長手方向を前記回転表示部の回転中心を通る方向とし、先端側に前記回転表示部を有する棒状部を有する、
請求項1に記載のゲーム装置。
【請求項4】
前記回転表示部は、前記操作入力部が位置する側に前記表示面を有する、
請求項1に記載のゲーム装置。
【請求項5】
前記操作入力部への操作入力には、少なくとも、単発操作入力と、前記単発操作入力の操作より長い長押し操作をした後に離す操作である長押し操作入力とがあり、
前記長押し操作がなされている間、徐々に変化してゆく画像を前記回転表示部に表示させ、当該長押し操作の後の離す操作に応じて所定の発動演出を前記画面に表示させる制御を行う、
請求項1に記載のゲーム装置。
【請求項6】
前記操作具は、前記回転表示部をカバーする透明カバー部を備える、
請求項1に記載のゲーム装置。
【請求項7】
前記回転表示部は、
モータ部と、
前記モータ部の回転子に接続されて回転する、LED(Light Emitting Diode)が配列されたブレード部と、
前記モータ部を支持する支持部と、
の3つのパーツを分解可能に有する、
請求項1に記載のゲーム装置。
【請求項8】
ゲーム画面に向ける指示方向が設定されたゲームプレイ用の操作具であって、
表示面が前記指示方向に交差するように設けられた回転表示部と、
操作入力部と、
を備え、前記指示方向を前記ゲーム画面に向ける方向とした場合に、前記操作入力部よりも前記回転表示部の方が前記ゲーム画面に近い位置となるように配置構成され、前記回転表示部は、前記操作入力部が位置する側に前記表示面を有する、操作具。
発明の詳細な説明
【技術分野】
【0001】
本発明は、ゲーム装置および操作具に関する。
続きを表示(約 1,400 文字)
【背景技術】
【0002】
発光素子群がライン上に配列されたプレートを高速で回転させることにより、残像効果で空間に画像を浮かび上がらせる回転表示部(バーサライタ等とも呼ばれる)の技術が知られている(例えば、特許文献1を参照)。
【先行技術文献】
【特許文献】
【0003】
国際公開第2019/087857号
【発明の概要】
【発明が解決しようとする課題】
【0004】
しかし、回転表示部を利用したゲーム用の操作具の技術は知られていなかった。回転表示部をゲーム用の操作具とするためには、幾つかの課題があった。例えば、ゲーム用に好適な回転表示部の配置構成は何かという課題や、表示させるまでに時間がかかるという課題、等である。
本願発明が解決しようとする課題は、回転表示部を利用したゲーム用の操作具を実現可能な技術を提供すること、である。
【課題を解決するための手段】
【0005】
上記課題を解決するための第1の発明は、指示方向が設定された操作具を画面に向けてプレイするゲーム装置であって、前記操作具は、表示面が前記指示方向に交差するように設けられた回転表示部と、操作入力部と、を備え、前記指示方向を前記画面に向ける方向とした場合に、前記操作入力部よりも前記回転表示部の方が前記画面に近い位置となるように配置構成され、前記操作入力部への操作入力に基づいて前記回転表示部の表示画像を変更する制御を行うとともに当該操作入力に応じたゲーム進行制御を行うゲーム装置である。
【0006】
また、他の発明は、ゲーム画面に向ける指示方向が設定されたゲームプレイ用の操作具であって、表示面が前記指示方向に交差するように設けられた回転表示部と、操作入力部と、を備え、前記指示方向を前記ゲーム画面に向ける方向とした場合に、前記操作入力部よりも前記回転表示部の方が前記ゲーム画面に近い位置となるように配置構成され、前記回転表示部は、前記操作入力部が位置する側に前記表示面を有する、操作具である。
【0007】
第1の発明等によれば、操作入力部よりも画面寄りの位置において、表示面が指示方向に交差する向きに回転表示部が配置されることとなる。そして、操作入力部への操作入力に応じてゲームを進行しながら、当該操作入力に応じて表示面の表示画像を変更することができる。プレイヤーは、操作具の指示方向を画面に向けるという自然な姿勢で操作具を操作することができる。このため、回転表示部を利用した好適なゲーム用の操作具を実現することができる。
【0008】
第2の発明は、上記の発明において、前記指示方向は、前記回転表示部の回転中心を通る方向であり、前記指示方向を検出する指示方向検出機能、を備え、前記指示方向検出機能の検出結果に応じた前記画面中の表示位置に所定のマーカ画像を表示する制御を行う、ゲーム装置である。
【0009】
第2の発明によれば、操作具を画面に向けて、マーカ画像の画面中の表示位置を指示するといったゲーム用として好適な操作具を実現することが可能となる。
【0010】
第3の発明は、上記の発明において、前記操作具は、長手方向を前記回転表示部の回転中心を通る方向とし、先端側に前記回転表示部を有する棒状部を有する、ゲーム装置である。
(【0011】以降は省略されています)
特許ウォッチbot のツイートを見る
この特許をJ-PlatPat(特許庁公式サイト)で参照する
関連特許
個人
玩具
1か月前
個人
玩具
3か月前
個人
自走玩具
23日前
個人
ゲーム玩具
4か月前
個人
運動補助具
2か月前
個人
打撃練習用具
3日前
株式会社三共
遊技機
1か月前
株式会社三共
遊技機
5か月前
株式会社三共
遊技機
5か月前
株式会社三共
遊技機
5か月前
株式会社三共
遊技機
5か月前
株式会社三共
遊技機
5か月前
株式会社三共
遊技機
5か月前
株式会社三共
遊技機
5か月前
株式会社三共
遊技機
5か月前
株式会社三共
遊技機
5か月前
株式会社三共
遊技機
5か月前
株式会社三共
遊技機
5か月前
株式会社三共
遊技機
5か月前
株式会社三共
遊技機
5か月前
株式会社三共
遊技機
5か月前
株式会社三共
遊技機
5か月前
株式会社三共
遊技機
5か月前
株式会社高尾
遊技機
7か月前
個人
パズルブロック
7か月前
株式会社三共
遊技機
5か月前
株式会社三共
遊技機
5か月前
株式会社三共
遊技機
5か月前
株式会社三共
遊技機
5か月前
株式会社三共
遊技機
5か月前
株式会社三共
遊技機
5か月前
株式会社三共
遊技機
5か月前
株式会社三共
遊技機
5か月前
株式会社三共
遊技機
5か月前
株式会社三共
遊技機
5か月前
株式会社三共
遊技機
5か月前
続きを見る
他の特許を見る