TOP
|
特許
|
意匠
|
商標
特許ウォッチ
Twitter
他の特許を見る
10個以上の画像は省略されています。
公開番号
2025159668
公報種別
公開特許公報(A)
公開日
2025-10-21
出願番号
2024062432
出願日
2024-04-08
発明の名称
玩具、及び制御プログラム
出願人
株式会社バンダイ
代理人
主分類
A63H
33/00 20060101AFI20251014BHJP(スポーツ;ゲーム;娯楽)
要約
【課題】興趣性の高い玩具、及び制御プログラムを提供すること。
【解決手段】玩具10は、タッチパネルモニタ13と、プロセッサ11と、を備える。プロセッサ11は、タッチパネルモニタ13に第1情報を表示させる制御を行う。第1情報は、他の玩具から受信した第2情報と、第1撮像画像と、を含む。
【選択図】 図10
特許請求の範囲
【請求項1】
表示部と、
前記表示部に第1情報を表示させる制御を行うプロセッサと、を備え、
前記第1情報は、他の玩具から受信した第2情報と、第1撮像画像と、を含む、
玩具。
続きを表示(約 820 文字)
【請求項2】
請求項1に記載の玩具であって、
前記第2情報は、前記他の玩具へ入力され前記他の玩具に保存された情報である、
玩具。
【請求項3】
請求項1に記載の玩具であって、
前記他の玩具は、第3情報として、前記第2情報と、前記他の玩具による撮像で得られた第2撮像画像と、を表示可能である、
玩具。
【請求項4】
請求項3に記載の玩具であって、
前記他の玩具は、
前記第2情報を送信可能であり、
前記第2撮像画像を送信不可能である、
玩具。
【請求項5】
請求項1に記載の玩具であって、
撮像部を備え、
前記第1撮像画像は、前記撮像部による撮像で得られた画像である、
玩具。
【請求項6】
請求項5に記載の玩具であって、
前記プロセッサは、前記第2情報を前記表示部に表示させた後に前記撮像部を起動させる、
玩具。
【請求項7】
請求項6に記載の玩具であって、
前記プロセッサは、前記第2情報を示す表示画面における所定箇所への入力操作に応じて前記撮像部を起動する、
玩具。
【請求項8】
請求項7に記載の玩具であって、
前記所定箇所は、前記表示画面のうち前記第1撮像画像を表示するための領域である、
玩具。
【請求項9】
請求項5に記載の玩具であって、
前記プロセッサは、前記第2情報を表示しない状態においても、入力操作で前記撮像部を起動可能である、
玩具。
【請求項10】
請求項5に記載の玩具であって、
前記第2情報は、前記撮像部を用いた通信で前記他の玩具から受信した情報である、
玩具。
(【請求項11】以降は省略されています)
発明の詳細な説明
【技術分野】
【0001】
本発明は、玩具、及び制御プログラムに関する。
続きを表示(約 970 文字)
【背景技術】
【0002】
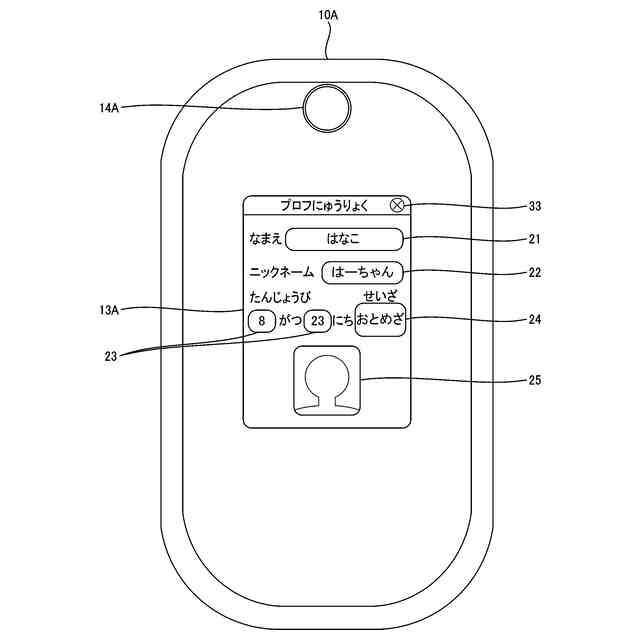
特許文献1には、表示画像記憶手段に記憶された動画や静止画からなる画像データとその画像データを特定する識別情報とが関連付けられた画像データを表示部に表示し、少なくとも画像データを特定する識別情報が設定された送信データDを受信手段で受信し、送信データに設定された画像データの識別情報に基づいて、表示画像記憶手段から該当する画像データを読み出してその画像を表示部に表示させるメール送受信玩具が記載されている。
【先行技術文献】
【特許文献】
【0003】
特開2003-36235号公報
【発明の概要】
【発明が解決しようとする課題】
【0004】
本開示の技術は、興趣性の高い玩具、及び制御プログラムを提供することを目的とする。
【課題を解決するための手段】
【0005】
本開示の技術に係る玩具の一態様は以下の通りである。
【0006】
(1)
表示部と、
上記表示部に第1情報を表示させる制御を行うプロセッサと、を備え、
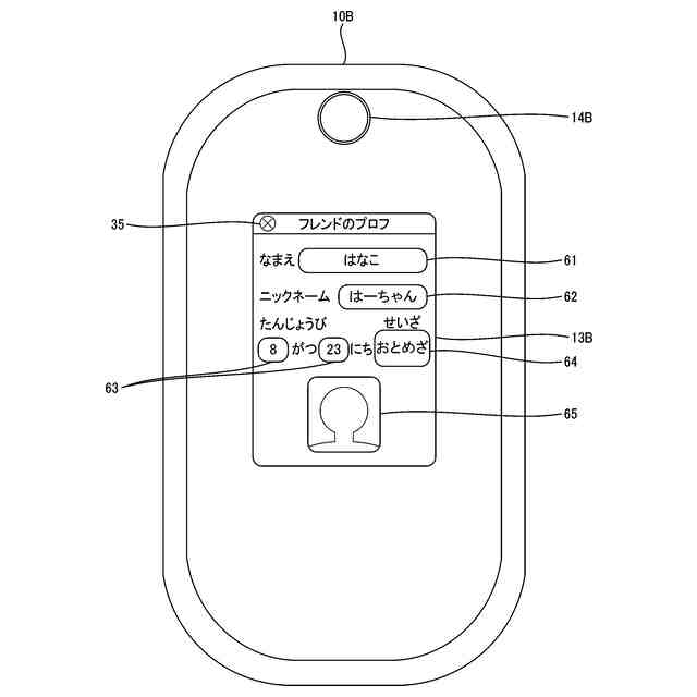
上記第1情報は、他の玩具から受信した第2情報と、第1撮像画像と、を含む、
玩具。
【0007】
(2)
(1)に記載の玩具であって、
上記第2情報は、上記他の玩具へ入力され上記他の玩具に保存された情報である、
玩具。
【0008】
(3)
(1)又は(2)に記載の玩具であって、
上記他の玩具は、第3情報として、上記第2情報と、上記他の玩具による撮像で得られた第2撮像画像と、を表示可能である、
玩具。
【0009】
(4)
(3)に記載の玩具であって、
上記他の玩具は、
上記第2情報を送信可能であり、
上記第2撮像画像を送信不可能である、
玩具。
【0010】
(5)
(1)から(4)のいずれか1つに記載の玩具であって、
撮像部を備え、
上記第1撮像画像は、上記撮像部による撮像で得られた画像である、
玩具。
(【0011】以降は省略されています)
特許ウォッチbot のツイートを見る
この特許をJ-PlatPat(特許庁公式サイト)で参照する
関連特許
株式会社バンダイ
玩具
1か月前
株式会社バンダイ
玩具
1か月前
株式会社バンダイ
ブックマーク
17日前
株式会社バンダイナムコエクスペリエンス
袋体供給装置
1か月前
株式会社バンダイ
演出出力玩具
1か月前
株式会社バンダイナムコエクスペリエンス
ゲームシステム
1か月前
株式会社バンダイナムコエクスペリエンス
ゲーム装置および操作具
1か月前
株式会社バンダイ
プログラム及びゲーム装置
1か月前
株式会社バンダイ
プログラム及びゲーム装置
24日前
株式会社バンダイ
プログラム及びゲーム装置
1か月前
株式会社バンダイ
玩具、及び制御プログラム
26日前
株式会社バンダイ
玩具、及び制御プログラム
26日前
株式会社バンダイ
ゲーム装置及びプログラム
1か月前
株式会社バンダイ
ゲーム装置及びプログラム
1か月前
株式会社バンダイ
プログラム、及びゲーム装置
1か月前
株式会社バンダイ
プログラム、及びゲーム装置
1か月前
株式会社バンダイ
プログラム、及びゲーム装置
1か月前
株式会社バンダイ
ゲーム玩具、及びプログラム
1か月前
株式会社バンダイナムコエンターテインメント
ゲームシステム及びプログラム
1か月前
株式会社バンダイナムコエンターテインメント
ゲームシステム及びプログラム
1か月前
株式会社バンダイナムコエンターテインメント
ゲームシステム及びプログラム
1か月前
株式会社バンダイナムコエンターテインメント
ゲームシステム及びプログラム
1か月前
株式会社バンダイナムコエンターテインメント
ゲームシステム及びプログラム
1か月前
株式会社バンダイ
プログラム、装置、及びシステム
1か月前
株式会社バンダイ
プログラム、装置、及びシステム
1か月前
株式会社バンダイ
プログラム、装置、及びシステム
1か月前
株式会社バンダイ
プログラム、装置、及びシステム
1か月前
株式会社バンダイ
ゲーム装置、及び制御プログラム
2日前
株式会社バンダイ
プログラム、装置、及びシステム
1か月前
株式会社バンダイナムコエンターテインメント
広告制御システムおよびプログラム
1か月前
株式会社バンダイナムコエンターテインメント
コンピュータシステムおよびプログラム
1か月前
株式会社バンダイナムコエンターテインメント
コンピュータシステムおよびプログラム
1か月前
株式会社バンダイナムコエンターテインメント
コンピュータシステムおよびプログラム
1か月前
株式会社バンダイナムコエンターテインメント
サウンド制御システムおよびプログラム
1か月前
株式会社バンダイナムコエンターテインメント
オブジェクト管理システムおよびプログラム
1か月前
株式会社バンダイナムコエンターテインメント
生成システム、プログラム及び情報処理装置
1か月前
続きを見る
他の特許を見る