TOP
|
特許
|
意匠
|
商標
特許ウォッチ
Twitter
他の特許を見る
10個以上の画像は省略されています。
公開番号
2025154376
公報種別
公開特許公報(A)
公開日
2025-10-10
出願番号
2024057330
出願日
2024-03-29
発明の名称
ゲームシステム及びプログラム
出願人
株式会社バンダイナムコエンターテインメント
代理人
個人
,
個人
主分類
A63F
13/45 20140101AFI20251002BHJP(スポーツ;ゲーム;娯楽)
要約
【課題】ターン制を有するゲームにおいて、自動進行における利便性を確保しつつ、プレーヤの戦術又は状況の漏洩を防ぎ、「ブラフ」をかけるなどの対戦ゲームにおける戦略性を向上させることが可能なゲームシステムなどを提供すること。
【解決手段】サーバ装置10は、自動制御中であって、たとえ、ゲーム進行中のゲーム状況を変化させるための選択肢(すなわち、ゲームカード)を手札(デッキ上も含む。)として有していない場合であっても、所与の待機期間を設け、ゲーム状況を変化させるための選択肢であるゲームカードを有しているように振る舞うための構成を有している。
【選択図】図4
特許請求の範囲
【請求項1】
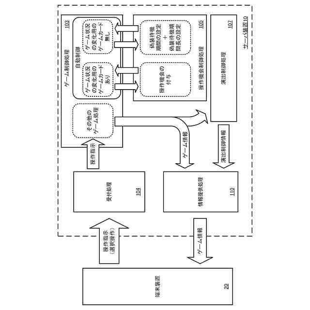
複数のプレーヤによって実行される対戦ゲームにおいて、プレーヤ毎に操作機会を提供するターン制を有するゲームを進行させるゲームシステムであって、
前記プレーヤ毎に、各ターンにおいて、複数の選択肢の中から選択操作を行う操作機会に関する制御処理を操作機会制御処理として実行する操作機会制御手段と、
前記ターン中に前記プレーヤによって選択された選択肢を受け付ける受付処理を実行する受付処理手段と、
前記ターン中に前記選択肢が受け付けられた場合には、受け付けられた選択肢に基づいて、前記ゲームを進行させ、前記ターン中に選択肢を受け付けなかった場合には、当該選択肢が無かったことを前提に前記ゲームを進行させるゲーム制御手段と、
を備え、
前記操作機会制御手段が、前記操作機会制御処理として、
各ターンにおいて、ゲーム進行中のゲーム状況を変化させるための選択肢を有している場合には、前記操作機会をプレーヤに付与する処理を実行し、
当該各ターンにおいて、ゲーム進行中のゲーム状況を変化させるための選択肢を有していない場合には、前記プレーヤに対して所定の待機期間を設定し、当該設定した待機期間の経過後に次のターンに移行させる処理を実行することを特徴とするゲームシステム。
続きを表示(約 1,100 文字)
【請求項2】
請求項1に記載のゲームシステムにおいて、
前記操作機会制御手段が
前記各ターンにおいて、前記待機期間の期間長を、当該ゲーム状況に基づいて、決定する、ゲームシステム。
【請求項3】
請求項1に記載のゲームシステムにおいて、
前記ゲーム状況には、前記各ターンにおいて発動中のゲームイベントの種別が含まれる、ゲームシステム。
【請求項4】
請求項1に記載のゲームシステムにおいて、
前記ゲーム状況には、各ターンが到来したタイミングにおけるゲーム状況である、ゲームシステム。
【請求項5】
請求項1に記載のゲームシステムにおいて、
前記ターン中に前記プレーヤによって入力された選択操作を記憶手段に操作履歴情報として登録する登録手段を更に備え、
前記操作機会制御手段が
当該各ターンにおいて、前記待機期間の期間長を、該当するターンにおける選択実行対象のプレーヤの操作履歴情報に基づいて、決定する、ゲームシステム。
【請求項6】
請求項1に記載のゲームシステムにおいて、
前記ゲーム制御手段が、
前記プレーヤが保持し、前記選択の対象となるゲーム媒体を前記選択肢として用いて前記ゲームを進行させ、
前記操作機会制御手段が
各ターンにおいて、前記待機期間の期間長を、該当するターンにおける選択実行対象のプレーヤ又は対戦相手のプレーヤが保持する前記ゲーム媒体に基づいて、決定する、ゲームシステム。
【請求項7】
請求項1に記載のゲームシステムにおいて、
前記操作機会制御手段が
当該各ターンにおいて、前記待機期間の期間長を、所定のアルゴリズムによって、決定する、ゲームシステム。
【請求項8】
請求項1に記載のゲームシステムにおいて、
前記操作機会制御手段が
当該各ターンにおいて、前記待機期間の期間長を、前記プレーヤの操作又は当該プレーヤの設定に基づいて、決定する、ゲームシステム。
【請求項9】
請求項1に記載のゲームシステムにおいて、
前記待機期間中に所与の演出を行う演出制御手段を更に備える、ゲームシステム。
【請求項10】
請求項1に記載のゲームシステムにおいて、
前記受付処理手段が、
前ターンにおいて選択された特定の選択肢に組み合わせることが可能な選択肢を受け付けると、
前記ゲーム制御手段が、
前記組み合わせられた選択肢に基づいて、前記ゲームを進行させる、ゲームシステム。
(【請求項11】以降は省略されています)
発明の詳細な説明
【技術分野】
【0001】
本発明は、ゲームシステム及びプログラムなどに関する。
続きを表示(約 1,600 文字)
【背景技術】
【0002】
従来から、複数のプレーヤキャラクタによって対戦を行うゲームが数多く提供されており、その中でも、プレーヤが操作するプレーヤキャラクタ毎に、行動可能となるまでの待機時間を設定し、当該待機時間を経過すると行動する技術が知られている。
【0003】
特に、最近では、コストの支払い方法に応じてゲームに用いられる特典を付与するゲームシステムが知られている(例えば、特許文献1)。
【0004】
また、従来から、ゲームの進行に伴って獲得したポイント又は経験値などを用いて、選択可能であってプレーヤキャラクタの能力などが設定された複数のマスが所定の配列によって構成されているマップ(すなわち、スキルマップ)を組み込んだゲームが提供されている。
【0005】
特に、最近では、このようなゲームにおいて、待機時間を設定するゲーム(例えば、特許文献1)、及び、当該待機期間を変更するゲーム(例えば、特許文献2)なども知られている。
【先行技術文献】
【特許文献】
【0006】
特許6987506号公報
特許6940560号公報
【発明の概要】
【発明が解決しようとする課題】
【0007】
しかしながら、特許文献1又は2に記載のゲームを実行するターン制のシステムなどにあっては、自動進行によってゲームを制御する場合に、自ターンのときにプレーヤによって待機時間の有無を含めて選択することができず、ゲーム状況によっては当該プレーヤが不利となる場合もある。
【0008】
本発明は、上記課題を解決するためになされたものであり、その目的は、ターン制を有するゲームにおいて、自動進行における利便性を確保しつつ、プレーヤの戦術又は状況の漏洩を防ぎ、「ブラフ」をかけるなどの対戦ゲームにおける戦略性を向上させることが可能なゲームシステムなどを提供することにある。
【課題を解決するための手段】
【0009】
(1)上記課題を解決するため、本発明は、
複数のプレーヤによって実行される対戦ゲームにおいて、プレーヤ毎に操作機会を提供するターン制を有するゲームを進行させるゲームシステムであって、
前記プレーヤ毎に、各ターンにおいて、複数の選択肢の中から選択操作を行う操作機会に関する制御処理を操作機会制御処理として実行する操作機会制御手段と、
前記ターン中に前記プレーヤによって選択された選択肢を受け付ける受付処理を実行する受付処理手段と、
前記ターン中に前記選択肢が受け付けられた場合には、受け付けられた選択肢に基づいて、前記ゲームを進行させ、前記ターン中に選択肢を受け付けなかった場合には、当該選
択肢が無かったことを前提に前記ゲームを進行させるゲーム制御手段と、
を備え、
前記操作機会制御手段が、前記操作機会制御処理として、
各ターンにおいて、ゲーム進行中のゲーム状況を変化させるための選択肢を有している場合には、前記操作機会をプレーヤに付与する処理を実行し、
当該各ターンにおいて、ゲーム進行中のゲーム状況を変化させるための選択肢を有していない場合には、前記プレーヤの操作指示を受け付ける所与の期間待機する待機期間を設定し、当該設定した待機期間の経過後に次のターンに移行させる処理を実行する、構成を有している。
【0010】
この構成により、本発明は、各ターンにおいてプレーヤがゲーム進行中のゲーム状況を変化させるための選択肢を有していない場合であっても、当該ゲーム状況を変化させるための選択肢を有しているように振る舞うことができる。
(【0011】以降は省略されています)
この特許をJ-PlatPat(特許庁公式サイト)で参照する
関連特許
個人
玩具
2か月前
個人
玩具
5か月前
個人
自走玩具
2か月前
個人
運動補助具
4か月前
個人
ゲーム玩具
6か月前
個人
小型卓球台
1か月前
個人
パズル
1か月前
個人
打撃練習用具
1か月前
株式会社三共
遊技機
2か月前
株式会社三共
遊技機
2か月前
株式会社三共
遊技機
2か月前
株式会社三共
遊技機
2か月前
株式会社三共
遊技機
2か月前
株式会社三共
遊技機
2か月前
株式会社三共
遊技機
2か月前
株式会社三共
遊技機
2か月前
株式会社三共
遊技機
2か月前
株式会社三共
遊技機
2か月前
株式会社三共
遊技機
2か月前
株式会社三共
遊技機
2か月前
株式会社三共
遊技機
2か月前
株式会社三共
遊技機
2か月前
株式会社三共
遊技機
2か月前
株式会社三共
遊技機
2か月前
株式会社三共
遊技機
2か月前
株式会社三共
遊技機
2か月前
株式会社三共
遊技機
2か月前
株式会社三共
遊技機
2か月前
株式会社三共
遊技機
2か月前
株式会社三共
遊技機
2か月前
株式会社三共
遊技機
2か月前
株式会社三共
遊技機
2か月前
株式会社三共
遊技機
2か月前
株式会社三共
遊技機
2か月前
株式会社三共
遊技機
2か月前
株式会社三共
遊技機
2か月前
続きを見る
他の特許を見る