TOP
|
特許
|
意匠
|
商標
特許ウォッチ
Twitter
他の特許を見る
10個以上の画像は省略されています。
公開番号
2025154744
公報種別
公開特許公報(A)
公開日
2025-10-10
出願番号
2024057921
出願日
2024-03-29
発明の名称
生成システム、プログラム及び情報処理装置
出願人
株式会社バンダイナムコエンターテインメント
代理人
個人
,
個人
主分類
A63F
13/5255 20140101AFI20251002BHJP(スポーツ;ゲーム;娯楽)
要約
【課題】ユーザが希望するスクリーンキャプチャを失敗なく生成することが可能な生成システム等を提供する。
【解決手段】ユーザの入力操作に基づいて、スクリーンキャプチャの指示を受け付ける。指示を受け付けた指示タイミングにおいて、画面をキャプチャする。スクリーンキャプチャが、所定の条件を満たすか否かを判定する。所定の条件を満たさないと判定した場合に、指示タイミングに基づくコンテンツ情報を変更する。変更したコンテンツ情報に基づいて、スクリーンキャプチャを生成する。
【選択図】図3
特許請求の範囲
【請求項1】
コンテンツを提供する画面のスクリーンキャプチャを生成する生成システムであって、
ユーザの入力操作に基づいて、スクリーンキャプチャの指示を受け付ける受け付け部と、
前記指示を受け付けた指示タイミングにおいて、画面をキャプチャするキャプチャ部と、
前記キャプチャ部によってキャプチャされたスクリーンキャプチャが、所定の条件を満たすか否かを判定する判定部と、
前記所定の条件を満たさないと判定した場合に、前記指示タイミングに基づくコンテンツ情報を変更するコンテンツ情報制御部と、
変更したコンテンツ情報に基づいて、スクリーンキャプチャを生成するスクリーンキャプチャ生成部と、を含むことを特徴とする生成システム。
続きを表示(約 1,000 文字)
【請求項2】
請求項1において、
ユーザの入力操作に基づいて、前記所定の条件を設定する条件制御部を、更に含むことを特徴とする生成システム。
【請求項3】
請求項1又は2において、
ユーザの使用履歴に基づいて、前記所定の条件を設定する条件制御部を、更に含むことを特徴とする生成システム。
【請求項4】
請求項1又は2において、
コンテンツ情報に基づいて、前記所定の条件を設定する条件制御部を、更に含むことを特徴とする生成システム。
【請求項5】
請求項1又は2において、
前記コンテンツ情報制御部は、
ユーザの所定パラメータを消費した場合に、前記コンテンツ情報を変更することを特徴とする生成システム。
【請求項6】
請求項1又は2において、
前記コンテンツ情報を変更する場合、変更の程度に応じて、ユーザの所定パラメータから消費する消費値を変化させるパラメータ制御部を、更に含むことを特徴とする生成システム。
【請求項7】
請求項1又は2において、
前記変更したコンテンツ情報をユーザに提示する提示部を、更に含むことを特徴とする生成システム。
【請求項8】
請求項1又は2において、
前記スクリーンキャプチャ生成部によって生成した前記スクリーンキャプチャを前記ユーザに提示する提示部と、
前記スクリーンキャプチャ生成部によって生成した前記スクリーンキャプチャを前記ユーザによって評価する評価部と、を更に含むことを特徴とする生成システム。
【請求項9】
請求項1又は2において、
前記スクリーンキャプチャ生成部によって生成した前記スクリーンキャプチャに対する前記ユーザの評価に基づいて、前記所定の条件を更に変更する条件制御部を、更に含むことを特徴とする生成システム。
【請求項10】
請求項1又は2において、
前記コンテンツ情報制御部は、
前記スクリーンキャプチャ生成部によって生成された前記スクリーンキャプチャに対する前記ユーザの評価に基づいて、前記コンテンツ情報を更に変更し、
前記スクリーンキャプチャ生成部は、
変更したコンテンツ情報に基づいて、再度、スクリーンキャプチャを生成することを特徴とする生成システム。
(【請求項11】以降は省略されています)
発明の詳細な説明
【技術分野】
【0001】
本発明は、生成システム、プログラム及び情報処理装置に関する。
続きを表示(約 1,500 文字)
【背景技術】
【0002】
従来から、仮想空間において、ユーザが好む画像を生成することが期待されている。例えば、通常とは別の撮影用画面で、撮影者が通常は操作できないキャラ(NPC(ノンプレー者キャラクタ)や他のユーザのキャラクタ)が撮影に適した位置に動き、撮影中、他ユーザの画面には通常画面が表示されてゲームが進行され、撮影後は撮影者の画面にも最新の通常画面が表示される技術が存在する(特許文献1)。
【0003】
また、ゲーム状況が条件を満たすと(例えば、難所クリア)、被写体の位置によって仮想カメラ位置などの画像生成条件を決め、その条件で生成した画像と、被写体のゲーム状況に関連する情報(例えば、クリアまでの所要時間や挑戦回数)を表示する技術が存在する(特許文献2)。
【先行技術文献】
【特許文献】
【0004】
特許第6144738号公報
特開2023-107821号公報
【発明の概要】
【発明が解決しようとする課題】
【0005】
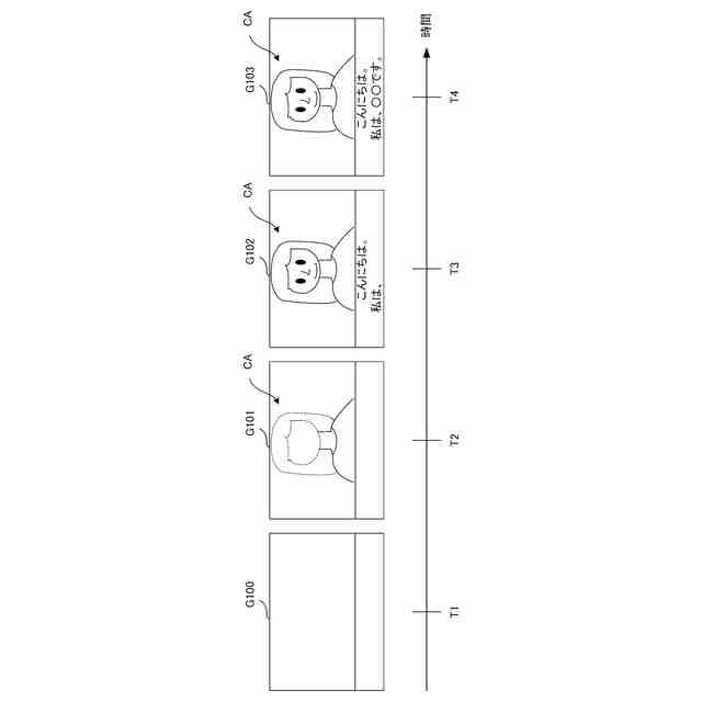
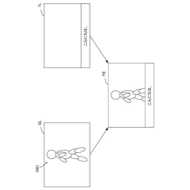
端末装置において、コンテンツを提供する画面において、ユーザの操作によりスクリーンキャプチャ(静止画や動画)を取得する場合がある。しかし、取得したスクリーンキャプチャが、ユーザにとって希望するものではない可能性がある。
【0006】
本発明は、以上のような課題に鑑みてなされたものであり、その目的とするところは、ユーザが希望するコンテンツを提供する画面のスクリーンキャプチャを失敗なく生成することが可能な生成システム等を提供することにある。
【課題を解決するための手段】
【0007】
(1)本発明は、
コンテンツを提供する画面のスクリーンキャプチャを生成する生成システムであって、
ユーザの入力操作に基づいて、スクリーンキャプチャの指示を受け付ける受け付け部と、
前記指示を受け付けた指示タイミングにおいて、画面をキャプチャするキャプチャ部と、
前記キャプチャ部によってキャプチャされたスクリーンキャプチャが、所定の条件を満たすか否かを判定する判定部と、
前記所定の条件を満たさないと判定した場合に、前記指示タイミングに基づくコンテンツ情報を変更するコンテンツ情報制御部と、
変更したコンテンツ情報に基づいて、スクリーンキャプチャを生成するスクリーンキャプチャ生成部と、を含むことを特徴とする生成システムに関する。
【0008】
また、本発明は、上記各部を含む情報処理装置(端末装置、ゲーム装置、サーバ装置)に関する。また、本発明は、上記各部としてコンピュータを機能させるプログラムに関する。また、本発明は、コンピュータが読み取り可能な情報記憶媒体であって、上記各部と
してコンピュータを機能させるプログラムを記憶する情報記憶媒体に関する。
【0009】
ここで、スクリーンキャプチャは、静止画及び動画の少なくとも一方を含む。本発明によれば、ユーザの入力操作に基づいて取得したスクリーンキャプチャが失敗したとしても、変更したコンテンツ情報に基づいて、新たにスクリーンキャプチャを生成するので、ユーザが希望するスクリーンキャプチャを失敗なく生成することができる。
【0010】
(2)また、本発明に係る生成システム、プログラム及び情報処理装置では、
ユーザの入力操作に基づいて、前記所定の条件を設定する条件制御部を、更に含むようにしてもよい。
(【0011】以降は省略されています)
この特許をJ-PlatPat(特許庁公式サイト)で参照する
関連特許
個人
玩具
2か月前
個人
玩具
5か月前
個人
自走玩具
2か月前
個人
運動補助具
4か月前
個人
小型卓球台
1か月前
個人
ゲーム玩具
6か月前
個人
打撃練習用具
1か月前
個人
パズル
1か月前
株式会社三共
遊技機
7か月前
株式会社三共
遊技機
7か月前
株式会社三共
遊技機
2か月前
株式会社三共
遊技機
2か月前
株式会社三共
遊技機
2か月前
株式会社三共
遊技機
2か月前
株式会社三共
遊技機
2か月前
株式会社三共
遊技機
2か月前
株式会社三共
遊技機
2か月前
株式会社三共
遊技機
2か月前
株式会社三共
遊技機
2か月前
株式会社三共
遊技機
2か月前
株式会社三共
遊技機
2か月前
株式会社三共
遊技機
2か月前
株式会社三共
遊技機
7か月前
株式会社三共
遊技機
1か月前
株式会社三共
遊技機
7か月前
株式会社三共
遊技機
2か月前
株式会社三共
遊技機
2か月前
株式会社三共
遊技機
2か月前
株式会社三共
遊技機
2か月前
株式会社三共
遊技機
2か月前
株式会社三共
遊技機
2か月前
株式会社三共
遊技機
2か月前
株式会社三共
遊技機
2か月前
株式会社三共
遊技機
2か月前
株式会社三共
遊技機
2か月前
株式会社三共
遊技機
2か月前
続きを見る
他の特許を見る