TOP
|
特許
|
意匠
|
商標
特許ウォッチ
Twitter
他の特許を見る
10個以上の画像は省略されています。
公開番号
2025153383
公報種別
公開特許公報(A)
公開日
2025-10-10
出願番号
2024055847
出願日
2024-03-29
発明の名称
サウンド制御システムおよびプログラム
出願人
株式会社バンダイナムコエンターテインメント
代理人
個人
,
個人
,
個人
主分類
A63F
13/54 20140101AFI20251002BHJP(スポーツ;ゲーム;娯楽)
要約
【課題】コンテンツの状況に応じたサウンドを出力可能とする新たな技術を提供すること。
【解決手段】サーバシステムは、プレイヤブル又は視聴可能なコンテンツで出力されるサウンドを制御する。サーバシステムは、プレイ中のコンテンツの状況に応じたサウンド制御情報を生成するように学習されたサウンド決定AI(Artificial Intelligence)401,403,405を用いて、ユーザによって進行されているコンテンツの進行状況に応じた適用サウンド制御情報を取得する。そして、サーバシステムは、適用サウンド制御情報に基づいてユーザに向けたサウンドの出力制御を行う。
【選択図】図4
特許請求の範囲
【請求項1】
プレイヤブル又は視聴可能なコンテンツで出力されるサウンドを制御するサウンド制御システムであって、
プレイ又は視聴されているコンテンツの状況に応じたサウンド制御情報を決定するように学習されたサウンド決定AI(Artificial Intelligence)を用いて、ユーザによって進行されているコンテンツの進行状況に応じた適用サウンド制御情報を取得する適用サウンド制御情報取得手段と、
前記適用サウンド制御情報に基づいて前記ユーザに向けたサウンドの出力制御を行う音出力制御手段と、
を備えるサウンド制御システム。
続きを表示(約 1,100 文字)
【請求項2】
前記サウンド決定AIは、複数の前記コンテンツについて、当該コンテンツの状況に応じたサウンド制御情報に基づく学習が行われたAIである、
請求項1に記載のサウンド制御システム。
【請求項3】
前記サウンド決定AIは、前記ユーザによって進行されているコンテンツ以外のコンテンツについて、当該コンテンツの状況に応じたサウンド制御情報に基づく学習が行われたAIである、
請求項1に記載のサウンド制御システム。
【請求項4】
前記サウンド決定AIは、前記進行状況と前記適用サウンド制御情報とに基づいて再学習するAIである、
請求項1に記載のサウンド制御システム。
【請求項5】
前記適用サウンド制御情報取得手段は、
前記ユーザによって進行されているコンテンツの進行状況に基づいて、前記サウンド決定AIに入力する進行状況入力情報を生成する入力情報生成手段、
を有する、
請求項1に記載のサウンド制御システム。
【請求項6】
前記サウンド決定AIは、コンテンツの状況からアノテーション対象情報を分析し、分析結果に基づいて前記サウンド制御情報を決定するAIである、
請求項1に記載のサウンド制御システム。
【請求項7】
前記サウンド決定AIは、複数種類があり、
前記複数種類のサウンド決定AIのうちから適用AIを選択する適用AI選択手段、
を更に備え、
前記適用サウンド制御情報取得手段は、前記適用AIから前記適用サウンド制御情報を取得する、
請求項1に記載のサウンド制御システム。
【請求項8】
前記サウンド決定AIは、複数種類があり、
前記適用サウンド制御情報取得手段は、前記複数種類のサウンド決定AIそれぞれから前記適用サウンド制御情報を取得し、
前記音出力制御手段は、前記複数種類のサウンド決定AIから取得された前記適用サウンド制御情報に基づいて最終適用サウンド制御情報を決定し、当該最終適用サウンド制御情報に基づいてサウンドの出力制御を行う、
請求項1に記載のサウンド制御システム。
【請求項9】
前記複数種類のサウンド決定AIは、異なる学習データで学習されたAIである、
請求項7又は8に記載のサウンド制御システム。
【請求項10】
前記複数種類のサウンド決定AIは、サウンド種類に応じたAIである、
請求項7又は8に記載のサウンド制御システム。
(【請求項11】以降は省略されています)
発明の詳細な説明
【技術分野】
【0001】
本発明は、コンテンツで出力されるサウンドを制御するサウンド制御システム等に関する。
続きを表示(約 1,400 文字)
【背景技術】
【0002】
特許文献1には、ゲーム中のキャラクタの状況を、出力させる音量に反映させる技術が開示されている。特許文献1の技術によれば、ゲーム等のコンテンツの実行に際して出力する各旋律の音量を、当該コンテンツの状況に応じて制御することが可能となる。
【先行技術文献】
【特許文献】
【0003】
特開2010-17402号公報
【発明の概要】
【発明が解決しようとする課題】
【0004】
しかし、特許文献1の技術では、出力される音の旋律自体は予め設定されているものであり、ゲームの状況に応じて変化するのは音量であった。音量のみではなく、出力する音(サウンド)自体をゲームの状況に応じて変化させることができれば、興趣性を更に向上させることが可能である。また、ゲームをプレイする場合のみならず、ゲーム実況動画を視聴している場合のサウンドを、そのゲームの状況に応じて変化させることができれば、同様に興趣性が向上すると考えられる。また、メタバースなどの仮想空間を仮想体験できるコンテンツなど、ゲーム以外のコンテンツにおいても同様である。
【0005】
本願発明が解決しようとする課題は、コンテンツの状況に応じたサウンドを出力可能とする新たな技術を提供すること、である。
【課題を解決するための手段】
【0006】
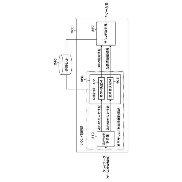
上記課題を解決するための第1の発明は、プレイヤブル又は視聴可能なコンテンツで出力されるサウンドを制御するサウンド制御システムであって、プレイ又は視聴されているコンテンツの状況に応じたサウンド制御情報を決定するように学習されたサウンド決定AI(Artificial Intelligence)を用いて、ユーザによって進行されているコンテンツの進行状況に応じた適用サウンド制御情報を取得する適用サウンド制御情報取得手段(例えば、図4の進行状況判定部310およびAI実行部320)と、前記適用サウンド制御情報に基づいて前記ユーザに向けたサウンドの出力制御を行う音出力制御手段(例えば、図4のサウンド決定部350)と、を備えるサウンド制御システムである。
【0007】
「学習」とは機械学習のことであり、より具体的には深層学習を意味する。第1の発明によれば、ユーザによってプレイ又は視聴されているコンテンツの進行状況に応じた適用サウンド制御情報をサウンド決定AIから取得して、当該ユーザに向けたサウンドの出力制御を行うことができる。コンテンツの状況に応じたサウンドを出力可能とすることができる。
【0008】
第2の発明は、上記の発明において、前記サウンド決定AIは、複数の前記コンテンツについて、当該コンテンツの状況に応じたサウンド制御情報に基づく学習が行われたAIである、サウンド制御システムである。
【0009】
第2の発明によれば、複数のコンテンツについて学習されたサウンド決定AIを用いて、進行中のコンテンツのサウンドを出力制御することが可能となる。
【0010】
第3の発明は、上記の発明において、前記サウンド決定AIは、前記ユーザによって進行されているコンテンツ以外のコンテンツについて、当該コンテンツの状況に応じたサウンド制御情報に基づく学習が行われたAIである、サウンド制御システムである。
(【0011】以降は省略されています)
この特許をJ-PlatPat(特許庁公式サイト)で参照する
関連特許
個人
玩具
1か月前
個人
玩具
4か月前
個人
自走玩具
1か月前
個人
小型卓球台
10日前
個人
ゲーム玩具
5か月前
個人
運動補助具
3か月前
個人
打撃練習用具
29日前
個人
パズル
11日前
株式会社三共
遊技機
1か月前
株式会社三共
遊技機
1か月前
株式会社三共
遊技機
7か月前
株式会社三共
遊技機
1か月前
株式会社三共
遊技機
1か月前
株式会社三共
遊技機
1か月前
株式会社三共
遊技機
1か月前
株式会社三共
遊技機
1か月前
株式会社三共
遊技機
1か月前
株式会社三共
遊技機
1か月前
株式会社三共
遊技機
1か月前
株式会社三共
遊技機
1か月前
株式会社三共
遊技機
1か月前
株式会社三共
遊技機
1か月前
株式会社三共
遊技機
1か月前
株式会社三共
遊技機
1か月前
株式会社三共
遊技機
1か月前
株式会社三共
遊技機
7か月前
株式会社三共
遊技機
1か月前
株式会社三共
遊技機
1か月前
株式会社三共
遊技機
1か月前
株式会社三共
遊技機
1か月前
株式会社三共
遊技機
1か月前
株式会社三共
遊技機
1か月前
株式会社三共
遊技機
1か月前
株式会社三共
遊技機
1か月前
株式会社三共
遊技機
1か月前
株式会社三共
遊技機
1か月前
続きを見る
他の特許を見る