TOP
|
特許
|
意匠
|
商標
特許ウォッチ
Twitter
他の特許を見る
公開番号
2025144116
公報種別
公開特許公報(A)
公開日
2025-10-02
出願番号
2024043734
出願日
2024-03-19
発明の名称
模型部品及び模型玩具
出願人
株式会社バンダイ
代理人
弁理士法人大塚国際特許事務所
主分類
A63H
3/36 20060101AFI20250925BHJP(スポーツ;ゲーム;娯楽)
要約
【課題】模型玩具において、透明部材により視覚的効果を奏する有意な構成を提供する。
【解決手段】模型玩具の玩具部品であって、透明部材と、前記透明部材の少なくとも一部を覆うカバー部材とを含み、前記透明部材は、前記カバー部材から露出した露出部分より視認可能な位置に第1の切り欠きと第2の切り欠きとを有し、前記第1の切り欠きは、前記第2の切り欠きよりも、前記露出部分に近接して設けられ、前記第1の切り欠きと前記第2の切り欠きとは、前記露出部分の正面からみて少なくとも一部において重複するように異なる形状にて構成される。
【選択図】図1
特許請求の範囲
【請求項1】
模型玩具の玩具部品であって、
透明部材と、
前記透明部材の少なくとも一部を覆うカバー部材と
を含み、
前記透明部材は、前記カバー部材から露出した露出部分より視認可能な位置に第1の切り欠きと第2の切り欠きとを有し、
前記第1の切り欠きは、前記第2の切り欠きよりも、前記露出部分に近接して設けられ、
前記第1の切り欠きと前記第2の切り欠きとは、前記露出部分の正面からみて少なくとも一部において重複するように異なる形状にて構成されている、玩具部品。
続きを表示(約 880 文字)
【請求項2】
前記透明部材は、前記第1の切り欠きに隣接した第1の残存部と、前記第2の切り欠きに隣接した第2の残存部とを有し、
前記第1の残存部と前記第2の残存部とは、前記露出部分の正面からみて、少なくとも一部において重複するように構成されている、請求項1に記載の玩具部品。
【請求項3】
前記透明部材は、前記露出部分の正面からみた場合に、
前記第1の切り欠きと前記第2の切り欠きとが重複する第1の領域と、
前記第1の切り欠きと前記第2の残存部が重複する第2の領域と、
前記第2の切り欠きと前記第1の残存部が重複する第3の領域と、
前記第1の残存部と前記第2の残存部が重複する第4の領域と、
を含むように構成されている、請求項2に記載の玩具部品。
【請求項4】
前記第4の領域は、前記透明部材の中心側に位置し、
前記第1の領域と前記第2の領域と前記第3の領域とは、前記第4の領域の周辺に位置する、ように構成されている請求項3に記載の玩具部品。
【請求項5】
前記透明部材は有色透明の材料により構成されており、
前記第4の領域は、前記第1の領域、前記第2の領域及び前記第3の領域よりも、色の濃い領域である、請求項4に記載の玩具部品。
【請求項6】
前記透明部材は有色透明の材料により構成されており、
前記第1の領域、前記第2の領域及び前記第3の領域は、前記第4の領域よりも、明度が高い領域である、請求項4に記載の玩具部品。
【請求項7】
前記透明部材の露出部分は平坦面を有する、請求項6に記載の玩具部品。
【請求項8】
前記第1の切り欠きと、前記第2の切り欠きとは、少なくとも一部において、前記透明部材の周辺部から中心部にかけて切り欠きの厚みが減少するように構成されている、請求項7に記載の玩具部品。
【請求項9】
請求項1から8のいずれか1項に記載の玩具部品を有する模型玩具。
発明の詳細な説明
【技術分野】
【0001】
本発明は、模型部品及び模型玩具に関する。
続きを表示(約 1,400 文字)
【背景技術】
【0002】
人形玩具(模型玩具)には、透明の部材に構成された模型部品が含まれる。特許文献1には、目の部分に透明の部材を組み込んだ人形玩具が提案されている。
【先行技術文献】
【特許文献】
【0003】
特開2012-115522号公報
【発明の概要】
【発明が解決しようとする課題】
【0004】
模型玩具において、透明部材により視覚的効果を奏する有意な構成を提供することが望まれている。そこで、本発明では、模型玩具において、透明部材により視覚的効果を奏する有意な構成を提供する。
【課題を解決するための手段】
【0005】
本発明は、例えば、模型玩具の玩具部品であって、透明部材と、前記透明部材の少なくとも一部を覆うカバー部材とを含み、前記透明部材は、前記カバー部材から露出した露出部分より視認可能な位置に第1の切り欠きと第2の切り欠きとを有し、前記第1の切り欠きは、前記第2の切り欠きよりも、前記露出部分に近接して設けられ、前記第1の切り欠きと前記第2の切り欠きとは、前記露出部分の正面からみて少なくとも一部において重複するように異なる形状にて構成されている。
【発明の効果】
【0006】
本発明によれば、模型玩具において、透明部材により視覚的効果を奏する有意な構成を提供することができる。
【図面の簡単な説明】
【0007】
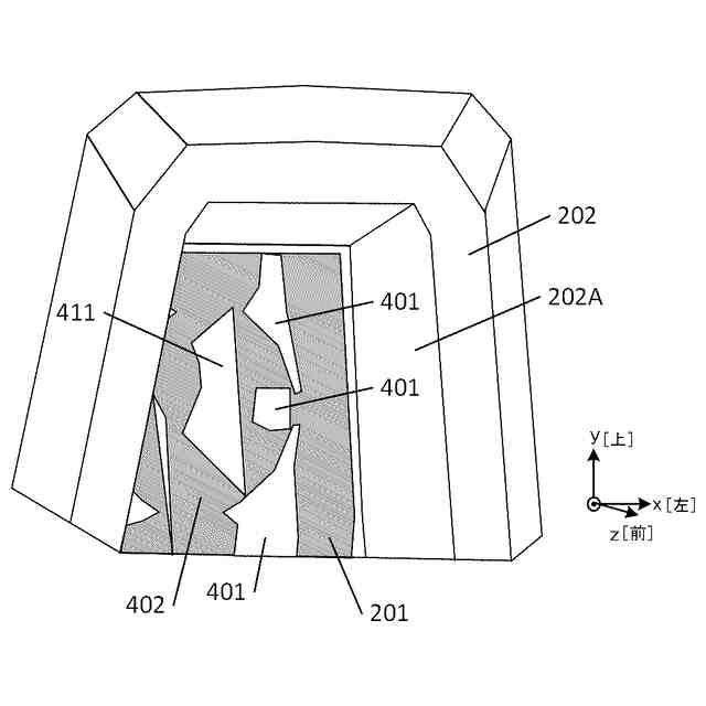
一実施形態に係る模型玩具100の一形態の(A)外観正面及び(B)外観側面の一例を示す図。
一実施形態に係る模型玩具100の頭部101の断面構成の一例を示す図。
一実施形態に係る透明部材201の外観構成の一例を示す図。
一実施形態に係る透明部材201の内部構成の一例を示す図。
一実施形態に係る透明部材201の内部の視認態様の一例を示す図。
【発明を実施するための形態】
【0008】
以下、添付図面を参照して実施形態を詳しく説明する。尚、以下の実施形態は特許請求の範囲に係る発明を限定するものではなく、また実施形態で説明されている特徴の組み合わせの全てが発明に必須のものとは限らない。実施形態で説明されている複数の特徴うち二つ以上の特徴が任意に組み合わされてもよい。また、同一若しくは同様の構成には同一の参照番号を付し、重複した説明は省略する。
【0009】
まず図1を参照して、本実施形態に係る模型玩具100の外観構成の一例について説明する。図1(A)は模型玩具100の外観正面を示し、図1(B)は模型玩具100の外観側面を示す。なお、x,y,zの矢印はそれぞれ模型玩具における上、左、前方向の向きを示し、他の図面についても同様である。
【0010】
模型玩具100は、本体部を構成する頭部101、胸部102、腕部103a、103b、脚部104a、104b、及び腰部105を備える。本実施形態では模型玩具の一例として人型ロボットを例に説明するが、本発明を限定する意図はなく、本発明は人、動物、ロボット、昆虫、恐竜、武具、装飾具等、様々な模型に適用することができる。
(【0011】以降は省略されています)
特許ウォッチbot のツイートを見る
この特許をJ-PlatPat(特許庁公式サイト)で参照する
関連特許
株式会社バンダイ
玩具
1か月前
株式会社バンダイ
玩具
4日前
株式会社バンダイ
玩具
2日前
株式会社バンダイ
玩具
1か月前
株式会社バンダイ
玩具
9日前
株式会社バンダイ
発光玩具
16日前
株式会社バンダイ
模型部品
10日前
株式会社バンダイナムコエンターテインメント
コンピュータシステム
6日前
株式会社バンダイナムコエンターテインメント
コンピュータシステム
2日前
株式会社バンダイ
模型部品及び模型玩具
3日前
株式会社バンダイナムコエンターテインメント
コンピュータシステム
6日前
株式会社バンダイ
模型部品及び模型玩具
2日前
株式会社バンダイ
模型玩具、及び模型部品
3日前
株式会社バンダイ
模型玩具、及び模型部品
6日前
株式会社バンダイ
模型玩具、及び模型部品
2日前
株式会社バンダイ
プログラム及び通信端末
26日前
株式会社バンダイ
プログラム及びゲーム装置
26日前
株式会社バンダイ
プログラム及びゲーム装置
26日前
株式会社バンダイ
プログラム及びゲーム装置
26日前
株式会社バンダイ
模型素体及びその製造方法
10日前
株式会社バンダイ
プログラム及びゲーム装置
26日前
株式会社バンダイ
模型部品、および模型玩具
2日前
株式会社バンダイ
プログラム、及びゲーム装置
2日前
株式会社バンダイ
プログラム、及びゲーム装置
27日前
株式会社バンダイ
プログラム、及びゲーム装置
27日前
株式会社バンダイ
プログラム、及びゲーム装置
2日前
株式会社バンダイ
プログラム、及びゲーム装置
16日前
株式会社バンダイ
プログラム、及びゲーム装置
16日前
株式会社バンダイ
プログラム、及びゲーム装置
16日前
株式会社バンダイ
プログラム、及びゲーム装置
2日前
株式会社バンダイ
プログラム、及びゲーム装置
2日前
株式会社バンダイ
プログラム、及びゲーム装置
11日前
株式会社バンダイ
プログラム、及びゲーム装置
2日前
株式会社バンダイナムコエンターテインメント
ゲームシステム及びプログラム
4日前
株式会社バンダイ
模型玩具用部品、および模型玩具
3日前
株式会社バンダイナムコエクスペリエンス
コンピュータシステムおよびプログラム
3日前
続きを見る
他の特許を見る