TOP
|
特許
|
意匠
|
商標
特許ウォッチ
Twitter
他の特許を見る
公開番号
2025144111
公報種別
公開特許公報(A)
公開日
2025-10-02
出願番号
2024043728
出願日
2024-03-19
発明の名称
模型玩具、及び模型部品
出願人
株式会社バンダイ
代理人
弁理士法人大塚国際特許事務所
主分類
A63H
3/36 20060101AFI20250925BHJP(スポーツ;ゲーム;娯楽)
要約
【課題】本発明は、例えば、模型玩具において、装飾部品を好適に装着する新規な仕組みを提供する。
【解決手段】模型玩具は、第1パーツと、第1パーツへ接続される第2パーツと、第1パーツ及び第2パーツを連結する第3パーツとを備える。第1パーツ及び第2パーツが接続されると、所定の面に第3パーツと連結する連結部が形成される。第1パーツ及び第2パーツによって形成された連結部に対して第3パーツを連結すると、第1パーツ、第2パーツ、及び第3パーツの連結が固定される。また、第1パーツ及び第2パーツが接続されると、更に、他の部材を把持するための把持部が所定の面とは異なる面に形成される。
【選択図】図2
特許請求の範囲
【請求項1】
模型玩具であって、
第1パーツと、
前記第1パーツへ接続される第2パーツと、
前記第1パーツ及び前記第2パーツを連結する第3パーツと
を備え、
前記第1パーツ及び前記第2パーツが接続されると、所定の面に前記第3パーツと連結する連結部が形成され、
前記第1パーツ及び前記第2パーツによって形成された前記連結部に対して前記第3パーツを連結すると、前記第1パーツ、前記第2パーツ、及び前記第3パーツの連結が固定されることを特徴とする模型玩具。
続きを表示(約 820 文字)
【請求項2】
前記第1パーツ及び前記第2パーツが接続されると、更に、他の部材を把持するための把持部が前記所定の面とは異なる面に形成されることを特徴とする請求項1に記載の模型玩具。
【請求項3】
前記第2パーツには、前記他の部材へ嵌め込まれる突起部が形成されることを特徴とする請求項2に記載の模型玩具。
【請求項4】
前記突起部は前記把持部の内側に形成されることを特徴とする請求項3に記載の模型玩具。
【請求項5】
前記第1パーツ、前記第2パーツ、及び前記第3パーツは、前記模型玩具の手に対応するパーツであり、
前記他の部材は、前記模型玩具に装着される装飾部品であることを特徴とする請求項2乃至4の何れか1項に記載の模型玩具。
【請求項6】
前記第1パーツ及び前記第2パーツは前記模型玩具の手の指を含む手のひらを形成し、
前記把持部は、前記指を含む手のひらによって空洞部を囲むように形成されることを特徴とする請求項5に記載の模型玩具。
【請求項7】
前記空洞部には、前記装飾部品の一部が挿入されて把持されることを特徴とする請求項6に記載の模型玩具。
【請求項8】
前記第3パーツは前記模型玩具の手の甲に対応することを特徴とする請求項5に記載の模型玩具。
【請求項9】
前記第1パーツ、前記第2パーツ、及び前記第3パーツは、前記装飾部品のグリップ部分に連結されることを特徴とする請求項5に記載の模型玩具。
【請求項10】
前記第1パーツ及び前記第2パーツは、前記装飾部品のグリップ部分を所定の方向から挟み込んで接続され、
前記第3パーツは、前記所定の方向とは異なる方向から前記連結部に対して連結されることを特徴とする請求項9に記載の模型玩具。
(【請求項11】以降は省略されています)
発明の詳細な説明
【技術分野】
【0001】
本発明は、模型玩具、及び模型部品に関する。
続きを表示(約 1,400 文字)
【背景技術】
【0002】
人形型玩具(模型玩具)には、武器等の装飾部品が装着可能である。例えば、模型玩具の手部品に装飾部品が把持される形態で装着される。特許文献1には、模型玩具における手の握りの表現をより自然なものとする手の玩具部品が提案されている。
【先行技術文献】
【特許文献】
【0003】
特許第7093904号
【発明の概要】
【発明が解決しようとする課題】
【0004】
上記従来技術では、手の握りの表現が自然であるが武器等の装飾部品を当該手部品によって把持させる場合、手の握りによってグリップ力が求められる。グリップ力を高めるためには、指関節の折り曲げを硬く形成する必要があり、扱いづらいものとなる虞もある。一方で、グリップ力が弱いと装飾部品の脱落が頻発し煩わしいものとなる。
【0005】
また、グリップ力を高めるために手部品の一部に装飾部品との嵌合部を設けて連結する構成が考えられる。しかし、この場合においては、手部品の一部から装飾部品が外れにくい構成となるものの手部品自体がばらけてしまい、結果的に装飾部品の脱落が頻繁するという問題がある。
【0006】
本発明は、例えば、模型玩具において、装飾部品を好適に装着する新規な仕組みを提供する。
【課題を解決するための手段】
【0007】
本発明は、例えば、模型玩具であって、第1パーツと、前記第1パーツへ接続される第2パーツと、前記第1パーツ及び前記第2パーツを連結する第3パーツとを備え、前記第1パーツ及び前記第2パーツが接続されると、所定の面に前記第3パーツと連結する連結部が形成され、前記第1パーツ及び前記第2パーツによって形成された前記連結部に対して前記第3パーツを連結すると、前記第1パーツ、前記第2パーツ、及び前記第3パーツの連結が固定されることを特徴とする。
【0008】
また、本発明は、例えば、模型部品であって、第1パーツと、前記第1パーツへ接続される第2パーツと、前記第1パーツ及び前記第2パーツを連結する第3パーツとを備え、前記第1パーツ及び前記第2パーツが接続されると、所定の面に前記第3パーツと連結する連結部が形成され、前記第1パーツ及び前記第2パーツによって形成された前記連結部に対して前記第3パーツを連結すると、前記第1パーツ、前記第2パーツ、及び前記第3パーツの連結が固定されることを特徴とする。
【発明の効果】
【0009】
本発明によれば、模型玩具において、装飾部品を好適に装着する新規な仕組みを提供することができる。
【図面の簡単な説明】
【0010】
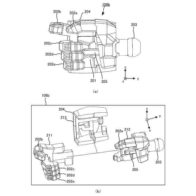
一実施形態に係る模型玩具の一形態の(a)外観正面及び(b)外観側面の一例を示す図。
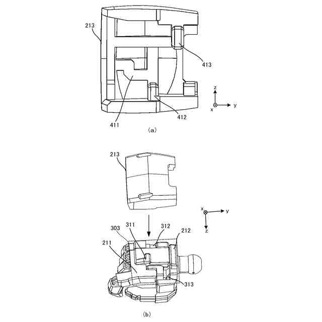
一実施形態に係る模型玩具の手部品の(a)側面図及び(b)分解斜視図。
一実施形態に係る手部品の組立構成を示す図。
一実施形態に係る手部品の組立構成を示す図。
一実施形態に係る装飾部品の手部品の把持部を示す図。
一実施形態に係る模型玩具において装飾備品を装着する様子を示す図。
【発明を実施するための形態】
(【0011】以降は省略されています)
特許ウォッチbot のツイートを見る
この特許をJ-PlatPat(特許庁公式サイト)で参照する
関連特許
株式会社バンダイ
玩具
2日前
株式会社バンダイ
玩具
9日前
株式会社バンダイ
玩具
4日前
株式会社バンダイ
発光玩具
16日前
株式会社バンダイ
模型部品
10日前
株式会社バンダイ
模型部品及び模型玩具
2日前
株式会社バンダイナムコエンターテインメント
コンピュータシステム
6日前
株式会社バンダイ
模型部品及び模型玩具
3日前
株式会社バンダイナムコエンターテインメント
コンピュータシステム
2日前
株式会社バンダイナムコエンターテインメント
コンピュータシステム
6日前
株式会社バンダイ
模型玩具、及び模型部品
6日前
株式会社バンダイ
模型玩具、及び模型部品
2日前
株式会社バンダイ
模型玩具、及び模型部品
3日前
株式会社バンダイ
模型素体及びその製造方法
10日前
株式会社バンダイ
模型部品、および模型玩具
2日前
株式会社バンダイ
プログラム、及びゲーム装置
2日前
株式会社バンダイ
プログラム、及びゲーム装置
2日前
株式会社バンダイ
プログラム、及びゲーム装置
2日前
株式会社バンダイ
プログラム、及びゲーム装置
16日前
株式会社バンダイ
プログラム、及びゲーム装置
11日前
株式会社バンダイ
プログラム、及びゲーム装置
2日前
株式会社バンダイ
プログラム、及びゲーム装置
16日前
株式会社バンダイ
プログラム、及びゲーム装置
2日前
株式会社バンダイ
プログラム、及びゲーム装置
16日前
株式会社バンダイナムコエンターテインメント
ゲームシステム及びプログラム
4日前
株式会社バンダイ
模型玩具用部品、および模型玩具
3日前
株式会社バンダイナムコエンターテインメント
コンピュータシステムおよびプログラム
3日前
株式会社バンダイナムコエンターテインメント
コンピュータシステムおよびプログラム
6日前
株式会社バンダイナムコエンターテインメント
コンピュータシステムおよびプログラム
6日前
株式会社バンダイナムコエクスペリエンス
コンピュータシステムおよびプログラム
3日前
株式会社バンダイ
プログラム、ゲーム装置及びゲームシステム
16日前
株式会社バンダイ
プログラム、情報処理装置及びゲームシステム
16日前
株式会社バンダイ
プログラム、情報処理装置及びゲームシステム
9日前
株式会社バンダイ
プログラム、情報処理装置及びゲームシステム
18日前
株式会社バンダイ
玩具
4日前
株式会社バンダイ
玩具
9日前
続きを見る
他の特許を見る