TOP
|
特許
|
意匠
|
商標
特許ウォッチ
Twitter
他の特許を見る
公開番号
2025158691
公報種別
公開特許公報(A)
公開日
2025-10-17
出願番号
2024061484
出願日
2024-04-05
発明の名称
光ファイバ型センサ及び光ファイバ型センサの製造方法
出願人
矢崎総業株式会社
代理人
個人
,
個人
主分類
G01R
33/20 20060101AFI20251009BHJP(測定;試験)
要約
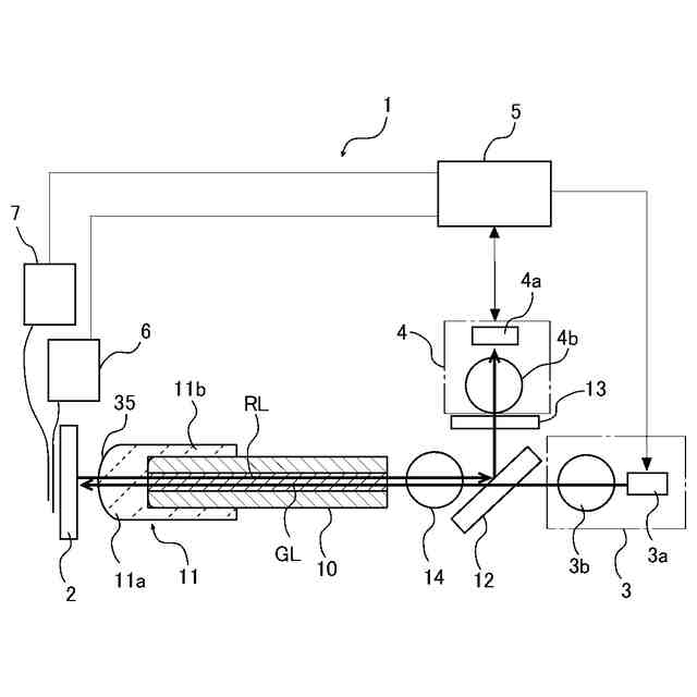
【課題】励起光が入射されると蛍光を発する格子欠陥を有する素子に光ファイバ及びレンズを介して励起光を照射する構造でも、光結合状態を安定させることができ、かつ光結合効率を高めることができる、光ファイバ型センサ及びその製造方法を提供する。
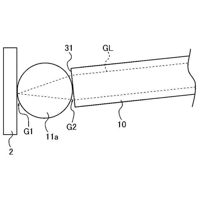
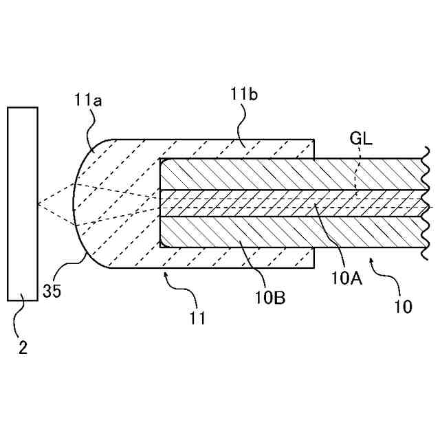
【解決手段】励起光GLを照射する光源3と、励起光GLが入射する光ファイバ10と、レンズ11aと、励起光GLが入射されると蛍光RLを発するカラーセンタを有するダイヤモンド基板2と、蛍光RLの強度を計測する計測部4とを備える光ファイバ型センサ1であって、レンズ11aは、ダイヤモンド基板2と離間して蛍光RLをダイヤモンド基板2上で集光させ、光ファイバ10は、レンズ11aに未接触の状態で、他端が凸状で、光ファイバ10とレンズ11aとを突き合わせ凸状部を平坦に変形させることで光ファイバ10とレンズ11aとが接続されたものである。
【選択図】図1
特許請求の範囲
【請求項1】
励起光を照射する光源と、前記励起光の光路上に設けられ前記励起光が一端に入射する光ファイバと、前記光ファイバの他端に接触する接触面を有し、前記光ファイバを介して入射された前記励起光を集光するレンズを有する集光素子と、前記集光素子から前記励起光が入射されると蛍光を発する格子欠陥を有する素子と、前記蛍光の強度を計測する計測部とを備える光ファイバ型センサであって、
前記レンズは、前記素子と離間して設けられ、前記励起光を前記素子上で集光させるものであり、
前記光ファイバが前記レンズに未接触の状態で、前記光ファイバの前記他端、及び前記レンズの前記接触面の少なくとも一方が凸状であり、
前記光ファイバと前記レンズとを突き合わせて凸状の部分の少なくとも一部を平坦な形状に変形させることで前記光ファイバの前記他端と前記レンズとが接続されたものであることを特徴とする、光ファイバ型センサ。
続きを表示(約 810 文字)
【請求項2】
前記光ファイバが前記レンズに未接触の状態で、前記光ファイバの前記他端が凸状であり、前記レンズの前記接触面が平坦である、請求項1に記載の光ファイバ型センサ。
【請求項3】
前記光ファイバが前記レンズに未接触の状態で、前記光ファイバの前記他端が平坦であり、前記レンズの前記接触面が凸状である、請求項1に記載の光ファイバ型センサ。
【請求項4】
前記光ファイバが前記レンズに未接触の状態で、前記光ファイバの前記他端、及び前記レンズの前記接触面の両方が凸状である、請求項1に記載の光ファイバ型センサ。
【請求項5】
前記レンズの一端の外周から突設された筒状の外形を有し、かつ前記レンズと一体化して設けられ、前記光ファイバの前記他端をガイドする筒状のフェルールを備える、請求項1~4のいずれか一項に記載の光ファイバ型センサ。
【請求項6】
励起光を照射する光源と、前記励起光の光路上に設けられ前記励起光が一端に入射する光ファイバと、前記光ファイバの他端に接触する接触面を有し、前記光ファイバを介して入射された前記励起光を集光するレンズを有する集光素子と、前記集光素子から前記励起光が入射されると蛍光を発する格子欠陥を有する素子と、前記蛍光の強度を計測する計測部とを備える光ファイバ型センサの製造方法であって、
前記レンズとして、前記素子と離間して設けられ、前記励起光を前記素子上で集光させるものを用い、
前記光ファイバ及び前記素子として、互いに未接触の状態で、前記光ファイバの前記他端、及び前記素子の前記接触面の少なくとも一方が凸状のものを用い、
前記光ファイバと前記レンズとを突き合わせて凸状の部分を平坦な形状に変形させることで前記光ファイバの前記他端と前記レンズとを接続することを特徴とする、光ファイバ型センサの製造方法。
発明の詳細な説明
【技術分野】
【0001】
本発明は、光ファイバ型センサ及び光ファイバ型センサの製造方法に関する。
続きを表示(約 2,400 文字)
【背景技術】
【0002】
カラーセンタを有する1つの材料である、NVセンタを有するダイヤモンド基板のように、蛍光を発する格子欠陥を有する素子を用いて光検出磁気共鳴(ODMR:Optically Detected Magnetic Resonance)の原理により磁場強度を計測するセンサが知られている(例えば、特許文献1参照)。このセンサでは、励起光としての緑色光をNVセンタに照射すると共にマイクロ波を周波数掃引し、NVセンタから発せられる赤色の蛍光を検出する。このセンサでは、共鳴周波数のマイクロ波がNVセンタに照射されると、NVセンタにおいて電子スピン共鳴が生じてNVセンタから発せられる蛍光の強度が低下する。ここで、磁場がNVセンタにゼーマン分裂を生じさせることにより、マイクロ波の周波数掃引時に分裂したエネルギー準位の数に応じて少なくとも2点の蛍光の強度低下点が生じる。NVセンタにおけるゼーマン分裂は、磁場強度に比例した大きさで生じるので、2点の蛍光の強度低下点に対応するマイクロ波の周波数の差(以下、共鳴周波数差という)は、磁場強度に比例して大きくなる。これにより、共鳴周波数差に基づいて磁場強度を検出できる。
【0003】
特許文献1に記載のセンサでは、励起光を、光ファイバとレンズとを介して、光源からダイヤモンド基板まで伝搬させている。具体的にはレンズの先端に励起光を集光させ、かつ励起光を集光させたレンズの先端をダイヤモンド基板に接触させることでダイヤモンド基板に励起光を入射させている。このようにレンズを介して光ファイバと基板とを接続する場合は、レンズの先端を基板に接触させる場合がある(特許文献2)。
【0004】
なお、光ファイバを他の光学素子と接合する手段としては、光ファイバの先端を球状に加工した先球ファイバと呼ばれる構造を用いるものもある(特許文献3、4)。
【先行技術文献】
【特許文献】
【0005】
国際公開第2022/163677号
特開2017-167260号公報
特開2007-188107号公報
特開昭64-29809号公報
【発明の概要】
【発明が解決しようとする課題】
【0006】
特許文献1及び特許文献2に記載のようにレンズの先端を基板に接触させる構造では、光ファイバの光軸が傾く等してレンズにおける集光位置が基板に接触する位置からずれると集光位置と基板との間に隙間が生じてフレネル反射損失が大きくなる。フレネル反射損失が大きくなると、ダイヤモンド基板への励起光の入射、及び光ファイバへの蛍光の入射の効率が低下する。そのため、特許文献1及び特許文献2の構造では光結合状態が安定しない問題があった。一方で、特許文献3及び特許文献4に記載のように先球ファイバを用いて光学素子同士を結合する場合は、光ファイバの先端を球状に加工する際に光ファイバの先端を加熱して溶融させる必要があり、先端の形状制御が難しく、レンズ形状を選択的に制御できないため、光結合効率が低かった。
【0007】
本発明は、上記事情に鑑み、励起光が入射されると蛍光を発する格子欠陥を有する素子に光ファイバ及びレンズを介して励起光を照射する構造でも、光結合状態を安定させることができ、かつ光結合効率を高めることができる光ファイバ型センサ及びその製造方法を提供することを目的とする。
【課題を解決するための手段】
【0008】
本発明の光ファイバ型センサは、励起光を照射する光源と、前記励起光の光路上に設けられ前記励起光が一端に入射する光ファイバと、前記光ファイバの他端に接触する接触面を有し、前記光ファイバを介して入射された前記励起光を集光するレンズを有する集光素子と、前記集光素子から前記励起光が入射されると蛍光を発する格子欠陥を有する素子と、前記蛍光の強度を計測する計測部とを備える光ファイバ型センサであって、前記レンズは、前記素子と離間して設けられ、前記励起光を前記素子上で集光させるものであり、前記光ファイバが前記レンズに未接触の状態で、前記光ファイバの前記他端、及び前記レンズの前記接触面の少なくとも一方が凸状であり、前記光ファイバと前記レンズとを突き合わせて凸状の部分の少なくとも一部を平坦な形状に変形させることで前記光ファイバの前記他端と前記レンズとが接続されたものである。
【0009】
本発明の光ファイバ型センサの製造方法は、励起光を照射する光源と、前記励起光の光路上に設けられ前記励起光が一端に入射する光ファイバと、前記光ファイバの他端に接触する接触面を有し、前記光ファイバを介して入射された前記励起光を集光するレンズを有する集光素子と、前記集光素子から前記励起光が入射されると蛍光を発する格子欠陥を有する素子と、前記蛍光の強度を計測する計測部とを備える光ファイバ型センサの製造方法であって、前記レンズとして、前記素子と離間して設けられ、前記励起光を前記素子上で集光させるものを用い、前記光ファイバ及び前記素子として、互いに未接触の状態で、前記光ファイバの前記他端、及び前記素子の前記接触面の少なくとも一方が凸状のものを用い、前記光ファイバと前記レンズとを突き合わせて凸状の部分を平坦な形状に変形させることで前記光ファイバの前記他端と前記レンズとを接続する。
【発明の効果】
【0010】
本発明によれば、励起光が入射されると蛍光を発する格子欠陥を有する素子に光ファイバ及びレンズを介して励起光を照射する構造でも、光結合状態を安定させることができ、かつ光結合効率を高めることができる光ファイバ型センサ及びその製造方法を提供できる。
【図面の簡単な説明】
(【0011】以降は省略されています)
この特許をJ-PlatPat(特許庁公式サイト)で参照する
関連特許
矢崎総業株式会社
箱状体
12日前
矢崎総業株式会社
箱状体
12日前
矢崎総業株式会社
コネクタ
12日前
矢崎総業株式会社
コネクタ
19日前
矢崎総業株式会社
コネクタ
12日前
矢崎総業株式会社
コネクタ
13日前
矢崎総業株式会社
コネクタ
19日前
矢崎総業株式会社
コネクタ
11日前
矢崎総業株式会社
コネクタ
10日前
矢崎総業株式会社
コネクタ
13日前
矢崎総業株式会社
コネクタ
13日前
矢崎総業株式会社
コネクタ
6日前
矢崎総業株式会社
止水部材
17日前
矢崎総業株式会社
バスバー
3日前
矢崎総業株式会社
コネクタ
17日前
矢崎総業株式会社
照明構造
17日前
矢崎総業株式会社
コネクタ
17日前
矢崎総業株式会社
電気接続箱
12日前
矢崎総業株式会社
ゴムブーツ
17日前
矢崎総業株式会社
電気接続箱
12日前
矢崎総業株式会社
電気接続箱
12日前
矢崎総業株式会社
プロテクタ
17日前
矢崎総業株式会社
端子付き電線
4日前
矢崎総業株式会社
電流検出装置
19日前
矢崎総業株式会社
フラット導体
12日前
矢崎総業株式会社
ワイヤハーネス
6日前
矢崎総業株式会社
バスバ配置構造
12日前
矢崎総業株式会社
バスバ配置構造
4日前
矢崎総業株式会社
コネクタユニット
18日前
矢崎総業株式会社
クランプ固定構造
4日前
矢崎総業株式会社
ワイヤーハーネス
6日前
矢崎総業株式会社
ワイヤーハーネス
6日前
矢崎総業株式会社
箱状体、及び、電気接続箱
12日前
矢崎総業株式会社
導体保持構造及び電気接続箱
5日前
矢崎総業株式会社
バッテリシェアリングシステム
13日前
矢崎総業株式会社
コネクタ製造装置及びコネクタ
4日前
続きを見る
他の特許を見る