TOP
|
特許
|
意匠
|
商標
特許ウォッチ
Twitter
他の特許を見る
公開番号
2025157758
公報種別
公開特許公報(A)
公開日
2025-10-16
出願番号
2024059974
出願日
2024-04-03
発明の名称
ステータの構造
出願人
トヨタ自動車株式会社
代理人
弁理士法人明成国際特許事務所
主分類
H02K
1/18 20060101AFI20251008BHJP(電力の発電,変換,配電)
要約
【課題】分割コアをケースに固定する際に、位置決めの精度を向上させ、鉄損の悪化を抑制する技術を提供する。
【解決手段】ステータの構造は、複数のコアと、複数のコアが、互いの分割面において対向した状態で圧入により固定されるケースと、固定具と、を有し、複数のコアはそれぞれ、分割面の外周側に嵌合部を有し、複数のコアのうちで隣り合う2つのコアにおいて、嵌合部は、固定具により固定される。
【選択図】図1
特許請求の範囲
【請求項1】
ステータの構造であって、
複数のコアと、
前記複数のコアが、互いの分割面において対向した状態で圧入により固定されるケースと、
固定具と、を有し、
前記複数のコアはそれぞれ、前記分割面の外周側に嵌合部を有し、
前記複数のコアのうちで隣り合う2つの前記コアにおいて、前記嵌合部は、前記固定具により固定される、ステータの構造。
続きを表示(約 330 文字)
【請求項2】
請求項1に記載のステータの構造であって、
前記複数のコアは、第1分割コアと、第2分割コアとによって構成される、ステータの構造。
【請求項3】
請求項1に記載のステータの構造であって、
前記ケースは、前記嵌合部と嵌合するケース側嵌合部を有する、ステータの構造。
【請求項4】
請求項1に記載のステータの構造であって、
前記嵌合部は突起を有し、
前記固定具はクリップである、ステータの構造。
【請求項5】
請求項3に記載のステータの構造であって、
前記嵌合部は突起を有し、
前記ケース側嵌合部は、前記突起と嵌合する溝部を有する、ステータの構造。
発明の詳細な説明
【技術分野】
【0001】
本開示は、ステータの構造に関する。
続きを表示(約 2,000 文字)
【背景技術】
【0002】
従来、回転電機に用いられるステータコアとしての分割コアを組み立て、固定する技術が知られている。例えば、特許文献1には、24個の分割コアを環状に組み立て、焼き嵌めリングを嵌めて分割コアを固定する技術が開示されている。
【先行技術文献】
【特許文献】
【0003】
特開2013―158159号公報
【発明の概要】
【発明が解決しようとする課題】
【0004】
特許文献1においては、焼き嵌めにより分割コアが焼き嵌めリングに固定されている。このため、焼き嵌めの際に生じる圧縮応力により鉄損が悪化するという課題が生じ得る。また、分割コアの数が24個と多いため、分割コアの外形と焼き嵌めリングの内径との位置決めの精度が低下するという課題が生じ得る。本開示は上記課題の少なくとも一つを解決する。
【課題を解決するための手段】
【0005】
本開示は、以下の形態として実現することが可能である。
【0006】
(1)本開示の第1形態によれば、ステータの構造が提供される。このステータの構造は、複数のコアと、前記複数のコアが、互いの分割面において対向した状態で圧入により固定されるケースと、固定具と、を有し、前記複数のコアはそれぞれ、前記分割面の外周側に嵌合部を有し、前記複数のコアのうちで隣り合う2つの前記コアにおいて、前記嵌合部は、前記固定具により固定される。
この形態によれば、複数のコアは圧入によりケースに固定される。これにより、鉄損の悪化を抑制することができる。
(2)上記形態において、前記複数のコアは、第1分割コアと、第2分割コアとによって構成されていてもよい。
この形態によれば、分割コアの数が2個と少ないため、分割コアの外形とケースの内径との位置決めの精度を上げることができる。
(3)上記形態において、前記ケースは、前記嵌合部と嵌合するケース側嵌合部を有していてもよい。
この形態によれば、複数のコアが有する嵌合部と、ケースが有するケース側嵌合部とが嵌合することができる。
(4)上記形態において、前記嵌合部は突起を有し、前記固定具はクリップであってもよい。
この形態によれば、隣り合う突起同士をクリップを用いて容易に固定することができる。
(5)上記形態において、前記嵌合部は突起を有し、前記ケース側嵌合部は、前記突起と嵌合する溝部を有していてもよい。
この形態によれば、複数のコアが有する突起と、ケースが有する溝部とが嵌合することができる。
本開示は、種々の形態で実現することが可能であり、上記の形態の他に、ステータの製造方法等の形態で実現することができる。
【図面の簡単な説明】
【0007】
第1実施形態におけるステータの平面図。
図1のII-II断面図。
ステータの製造工程を示すフローチャート。
他の実施形態1におけるステータコアの平面図。
他の実施形態2におけるステータコアの平面図。
【発明を実施するための形態】
【0008】
A.第1実施形態:
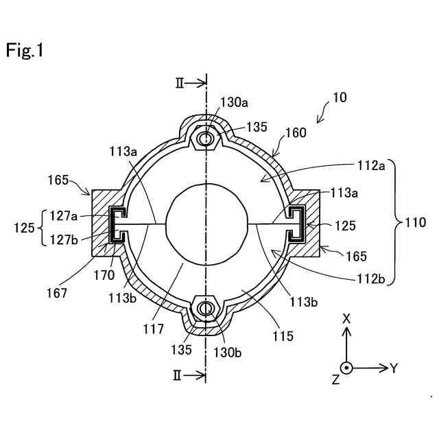
図1は、本実施形態におけるステータ10の平面図である。図2は、図1のII-II断面図である。なお、図1および図2には、XYZ三次元座標が規定されている。X方向とY方向とは水平方向である。Z方向は上下方向であり、+Z方向が上方向、-Z方向が下方向である。また、図1および図2には、後述するケースにハッチングを付している。
【0009】
本実施形態におけるステータ10は、例えば、電気自動車やハイブリッド自動車の走行に使用するための回転電機に搭載される。図1に示すように、ステータ10は、ステータコア110と、ケース160と、固定具170と、を有する。
【0010】
図1に示すように、ステータコア110は、円環状の外形を有する。ステータコア110は、複数の分割コア112が周方向に複数連結することで形成される。本実施形態では、分割コア112の数は2つである。本実施形態において、ステータコア110は、第1分割コア112aと第2分割コア112bとによって構成される。第1分割コア112aと第2分割コア112bは、同一の形状を有している。第1分割コア112aと第2分割コア112bはそれぞれ、Y方向とZ方向とに平行な所定面で半分にステータコア110を分割した構造を有している。なお、複数の分割コア112の数は2以上の整数であればよく、上記のように2つに限られない。また、以降の説明において、第1分割コア112aと第2分割コア112bとを特に区別しない場合、単に「分割コア112」と記載する。
(【0011】以降は省略されています)
この特許をJ-PlatPat(特許庁公式サイト)で参照する
関連特許
個人
単極モータ
27日前
個人
電気を重力で発電装置
4日前
キヤノン電子株式会社
モータ
3日前
キヤノン電子株式会社
モータ
11日前
株式会社アイシン
ロータ
27日前
株式会社アイシン
ロータ
1か月前
日星電気株式会社
ケーブル組立体
19日前
コーセル株式会社
電源装置
12日前
トヨタ自動車株式会社
モータ
3日前
株式会社デンソー
回転機
25日前
株式会社アイシン
ステータ
1か月前
個人
二次電池繰返パルス放電器用印刷基板
17日前
株式会社kaisei
発電システム
27日前
株式会社ミツバ
回転電機
24日前
株式会社デンソー
電力変換装置
18日前
株式会社デンソー
電力変換装置
26日前
株式会社デンソー
非接触受電装置
20日前
トヨタ自動車株式会社
固定子の加熱装置
14日前
株式会社ダイヘン
インバータ装置
26日前
矢崎総業株式会社
ワイヤーハーネス
27日前
山洋電気株式会社
モータ
17日前
トヨタ自動車株式会社
ステータの製造装置
4日前
株式会社デンソー
ステータ及びモータ
27日前
株式会社アイシン
電力変換装置
3日前
株式会社明治ゴム化成
ワイヤレス給電用部品
13日前
個人
電線盗難防止方法及び電線盗難防止装置
11日前
株式会社TMEIC
電力変換装置
24日前
トヨタ紡織株式会社
ロータの製造装置
12日前
トヨタ自動車株式会社
可変界磁ロータ
6日前
株式会社マキタ
電動作業機
11日前
株式会社竹内製作所
作業用車両
1か月前
大阪瓦斯株式会社
充放電中継装置
4日前
トヨタ自動車株式会社
車両照合システム
11日前
豊田合成株式会社
車両用非接触充電装置
3日前
ニデック株式会社
回転電機
1か月前
ルネサスエレクトロニクス株式会社
半導体装置
3日前
続きを見る
他の特許を見る