TOP
|
特許
|
意匠
|
商標
特許ウォッチ
Twitter
他の特許を見る
公開番号
2025155579
公報種別
公開特許公報(A)
公開日
2025-10-14
出願番号
2024162520,2024052535
出願日
2024-09-19,2024-03-27
発明の名称
配管機器
出願人
旭有機材株式会社
代理人
個人
,
個人
,
個人
主分類
F16K
27/00 20060101AFI20251002BHJP(機械要素または単位;機械または装置の効果的機能を生じ維持するための一般的手段)
要約
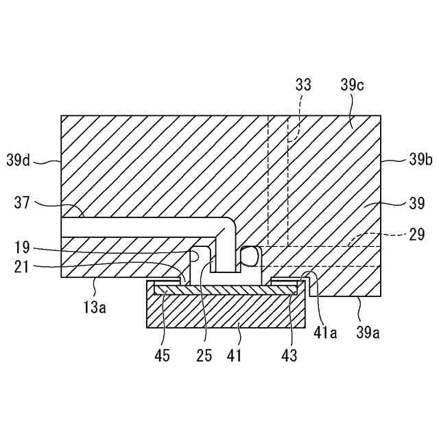
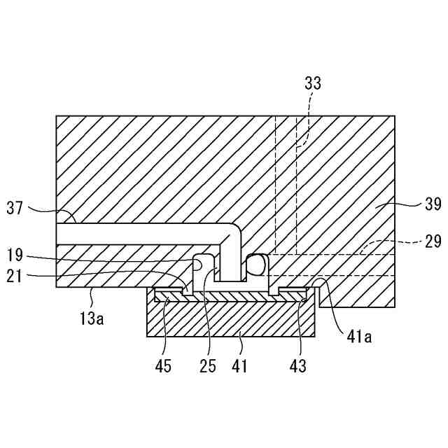
【課題】配管機器において二つの部材を隙間なく且つ段差部を生じさせずに接続する。
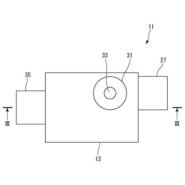
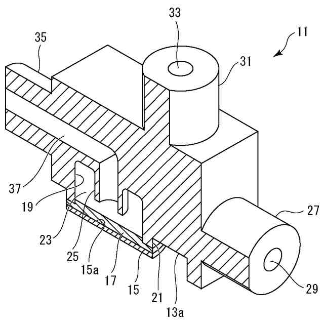
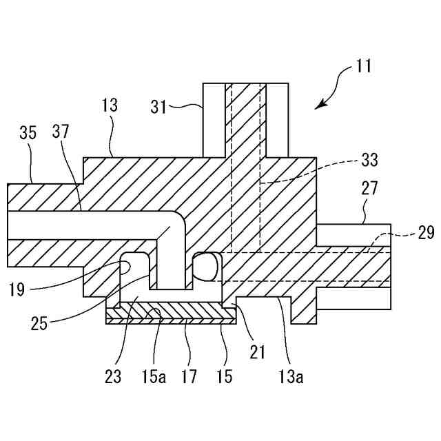
【解決手段】配管機器は、第1のフッ素樹脂材料から形成され、第1の境界面13aを有する本体13と、第2のフッ素樹脂材料から形成され、第2の境界面15aを有する接合部材15と、第3のフッ素樹脂材料から形成され、第2の境界面15aを介して接合部材15と一体的に成形された中間部材17とを備える。本体13が第1の境界面13aに開口する凹部19を有し、中間部材17の厚さよりも低い長さだけ突出する筒壁部21が凹部19の開口の周囲に沿って設けられている。第1のフッ素樹脂材料及び第2のフッ素樹脂材料が第3のフッ素樹脂材料の融点で非溶融性を呈する非溶融性フッ素樹脂材料であり、中間部材17は、筒壁部21の少なくとも先端部が中間部材に沈み込んだ状態で、本体13と一体化されて成形され、中間部材と凹部とによって空間部を形成している。
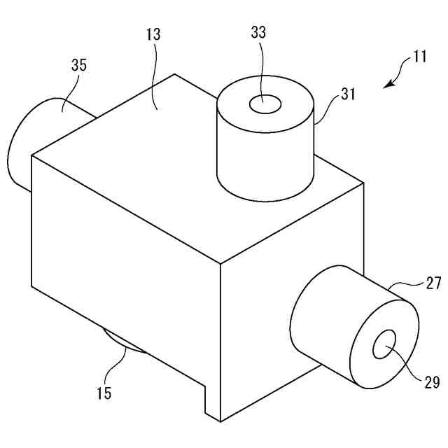
【選択図】図3
特許請求の範囲
【請求項1】
第1のフッ素樹脂材料から形成され、第1の境界面を有する本体と、
第2のフッ素樹脂材料から形成され、第2の境界面を有する接合部材と、
熱融着性の第3のフッ素樹脂材料から形成され、前記第2の境界面を介して前記接合部材と一体的に成形された中間部材と、
を備え、前記本体が前記第1の境界面に開口する凹部を有し、前記第1の境界面から前記中間部材の厚さよりも低い長さだけ突出する環状の筒壁部が前記凹部の開口の周囲に沿って設けられており、前記第1のフッ素樹脂材料及び前記第2のフッ素樹脂材料が前記第3のフッ素樹脂材料の融点で非溶融性を呈する非溶融性フッ素樹脂材料であり、前記中間部材は、前記筒壁部の少なくとも先端部が前記中間部材に沈み込んだ状態で、前記本体と一体化されて成形され、前記中間部材と前記凹部とによって空間部を形成していることを特徴とする配管機器。
続きを表示(約 380 文字)
【請求項2】
前記本体に、前記空間部に連通する流入流路及び流出流路とが形成されている、請求項1に記載の配管機器。
【請求項3】
前記中間部材がフィルム状又は板状である、請求項2に記載の配管機器。
【請求項4】
前記中間部材の厚さが50μmから100mmの範囲である、請求項1から請求項3の何れか一項に記載の配管機器。
【請求項5】
前記筒壁部が前記中間部材に沈み込んでいる部分の長さが0.5μmから95mmの範囲である、請求項4に記載の配管機器。
【請求項6】
前記第1のフッ素樹脂材料及び前記第2のフッ素樹脂材料がPTFEである、請求項1から請求項3の何れか一項に記載の配管機器。
【請求項7】
前記第3のフッ素樹脂材料はPFA又は変性PTFEである、請求項6に記載の配管機器。
発明の詳細な説明
【技術分野】
【0001】
本発明は、流体が流れる流路が内部に設けられており且つ配管の一部を構成する配管機器に関する。
続きを表示(約 2,200 文字)
【背景技術】
【0002】
化学工場、半導体製造分野、食品分野、医療分野、バイオ分野などの各種産業分野では、流体を流通させるために、例えばバルブ装置や流体混合器など、流路が内部に設けられ配管の一部として使用される様々な配管機器が使用されている。特に、半導体製造分野の配管機器では、劇薬である強酸類などを薬液として使用することが多いため、外部に薬液を漏出させないシール構造、いわゆる外部シール構造、が採用されている。
【0003】
一般的に、このような外部シール構造は、切削加工された部品同士を組み合わせて構成される。しかしながら、このような構造では、当接する面同士が加工誤差により僅かに歪んだだけでも、隙間が生じて流路内に滞留部が形成されてしまい、歩留まり悪化の原因となる。このため、例えば流路の一部に形成され且つ外部に開口する凹部を他の部材で閉鎖する場合、二つ部材の対向面の間にダイヤフラムやパッキンのような弾力性を有する部材を挟持することにより、隙間を生じることなく二つの部材の間をシールするようにすることが多い。また、ダイヤフラムのような部材を二つの部材の対向面の間に挟持できないような場合には、例えば特許文献1に記載の流量制御バルブのように、二つの部材の当接面同士を融点以上に加熱して溶着により一体化させる方法などが採用されることがある。
【先行技術文献】
【特許文献】
【0004】
特許第7146204号公報
【発明の概要】
【発明が解決しようとする課題】
【0005】
特許文献1に記載のように、二つの当接部材の当接面同士を加熱して溶着させる方法では、各部材の材料が融点以上に加熱されて流動化するので、二つの当接面を圧接したときに流動化した材料が二つの部材の間から流路内にはみ出て段差部を形成してしまうことがある。このような段差部は流路内で薬液の滞留部を生じさせてしまい、同様に、歩留まり悪化の原因となる。
【0006】
よって、本発明の目的は、従来技術に存する問題を解決するために、配管機器において二つの部材を隙間なく且つ段差部を生じさせずに接続することにある。
【課題を解決するための手段】
【0007】
本発明は、上記目的に鑑み、第1のフッ素樹脂材料から形成され、第1の境界面を有する本体と、第2のフッ素樹脂材料から形成され、第2の境界面を有する接合部材と、熱融着性の第3のフッ素樹脂材料から形成され、前記第2の境界面を介して前記接合部材と一体的に成形された中間部材とを備え、前記本体が前記第1の境界面に開口する凹部を有し、前記第1の境界面から前記中間部材の厚さよりも低い長さだけ突出する環状の筒壁部が前記凹部の開口の周囲に沿って設けられており、前記第1のフッ素樹脂材料及び前記第2のフッ素樹脂材料が前記第3のフッ素樹脂材料の融点で非溶融性を呈する非溶融性フッ素樹脂材料であり、前記中間部材は、前記筒壁部の少なくとも先端部が前記中間部材に沈み込んだ状態で、前記本体と一体化されて成形され、前記中間部材と前記凹部とによって空間部を形成している配管機器を提供する。
【0008】
上記配管機器では、本体を形成する第1のフッ素樹脂材料と接合部材を形成する第2のフッ素樹脂材料とが中間部材を形成する第3のフッ素樹脂材料の融点で非溶融性を呈するフッ素樹脂材料からなる。したがって、第3のフッ素樹脂材料の融点まで加熱しても、本体及び接合部材は形状を維持することができ、本体の凹部の開口に沿って設けられた筒壁部の少なくとも一部が中間部材に沈み込んだ状態で、中間部材と本体とを一体化させて成形することが可能である。前述したように、本体に設けられた環状の筒壁部の少なくとも先端部が接合部材と一体的に成形された中間部材に沈み込んだ状態で中間部材と本体とが一体化されて成形されていれば、本体の筒壁部の少なくとも先端部の内周面及び先端面(頂面)が接合部材と一体的に成形された中間部材と一体化されていることになる。この結果、本体の第1の境界面と中間部材との間に仮に隙間が生じていても、本体の筒壁部と中間部材との間が確実に封止された状態となるので、本体の凹部と中間部材とによって形成された空間部が本体と中間部材及び接合部材との間では外部から封止された状態となり、空間部内の流体が外部に漏出することが確実に防止される。また、筒壁部は凹部の開口部の周囲に沿って形成されているので、空間部において本体と中間部材との連結部において段差が形成されず、滞留部も生じない。なお、本願において、筒壁部の先端部が中間部材に沈み込んだ状態とは、筒壁部の少なくとも先端面(頂面)及び内周面が中間部材に隙間なく接している状態を意味し、筒壁部の外周面が中間部材に接していない状態を含む。
【0009】
上記配管機器では、前記本体に、前記空間部に連通する流入流路及び流出流路とが形成されているようにすることができる。
【0010】
上記配管機器では、前記中間部材がフィルム状又は板状であることが好ましい。
(【0011】以降は省略されています)
この特許をJ-PlatPat(特許庁公式サイト)で参照する
関連特許
旭有機材株式会社
配管機器
1か月前
旭有機材株式会社
2層鋳型及びその製造方法
12日前
旭有機材株式会社
薬液組成物及び空隙充填用組成物
1か月前
旭有機材株式会社
ポリウレタンフォーム及びその製造方法
2か月前
旭有機材株式会社
配管機器
1か月前
旭有機材株式会社
レジンコーテッドサンド用樹脂組成物及びレジンコーテッドサンド
1か月前
旭有機材株式会社
レジンコーテッドサンド用樹脂組成物及びレジンコーテッドサンド
1か月前
旭有機材株式会社
新規ベンゾオキサジン化合物、それを含む樹脂原料組成物及び硬化性樹脂組成物並びに硬化物
25日前
個人
留め具
1か月前
個人
鍋虫ねじ
3か月前
個人
ホース保持具
7か月前
個人
回転伝達機構
3か月前
個人
紛体用仕切弁
3か月前
個人
差動歯車用歯形
5か月前
個人
トーションバー
7か月前
個人
給排気装置
1か月前
個人
ジョイント
2か月前
株式会社不二工機
電磁弁
6か月前
株式会社不二工機
電磁弁
4か月前
個人
ナット
19日前
個人
ナット
2か月前
個人
地震の揺れ回避装置
4か月前
個人
吐出量監視装置
2か月前
個人
ゲート弁バルブ
4日前
カヤバ株式会社
ダンパ
5か月前
柿沼金属精機株式会社
分岐管
3か月前
カヤバ株式会社
緩衝器
4か月前
カヤバ株式会社
緩衝器
4か月前
カヤバ株式会社
緩衝器
1か月前
兼工業株式会社
バルブ
20日前
カヤバ株式会社
ダンパ
5か月前
株式会社三協丸筒
枠体
8か月前
株式会社ニフコ
クリップ
1か月前
株式会社フジキン
ボールバルブ
5か月前
株式会社ノーリツ
分配弁
1か月前
株式会社タカギ
水栓装置
3か月前
続きを見る
他の特許を見る