TOP
|
特許
|
意匠
|
商標
特許ウォッチ
Twitter
他の特許を見る
公開番号
2025155316
公報種別
公開特許公報(A)
公開日
2025-10-14
出願番号
2024059091
出願日
2024-04-01
発明の名称
衣類処理装置
出願人
東芝ライフスタイル株式会社
代理人
弁理士法人 快友国際特許事務所
主分類
D06F
39/00 20240101AFI20251006BHJP(繊維または類似のものの処理;洗濯;他に分類されない可とう性材料)
要約
【課題】簡潔な構成で衣類を良好な状態にすることができる技術を提供する。
【解決手段】衣類処理装置は、衣類を収容可能な収容槽と、収容槽から排出される空気を循環させて再び収容槽内に戻す乾燥風路と、乾燥風路内の空気を送風する送風ファンと、乾燥風路内に薬剤を滴下する滴下装置と、を備える。
【選択図】図3
特許請求の範囲
【請求項1】
衣類を収容可能な収容槽と、
前記収容槽から排出される空気を循環させて再び前記収容槽内に戻す乾燥風路と、
前記乾燥風路内の空気を送風する送風ファンと、
前記乾燥風路内に薬剤を滴下する滴下装置と、を備える衣類処理装置。
続きを表示(約 470 文字)
【請求項2】
前記滴下装置は、薬剤を滴下するノズルと、前記ノズルから滴下された薬剤が通過する滴下口と、前記滴下口を開閉する開閉弁と、を備える、請求項1に記載の衣類処理装置。
【請求項3】
前記滴下装置は、前記送風ファンよりも前記乾燥風路の風下側において薬剤を滴下する、請求項1又は2に記載の衣類処理装置。
【請求項4】
前記滴下装置から滴下された薬剤を受け入れるために前記滴下装置と対向する位置に設けられている受け部を更に備える、請求項1又は2に記載の衣類処理装置。
【請求項5】
前記受け部は、薬剤を受け入れる部分よりも前記乾燥風路の風下側に設けられている凸部を備える、請求項4に記載の衣類処理装置。
【請求項6】
前記滴下装置により前記乾燥風路内に薬剤を滴下する滴下工程と、
前記送風ファンにより前記乾燥風路内の空気を送風する送風工程と、を実行可能であり、
前記滴下工程と前記送風工程が交互に実行される、請求項1又は2に記載の衣類処理装置。
発明の詳細な説明
【技術分野】
【0001】
本明細書に開示する技術は、衣類処理装置に関する。
続きを表示(約 1,500 文字)
【背景技術】
【0002】
特許文献1に衣類処理装置が開示されている。特許文献1の衣類処理装置は、衣類を収容可能な収容槽と、収容槽から排出される空気を循環させて再び収容槽内に戻す乾燥風路と、乾燥風路内の空気を送風する送風ファンとを備えている。また、特許文献1の衣類処理装置は、乾燥風路内に濡れ性に富むウェットミストを主体とするミストを発生させて送風ファンによる送風により収容槽内にミストが導入されるようにするミスト供給部を備えている。
【先行技術文献】
【特許文献】
【0003】
特許第4946766号公報
【発明の概要】
【発明が解決しようとする課題】
【0004】
特許文献1の衣類処理装置では、濡れ性に富むウェットミストを発生させるための構成が必要なので装置が複雑になる。本明細書は、簡潔な構成で衣類を良好な状態にすることができる技術を提供する。
【課題を解決するための手段】
【0005】
本明細書が開示する衣類処理装置は、衣類を収容可能な収容槽と、前記収容槽から排出される空気を循環させて再び前記収容槽内に戻す乾燥風路と、前記乾燥風路内の空気を送風する送風ファンと、前記乾燥風路内に薬剤を滴下する滴下装置と、を備える。
【図面の簡単な説明】
【0006】
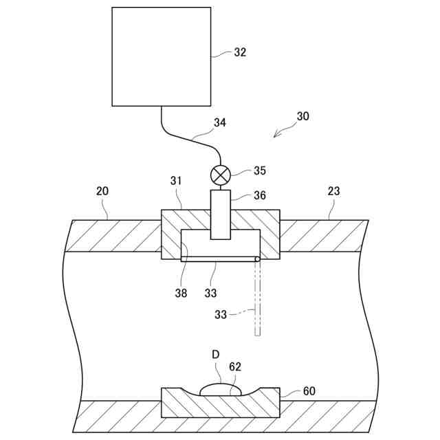
実施例の衣類処理装置を模式的に示す正面図。
実施例の衣類処理装置を模式的に示す断面図(図1のII-II断面図)。
実施例の滴下装置を模式的に示す断面図。
変形例の滴下装置を模式的に示す断面図。
他の変形例の滴下装置を模式的に示す断面図。
【発明を実施するための形態】
【0007】
実施例の衣類処理装置2について図面を参照して説明する。図1及び図2に示すように、実施例の衣類処理装置2は、筐体4と、筐体4内に配置されている水槽10と、水槽10内に配置されている収容槽12と、筐体4内に配置されている制御部100とを備えている。また、衣類処理装置2は、水槽10に接続されている給水路50、排水路55、及び、乾燥風路20を備えている。更に、衣類処理装置2は、乾燥風路20内に薬剤を滴下する滴下装置30を備えている。
【0008】
実施例の衣類処理装置2は、収容槽12内に収容された衣類を洗濯する洗濯運転と、収容槽12内に収容された衣類を乾燥させる乾燥運転とを実行可能な洗濯乾燥機である。衣類処理装置2の筐体4は、水槽10と収容槽12を収容している。筐体4の前面部には、収容槽12内の衣類を出し入れするための開口部42が設けられている。開口部42は、水槽10内及び収容槽12内と連通している。また、筐体4の前面部には、開口部42を開閉する扉40が設けられている。
【0009】
筐体4内の水槽10と収容槽12は、水平に対して傾斜した状態で配置されている。実施例の衣類処理装置2は、いわゆる斜めドラム式の構成である。水槽10は、衣類処理用の水を貯留可能である。水槽10内に配置されている収容槽12は、衣類処理装置2の洗濯運転及び乾燥運転において衣類を収容可能である。収容槽12は、回転可能な状態で水槽10内に配置されており、モータ14の駆動により回転する。
【0010】
給水路50は、上流端部が給水源(例えば、水道)に接続されており、下流端部が水槽10の上部に接続されている。給水路50は、給水源から供給される水を水槽10内に供給する。給水路50には給水弁52が設けられており、給水弁52が開弁すると水槽10内に水が供給される。
(【0011】以降は省略されています)
この特許をJ-PlatPat(特許庁公式サイト)で参照する
関連特許
個人
洗濯装置
2か月前
個人
ハンガー保持具
4か月前
個人
洗濯物干しハンガー
2日前
東レ株式会社
繊維断面の検査方法
1か月前
株式会社青柳
染め加工方法
1か月前
日本バイリーン株式会社
内装用表面材
4か月前
有限会社高田紙器製作所
紙製洗濯バサミ
3か月前
東レ株式会社
ゴム補強用合成繊維コード
1か月前
株式会社槌屋
加飾用表皮材
28日前
東レ株式会社
炭素繊維シートの製造方法
2か月前
東レ株式会社
樹脂含浸繊維束の製造方法
3か月前
花王株式会社
洗浄剤組成物
3か月前
個人
ポリエステル染色物の製造方法
23日前
株式会社大阪ソーダ
撥水撥油性繊維処理剤
2か月前
リンナイ株式会社
衣類乾燥機
22日前
株式会社創和
ボックス状洗濯ネット
1か月前
リンテック株式会社
耐水性基材
27日前
個人
洗濯用洗剤容器の蓋
2か月前
シャープ株式会社
洗濯機
2か月前
株式会社コーワ
フィルター清掃装置及び乾燥機
4か月前
株式会社コーワ
フィルター清掃装置及び乾燥機
4か月前
アイリスオーヤマ株式会社
洗濯機
2日前
日本バイリーン株式会社
表皮材とその製造方法
4か月前
大阪瓦斯株式会社
衣類乾燥機
2か月前
松本油脂製薬株式会社
繊維用処理剤及びその利用
2か月前
大阪瓦斯株式会社
衣類乾燥機
2か月前
大阪瓦斯株式会社
衣類乾燥機
2か月前
個人
開閉角度調整可能な角型折畳みピンチハンガー
2か月前
ダイニック株式会社
ターポリン、及びその製造方法
23日前
シャープ株式会社
洗濯機
3か月前
シャープ株式会社
洗濯機
3か月前
株式会社コーワ
フィルター装置及び洗濯機又は乾燥機
4か月前
シャープ株式会社
洗濯機
3か月前
東レ株式会社
人工皮革およびその製造方法ならびに雑貨
1か月前
東芝ライフスタイル株式会社
洗濯機
2か月前
シャープ株式会社
洗濯機
3か月前
続きを見る
他の特許を見る