TOP
|
特許
|
意匠
|
商標
特許ウォッチ
Twitter
他の特許を見る
公開番号
2025155105
公報種別
公開特許公報(A)
公開日
2025-10-14
出願番号
2024058532
出願日
2024-04-01
発明の名称
超電導コイルの製造方法および超電導コイル
出願人
株式会社東芝
,
東芝エネルギーシステムズ株式会社
代理人
弁理士法人サクラ国際特許事務所
主分類
H01F
6/06 20060101AFI20251006BHJP(基本的電気素子)
要約
【課題】超電導コイルの性能を容易に向上可能な、超電導コイルの製造方法を提供する。
【解決手段】巻線部材作製工程では、超電導線材と共巻線材とを巻回中心軸の周りに共巻きすることによって巻線部材を作製する。共巻線材は、プリプレグ基材とプリプレグ樹脂層とを備えるプリプレグである。ここでは、超電導線材と共巻線材との共巻きを行った後に、プリプレグ樹脂層を溶融させる熱処理を実行することによって、熱処理により溶融したプリプレグ樹脂層が巻線部材のターン間に充填される。
【選択図】図3A
特許請求の範囲
【請求項1】
超電導線材と共巻線材とを巻回中心軸の周りに共巻きすることによって巻線部材を作製する巻線部材作製工程
を有する、超電導コイルの製造方法であって、
前記共巻線材は、
前記巻線部材が作製されたときに、前記巻回中心軸の径方向において内周側に位置する第1のプリプレグ基材表面、および、前記径方向において外周側に位置する第2のプリプレグ基材表面を有するプリプレグ基材と、
前記第1のプリプレグ基材表面と前記第2のプリプレグ基材表面との少なくとも一方を被覆するように樹脂材料で形成されたプリプレグ樹脂層と
を備えるプリプレグであり、
前記巻線部材作製工程では、前記超電導線材と前記共巻線材との共巻きを行った後に、前記プリプレグ樹脂層を溶融させる熱処理を実行することによって、前記熱処理により溶融した前記プリプレグ樹脂層が前記巻線部材のターン間に充填される、
超電導コイルの製造方法。
続きを表示(約 570 文字)
【請求項2】
前記超電導線材は、
前記巻線部材作製工程で前記巻線部材が作製されたときに、前記径方向において内周側に位置する第1の本体表面、および、前記径方向において外周側に位置する第2の本体表面を有する超電導線材本体部と、
前記第1の本体表面と前記第2の本体表面との少なくとも一方を被覆するように絶縁材料で形成されている絶縁被覆層と
を備える、
請求項1に記載の超電導コイルの製造方法。
【請求項3】
前記超電導線材は、
前記第1の本体表面と前記第2の本体表面との少なくとも一方に、離形材料で形成されている離形層
を更に備える、
請求項2に記載の超電導コイルの製造方法。
【請求項4】
前記共巻線材は、
前記巻線部材作製工程で前記巻線部材が作製されたときに、前記巻線部材の巻回方向において、複数の前記プリプレグ樹脂層が間を隔てて位置するように、前記プリプレグ樹脂層が前記プリプレグ基材に形成されている、
請求項1に記載の超電導コイルの製造方法。
【請求項5】
前記巻線部材において前記巻回中心軸の径方向に沿った側面に設置された側板
を備える、
請求項1乃至4のいずれかに記載の超電導コイル。
発明の詳細な説明
【技術分野】
【0001】
本発明の実施形態は、超電導コイルの製造方法および超電導コイルに関する。
続きを表示(約 1,500 文字)
【背景技術】
【0002】
超電導応用機器として、磁気共鳴画像診断装置(MRI;Magnetic Resonance Imaging)、超電導磁気エネルギー貯蔵装置(SMES;Superconducting Magnetic Energy Storage)、および、単結晶引き上げ装置などの機器が実用化されている。超電導応用機器は、超電導線材が巻回された巻線部材を含む超電導コイルを備えている。
【0003】
超電導コイルにおいて巻線部材を作製するときには、例えば、高温かつ高磁場中での臨界電流特性に優れる高温超電導線材が超電導線材として使用される。高温超電導線材は、多層構造のテープ線材であって、中間層、超電導層、保護層等の複数層が金属基板に積層された積層体を含み、その積層体の周囲が安定化層で被覆されている。また、高温超電導線材は、例えば、絶縁層で表面が被覆されている。
【0004】
巻線部材は、熱硬化性樹脂等の樹脂に含浸され、超電導線材のターン間が樹脂で充填される。これにより、巻線部材においては、超電導線材が巻き回された巻回形状が保持されると供に、真空中での伝熱特性の向上が実現される。
【0005】
多層構造の超電導線材で構成された巻線部材において径方向に応力が加わったときには、その応力が剥離力として多層構造の超電導線材に作用し、超電導線材において層間剥離が生ずる場合がある。超電導線材に層間剥離が発生した場合、超電導コイルの超電導特性に劣化が生ずる場合がある。例えば、超電導コイルを運転温度に冷却したときには、ターン間に充填された樹脂と超電導線材との間に熱収縮率の差が生ずるため、その熱収縮率の差に起因して剥離力が加わり、層間剥離が発生する可能性がある。この不具合を解消するために、超電導線材に離形層が設けることが提案されている。離形層は、超電導線材と、ターン間に充填された樹脂との間の接着力を低下させる。このため、積層方向に加わる剥離力が離形層の作用によって吸収され、層間剥離の発生が防止され、超電導特性の劣化が抑制される。
【先行技術文献】
【特許文献】
【0006】
特開2011-198469号公報
【発明の概要】
【発明が解決しようとする課題】
【0007】
超電導コイルの作製の際に巻線部材を樹脂に含浸させた場合、超電導線材のターン間に樹脂が十分に充填されず、ターン間に空隙が介在する場合がある。その結果、超電導コイルの性能が低下する場合がある。
【0008】
例えば、超電導コイルの運用の際に生ずる振動や電磁力によってターン間において超電導線材同士が摺動することで、超電導線材の表面を被覆する絶縁層が摩耗する場合がある。その結果、超電導コイルにおいては、絶縁性能が低下する可能性がある。また、ターン間に介在する空隙に起因して、熱伝導率が低下する場合がある。その結果、超電導コイルにおいて熱暴走が生ずる可能性があるため、超電導コイルの信頼性が低下する場合がある。
【0009】
特に、巻線部材が含浸される熱硬化性樹脂の粘度が高い場合には、上記不具合が発生する可能性が高まる。
【0010】
超電導線材のターン間に樹脂を充填する方法として、巻線部材を樹脂に含浸させる方法の他に、ターン間に樹脂を滴下しながら巻回を行う方法等が考えられる。しかしながら、この場合においても、ターン間に樹脂を充填させる量にバラツキが生じるため、超電導コイルの性能を十分に得ることは、容易でない。
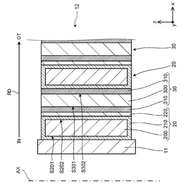
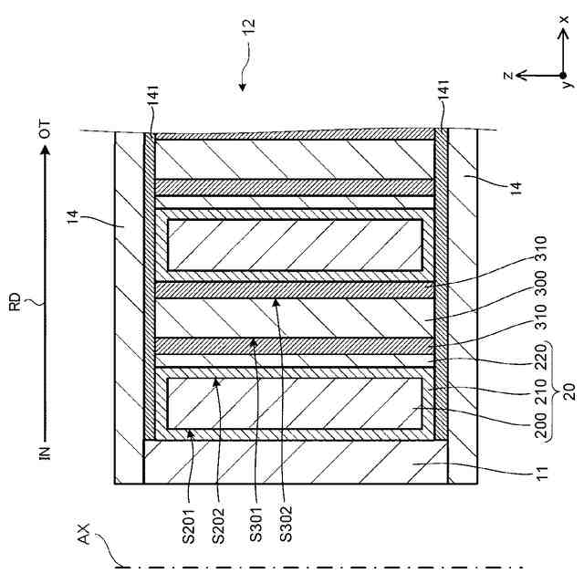
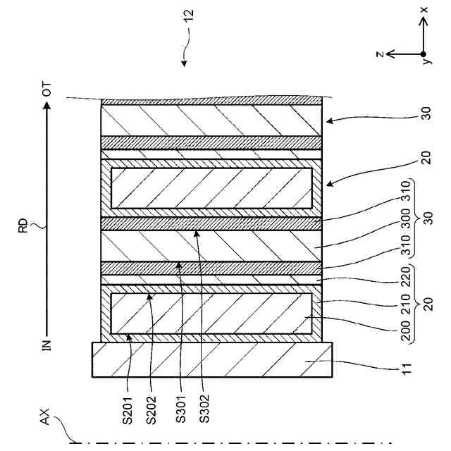
(【0011】以降は省略されています)
この特許をJ-PlatPat(特許庁公式サイト)で参照する
関連特許
株式会社東芝
センサ
2か月前
株式会社東芝
固定子
1か月前
株式会社東芝
モータ
13日前
株式会社東芝
センサ
1か月前
株式会社東芝
センサ
18日前
株式会社東芝
センサ
18日前
株式会社東芝
ドア構造
1か月前
株式会社東芝
配線治具
3か月前
株式会社東芝
電子装置
12日前
株式会社東芝
回路素子
2か月前
株式会社東芝
遮断装置
3か月前
株式会社東芝
燃料電池
2か月前
株式会社東芝
金型構造
18日前
株式会社東芝
吸音装置
13日前
株式会社東芝
ラック装置
1か月前
株式会社東芝
粒子加速器
12日前
株式会社東芝
半導体装置
27日前
株式会社東芝
半導体装置
2か月前
株式会社東芝
半導体装置
15日前
株式会社東芝
半導体装置
25日前
株式会社東芝
主幹制御器
3か月前
株式会社東芝
X線厚み計
2か月前
株式会社東芝
半導体装置
15日前
株式会社東芝
半導体装置
15日前
株式会社東芝
半導体装置
今日
株式会社東芝
電動送風機
1か月前
株式会社東芝
半導体装置
15日前
株式会社東芝
半導体装置
15日前
株式会社東芝
半導体装置
15日前
株式会社東芝
半導体装置
15日前
株式会社東芝
電磁流量計
3か月前
株式会社東芝
ディスク装置
1か月前
株式会社東芝
ディスク装置
2か月前
株式会社東芝
走行システム
1か月前
株式会社東芝
電子デバイス
13日前
株式会社東芝
ディスク装置
3か月前
続きを見る
他の特許を見る