TOP
|
特許
|
意匠
|
商標
特許ウォッチ
Twitter
他の特許を見る
公開番号
2025152148
公報種別
公開特許公報(A)
公開日
2025-10-09
出願番号
2024053907
出願日
2024-03-28
発明の名称
被覆金属材の耐食性試験方法、耐食性試験装置、耐食性試験用プログラム及び記録媒体
出願人
マツダ株式会社
代理人
弁理士法人前田特許事務所
主分類
G01N
17/00 20060101AFI20251002BHJP(測定;試験)
要約
【課題】被覆金属材の耐食性試験において、さらなる試験時間の短縮化及び計測誤差の低減をもたらす。
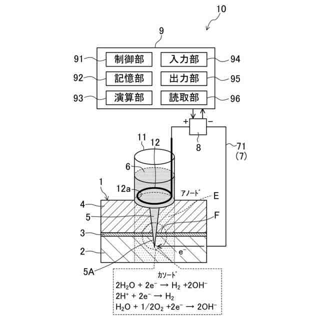
【解決手段】鋼板に電着塗膜が設けられてなる被覆金属材の耐食性試験方法であって、電極及び鋼板間を外部回路により電気的に接続する準備ステップS1と、通電手段により、電極及び鋼板を、それぞれアノード及びカソードとして両者間に直流の定電流又は直流の定電圧を印加することにより、被覆金属材の腐食を進行させる通電ステップS3と、通電ステップS3における直流の定電流又は直流の定電圧の印加に伴い電極及び鋼板間に生じる電流値の経時変化、電圧値の経時変化及び抵抗値の経時変化の少なくとも一種を取得する取得ステップS4と、取得ステップS4で取得した電流値の経時変化、電圧値の経時変化及び抵抗値の経時変化の少なくとも一種に基づいて、腐食の進行度合いを算出する算出ステップと、を備える。
【選択図】図2
特許請求の範囲
【請求項1】
金属製基材に表面処理膜が設けられてなる被覆金属材の耐食性試験方法であって、
上記被覆金属材の試験対象個所において上記表面処理膜に接触するように含水材料を保持する1つ又は2つの容器と、該1つの容器に収容された上記含水材料に接触する1つの電極又は該2つの容器の各々に収容された上記含水材料にそれぞれ接触する2つの電極と、を配置するとともに、上記電極及び上記金属製基材間、又は、上記2つの電極間を外部回路により電気的に接続する準備ステップと、
上記外部回路上に設けられた通電手段により、上記電極及び上記金属製基材、又は、上記2つの電極の一方及び他方を、それぞれアノード及びカソードとして両者間に直流の定電流又は直流の定電圧を印加することにより、上記被覆金属材の腐食を進行させる通電ステップと、
上記通電ステップにおける上記直流の定電流又は直流の定電圧の印加に伴い上記電極及び上記金属製基材、又は、上記2つの電極の一方及び他方間に生じる電流値の経時変化、電圧値の経時変化及び抵抗値の経時変化の少なくとも一種に基づいて、上記腐食の進行度合いを算出する算出ステップと、を備えた
ことを特徴とする被覆金属材の耐食性試験方法。
続きを表示(約 1,900 文字)
【請求項2】
請求項1において、
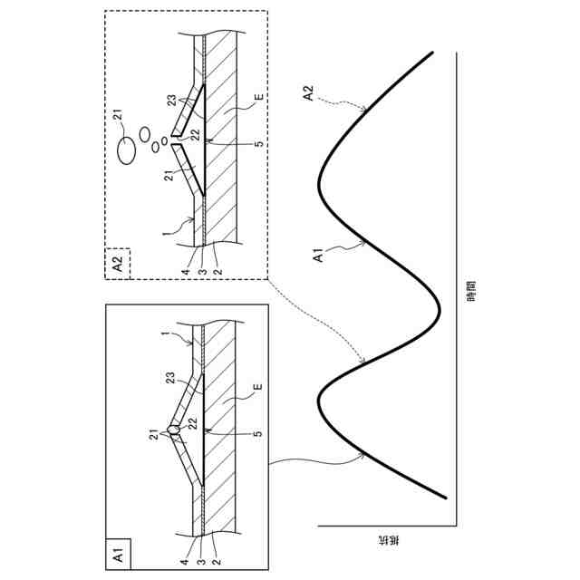
上記算出ステップで、上記腐食の進行度合いを、上記経時変化の波形における凹凸の変動幅、上記経時変化における任意の2点の値の差及び上記経時変化における通電開始時から通電終了時までの積分値の少なくとも一種に基づき算出する
ことを特徴とする被覆金属材の耐食性試験方法。
【請求項3】
請求項2において、
上記通電ステップで、上記被覆金属材の腐食の進行は、上記表面処理膜の膨れとして現れるものであり、
上記算出ステップで、上記腐食の進行度合いを、上記凹凸の変動幅、上記2点の値の差及び上記積分値の少なくとも一種と、予め取得しておいた上記凹凸の変動幅、上記2点の値の差及び上記積分値の少なくとも一種と上記表面処理膜の膨れの大きさ又は該膨れが進展する速度との相関関係と、に基づき算出する
ことを特徴とする被覆金属材の耐食性試験方法。
【請求項4】
請求項1又は請求項2において、
上記被覆金属材は、上記試験対象個所において、上記表面処理膜を貫通して上記金属製基材に達する1箇所又は2箇所の傷を備えており、
上記容器は、上記含水材料が上記1箇所の傷又は上記2箇所の傷に接触するように配置される
ことを特徴とする被覆金属材の耐食性試験方法。
【請求項5】
請求項4において、
上記通電ステップで、上記被覆金属材の腐食の進行は、上記傷の周りで発生する上記表面処理膜の膨れとして現れるものであり、
上記腐食の進行度合いは、上記表面処理膜の膨れの大きさ又は該膨れが進展する速度で表される
ことを特徴とする被覆金属材の耐食性試験方法。
【請求項6】
請求項1又は請求項2において、
上記表面処理膜は、樹脂塗膜である
ことを特徴とする被覆金属材の耐食性試験方法。
【請求項7】
金属製基材に表面処理膜が設けられてなる被覆金属材の耐食性試験装置であって、
上記被覆金属材の試験対象個所において上記表面処理膜に接触するように含水材料を保持する1つ又は2つの容器と、
前記1つの容器に収容された上記含水材料に接触する1つの電極又は前記2つの容器の各々に収容された上記含水材料にそれぞれ接触する2つの電極と、
上記電極及び上記金属製基材間、又は、上記2つの電極間を電気的に接続する外部回路と、
上記外部回路上に設けられ、上記電極及び上記金属製基材、又は、上記2つの電極の一方及び他方を、それぞれアノード及びカソードとして両者間に直流の定電流又は直流の定電圧を印加することにより、上記被覆金属材の腐食を進行させる通電手段と、
上記直流の定電流又は直流の定電圧の印加に伴い上記電極及び上記金属製基材、又は、上記2つの電極の一方及び他方間に生じる電流値の経時変化、電圧値の経時変化及び抵抗値の経時変化の少なくとも一種に基づいて、上記腐食の進行度合いを算出する算出部と、を備えた
ことを特徴とする被覆金属材の耐食性試験装置。
【請求項8】
金属製基材に表面処理膜が設けられてなる被覆金属材の耐食性試験用プログラムであって、
上記耐食性試験は、
上記被覆金属材の試験対象個所において上記表面処理膜に接触するように含水材料を保持する1つ又は2つの容器と、該1つの容器に収容された上記含水材料に接触する1つの電極又は該2つの容器の各々に収容された上記含水材料にそれぞれ接触する2つの電極と、を配置するとともに、上記電極及び上記金属製基材間、又は、上記2つの電極間を外部回路により電気的に接続する準備ステップと、
上記外部回路上に設けられた通電手段により、上記電極及び上記金属製基材、又は、上記2つの電極の一方及び他方を、それぞれアノード及びカソードとして両者間に直流の定電流又は直流の定電圧を印加することにより、上記被覆金属材の腐食を進行させる通電ステップと、
上記通電ステップにおける上記直流の定電流又は直流の定電圧の印加に伴い上記電極及び上記金属製基材、又は、上記2つの電極の一方及び他方間に生じる電流値の経時変化、電圧値の経時変化及び抵抗値の経時変化の少なくとも一種に基づいて、上記腐食の進行度合いを算出する算出ステップと、を備えており、
コンピュータに、少なくとも上記算出ステップの手順を実行させる
ことを特徴とする被覆金属材の耐食性試験用プログラム。
【請求項9】
請求項8に記載された被覆金属材の耐食性試験用プログラムを記録したコンピュータ読み取り可能な記録媒体。
発明の詳細な説明
【技術分野】
【0001】
本開示は、被覆金属材の耐食性試験方法、耐食性試験装置、耐食性試験用プログラム及び記録媒体に関する。
続きを表示(約 2,600 文字)
【背景技術】
【0002】
従来、塗膜性能を評価する手法として複合サイクル試験、塩水噴霧試験等の腐食促進試験が行われている。しかし、かかる腐食促進試験においては、評価に数ヶ月を要するため、例えば塗装鋼板の構成材料や焼付条件の異なる塗膜の状態を簡便に評価し、塗装条件の最適化等を迅速に行うことが困難である。従って、材料開発、塗装工場の工程管理、車両防錆に係る品質管理の場において、塗装鋼板の耐食性を迅速且つ簡便に評価する定量評価法の確立が望まれている。
【0003】
例えば特許文献1には、金属製基材に表面処理膜が設けられてなる被覆金属材に形成された表面処理膜の膨れの大きさを計測する方法が開示されている。当該方法は、上記膨れに接触する含水材料と該含水材料に接触する電極とを配置するとともに、該電極及び上記金属製基材間を外部回路で電気的に接続するステップと、上記外部回路によって、上記電極及び上記金属製基材をそれぞれカソード及びアノードとして、両者間に定電圧を印加し、両者間に流れる電流値を計測するステップと、計測した上記電流値と、予め試験的に求めておいた電流値と上記膨れの大きさとの相関関係と、に基づいて、上記膨れの大きさを算出するステップと、を備える。当該文献には、電気化学的な手法により、表面処理膜の膨れの大きさを計測できるから、試験の工程を簡素化できるとともに、計測誤差を低減できると記載されている。
【先行技術文献】
【特許文献】
【0004】
特許6801805号公報
【発明の概要】
【発明が解決しようとする課題】
【0005】
しかしながら上記の方法では、表面処理膜の膨れの大きさを電気化学的手法により計測できるものの、腐食を進行させる、すなわち当該膨れを進展させる実験を行った後に、別の工程として当該膨れの大きさを計測する必要がある。また、当該膨れを進展させる実験の直後は膨れの内部に気泡が残留する可能性がある。そうすると、残留気泡が含水材料で置換された後に計測を行う必要があり、その間に膨れがさらに進展する可能性がある。従って、上記方法は、耐食性試験全体の試験時間の短縮化及び計測誤差のさらなる低減という観点から、改善の余地がある。
【0006】
そこで本開示では、被覆金属材の耐食性試験において、さらなる試験時間の短縮化及び計測誤差の低減をもたらすことを課題とする。
【課題を解決するための手段】
【0007】
上記の課題を解決するために、ここに開示する被覆金属材の耐食性試験方法の一態様は、
金属製基材に表面処理膜が設けられてなる被覆金属材の耐食性試験方法であって、
上記被覆金属材の試験対象個所において上記表面処理膜に接触するように含水材料を保持する1つ又は2つの容器と、該1つの容器に収容された上記含水材料に接触する1つの電極又は該2つの容器の各々に収容された上記含水材料にそれぞれ接触する2つの電極と、を配置するとともに、上記電極及び上記金属製基材間、又は、上記2つの電極間を外部回路により電気的に接続する準備ステップと、
上記外部回路上に設けられた通電手段により、上記電極及び上記金属製基材、又は、上記2つの電極の一方及び他方を、それぞれアノード及びカソードとして両者間に直流の定電流又は直流の定電圧を印加することにより、上記被覆金属材の腐食を進行させる通電ステップと、
上記通電ステップにおける上記直流の定電流又は直流の定電圧の印加に伴い上記電極及び上記金属製基材、又は、上記2つの電極の一方及び他方間に生じる電流値の経時変化、電圧値の経時変化及び抵抗値の経時変化の少なくとも一種に基づいて、上記腐食の進行度合いを算出する算出ステップと、を備えた
ことを特徴とする。
【0008】
一般に、金属の腐食は、水と接触する金属が溶解(イオン化)して遊離電子を生ずるアノード反応(酸化反応)と、その遊離電子によって水中の溶存酸素等が水酸化物イオンOH
-
等を生成するカソード反応(還元反応)とが同時に起こることで進行することが知られている。
【0009】
本構成では、電極及び金属製基材、又は、2つの電極の一方及び他方を、それぞれアノード及びカソードとして、両者間に通電する。電極をアノード、金属製基材をカソードとして通電した場合、表面処理膜中に浸透した含水材料が金属製基材に到達すると、含水材料と金属製基材との接触部においてカソード反応が進行する。また、2つの電極の一方をアノード、他方をカソードとした場合、アノードとなっている電極側に位置する金属製基材と含水材料との接触部においてカソード反応が進行する。さらに、いずれの場合も、通電条件によっては、すなわち、例えば水の電気分解により水素が発生する理論電圧(系の温度が25℃の場合、1.23V)以上の電圧又はそのような電圧を要する電流を印加するような通電条件の場合には、水の電気分解も進行し、水素ガスが発生する。
【0010】
カソード反応が進行すると、OH
-
の生成により含水材料と金属製基材との接触部周辺がアルカリ性環境になる。これにより、金属製基材表面の下地処理(化成処理)がダメージを受けて表面処理膜の密着性が低下し(下地処理がされていない場合は単純に金属製基材と表面処理膜の密着性が低下し)、接触部において表面処理膜が浮き上がり、表面処理膜の膨れが発生する。そして、アルカリ性環境下で金属製基材との密着性が低下した表面処理膜は、水の電気分解やH
+
の還元により発生した水素ガスによりさらに押し上げられ、表面処理膜の膨れが進展する。このようなカソード反応の進行並びに表面処理膜の膨れの発生及び進展は、被覆金属材の実際の腐食を加速再現するものである。すなわち、本明細書において、「被覆金属材の腐食を進行させる」とは、「表面処理膜の膨れを発生及び進展させる」ことを意味する。従って、例えば接触部において発生した表面処理膜の膨れの発生状況や進展の程度をみることによって、被覆金属材の腐食の進行度合いを計ることができる。
(【0011】以降は省略されています)
この特許をJ-PlatPat(特許庁公式サイト)で参照する
関連特許
マツダ株式会社
二次電池
10日前
マツダ株式会社
エンジン
11日前
マツダ株式会社
車載機器
10日前
マツダ株式会社
二次電池
1か月前
マツダ株式会社
二次電池
10日前
マツダ株式会社
排気浄化装置
1か月前
マツダ株式会社
排気浄化装置
1か月前
マツダ株式会社
排気システム
12日前
マツダ株式会社
排気システム
12日前
マツダ株式会社
運転支援装置
10日前
マツダ株式会社
運転支援装置
10日前
マツダ株式会社
運転支援装置
10日前
マツダ株式会社
インバータ装置
11日前
マツダ株式会社
車両用駆動装置
1か月前
マツダ株式会社
インバータ装置
11日前
マツダ株式会社
インバータ装置
11日前
マツダ株式会社
インバータ装置
11日前
マツダ株式会社
車両用駆動装置
1か月前
マツダ株式会社
車両用駆動装置
1か月前
マツダ株式会社
車両の前部構造
10日前
マツダ株式会社
車両用駆動装置
1か月前
マツダ株式会社
車両用駆動装置
1か月前
マツダ株式会社
冷媒循環システム
1か月前
マツダ株式会社
冷媒循環システム
1か月前
マツダ株式会社
冷媒循環システム
1か月前
マツダ株式会社
冷媒循環システム
1か月前
マツダ株式会社
冷媒循環システム
1か月前
マツダ株式会社
エンジンシステム
1か月前
マツダ株式会社
エンジンシステム
1か月前
マツダ株式会社
冷媒循環システム
1か月前
マツダ株式会社
冷媒循環システム
1か月前
マツダ株式会社
冷媒循環システム
1か月前
マツダ株式会社
車両の下部車体構造
21日前
マツダ株式会社
車両の下部車体構造
17日前
マツダ株式会社
車両の下部車体構造
17日前
マツダ株式会社
車両の下部車体構造
17日前
続きを見る
他の特許を見る