TOP
|
特許
|
意匠
|
商標
特許ウォッチ
Twitter
他の特許を見る
公開番号
2025151421
公報種別
公開特許公報(A)
公開日
2025-10-09
出願番号
2024052831
出願日
2024-03-28
発明の名称
制御システム、POS装置、制御方法及びプログラム
出願人
ステアリテール株式会社
代理人
個人
主分類
G07G
1/12 20060101AFI20251002BHJP(チェック装置)
要約
【課題】本開示により、顧客が釣り銭の払い出しを行わなかった場合でも、確実に釣り銭を受け取ることができる制御システム、POS装置、制御方法及びプログラムを提供できる。
【解決手段】本開示に係る制御システムは、サービスの提供に伴う被サービス提供者の支払いの受付処理を実行する支払処理機と、支払いに対する釣り銭を精算可能とする精算情報を印字した釣り銭預かり書の再発行処理を実行可能なPOS装置と、を備えた制御システムであって、POS装置は、支払処理機が精算情報を引用したら、再発行処理が実行できないように制御する制御部を備える、制御システム。
【選択図】図1
特許請求の範囲
【請求項1】
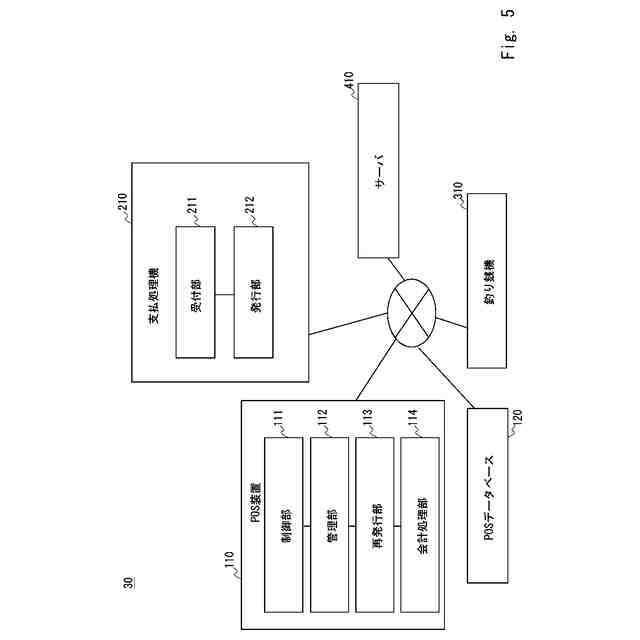
サービスの提供に伴う被サービス提供者の支払いの受付処理を実行する支払処理機と、
前記支払いに対する釣り銭を精算可能とする精算情報を印字した釣り銭預かり書と、前記サービスに対する伝票と、の再発行処理を実行可能なPOS装置と、を備えた制御システムであって、
前記POS装置は、前記支払処理機が前記精算情報を引用したら、前記釣り銭預かり書の再発行処理が実行できないように制御する制御部を備える、
制御システム。
続きを表示(約 2,600 文字)
【請求項2】
前記支払処理機は、前記支払いに対して釣り銭が生じる場合に、前記精算情報を印字した釣り銭預かり書の発行処理を実行し、
前記制御部は、
前記発行処理において、前記精算情報が印字された釣り銭預かり書が発行された場合に、前記支払処理機が精算情報を引用したと認識する、
請求項1に記載の制御システム。
【請求項3】
前記支払処理機は、前記受付処理において、さらに、前記被サービス提供者の会員情報を受け付ける処理を実行し、
前記制御部は、
前記支払いに対して釣り銭が生じる場合に、前記精算情報と被サービス提供者の会員情報とを紐づけると、前記支払処理機が精算情報を引用したと認識する、
請求項1に記載の制御システム。
【請求項4】
前記支払処理機は、前記被サービス提供者の会員情報を受け付ける処理と、前記支払いに対して釣り銭が生じる場合に、前記精算情報を印字した釣り銭預かり書の発行処理と、を実行し、
前記制御部は、
前記支払いに対して釣り銭が生じる場合に、前記精算情報と被サービス提供者の会員情報とを紐づけ、前記発行処理において、前記精算情報が印字された釣り銭預かり書が発行されると、前記支払処理機が精算情報を引用したと認識する、
請求項1に記載の制御システム。
【請求項5】
前記釣り銭預かり書の前記精算情報を取得すると、前記釣り銭の払い出し処理を実行する釣り銭機と、
前記被サービス提供者の会員情報に予め登録された決済サービスに対して、前記釣り銭を割り当てるサーバと、
をさらに備え、
前記支払処理機は、さらに、前記受付処理において、前記被サービス提供者の会員情報を受け付け、前記発行処理において、前記精算情報の有効期限を印字して、前記釣り銭預かり書の発行を実行し、
前記制御部は、
前記釣り銭機の前記精算情報の取得時刻が、前記釣り銭預かり書に印字された前記精算情報の有効期限内である場合、前記釣り銭預かり書に印字された前記精算情報に基づいて、釣り銭の払い出し処理を実行するように釣り銭機を制御し、
前記釣り銭機の前記精算情報の取得時刻が、前記釣り銭預かり書に印字された前記精算情報の有効期限外である場合、前記精算情報と被サービス提供者の会員情報とを紐づけ、前記決済サービスに対して、前記釣り銭を割り当てるように前記サーバを制御する、
請求項2に記載の制御システム。
【請求項6】
前記POS装置は、精算情報と、前記被サービス提供者の会員情報と、を対応付けて管理し、サービス提供者の操作に応じて、未精算である前記被サービス提供者の会員情報を未精算リストとして出力する出力処理を実行し、
前記支払処理機は、
前記発行処理において、さらに、前記釣り銭預かり書の発行日時を印字して、前記釣り銭預かり書の発行処理を実行し、
制御部は、
前記釣り銭機の前記精算情報の取得時刻が、前記釣り銭預かり書に印字された前記精算情報の有効期限外であり、かつ、前記釣り銭預かり書の発行日時が、前記POS装置が未精算リストを出力するよりも前である場合に、前記POS装置の出力処理の対象から前記精算情報に対応付けられた当該被サービス提供者の会員情報を除外し、
前記釣り銭機の前記精算情報の取得時刻が、前記釣り銭預かり書に印字された前記精算情報の有効期限外であり、かつ、前記釣り銭預かり書の発行日時が、前記POS装置が未精算リストを出力するよりも後である場合に、前記POS装置の出力結果である未精算リストの対象から前記精算情報に対応付けられた当該被サービス提供者の会員情報を除外する、
請求項5に記載の制御システム。
【請求項7】
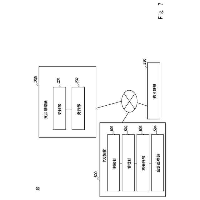
サービスの提供に伴う被サービス提供者の釣り銭を精算可能とする精算情報を印字した釣り銭預かり書と、前記サービスに対する伝票と、の再発行処理を実行可能なPOS装置であって、
前記精算情報が引用されたら、前記釣り銭預かり書の再発行処理が実行できないように制御する制御部を備えた、
POS装置。
【請求項8】
被サービス提供者のサービスの提供に伴う支払いの受付処理と、前記支払いに対して釣り銭が生じる場合に、前記被サービス提供者の釣り銭の精算に関する精算情報を印字した釣り銭預かり書の発行処理と、を実行する支払処理機と、
釣り銭の払い出し処理を実行する釣り銭機と、
前記精算情報を印字した釣り銭預かり書の再発行処理を実行するPOS装置と、
を備えた制御システムであって、
前記POS装置は、
前記支払処理機が、前記発行処理において、前記精算情報を第1精算情報として印字した釣り銭預かり書を発行した場合に、前記再発行処理において、前記第1精算情報とは異なる第2精算情報を印字して、新たな釣り銭預かり書を発行し、
前記釣り銭機が、前記釣り銭預かり書の前記第1精算情報を取得した場合に、釣り銭の払い出し処理を実行するようにし、前記新たな釣り銭預かり書の前記第2精算情報を取得した場合に、釣り銭の払い出し処理を実行しないように前記釣り銭機を制御する、
制御システム。
【請求項9】
サービスの提供に伴う被サービス提供者の釣り銭を精算可能とする精算情報を印字した釣り銭預かり書と、前記サービスに対する伝票と、の再発行処理を実行可能なPOS装置の制御方法であって、
前記精算情報が引用されたら、前記釣り銭預かり書の再発行処理が実行できないように制御する、
処理をコンピュータが実行する、
制御方法。
【請求項10】
サービスの提供に伴う被サービス提供者の釣り銭を精算可能とする精算情報を印字した釣り銭預かり書と、前記サービスに対する伝票と、の再発行処理を実行可能なPOS装置のプログラムであって、
前記精算情報が引用されたら、前記釣り銭預かり書の再発行処理が実行できないように制御する、
処理をコンピュータに実行させる、
プログラム。
発明の詳細な説明
【技術分野】
【0001】
本開示は、制御システム、POS装置、制御方法及びプログラムに関する。
続きを表示(約 1,700 文字)
【背景技術】
【0002】
特許文献1には、燃料供給システムが開示されている。特許文献1に開示された燃料供給システムでは、燃料の供給に伴う支払いに対して、釣り銭が生じる場合に、伝票発行機から預かり書が発行される。顧客は、預かり書を受け取り、預かり書に印字されたバーコードを釣り銭機に読み取らせることによって、釣り銭を払い出す。
【先行技術文献】
【特許文献】
【0003】
特開2004-231264号公報
【発明の概要】
【発明が解決しようとする課題】
【0004】
特許文献1に開示された燃料供給システムでは、顧客が釣り銭の払い出しを行わないと、従業員は、顧客の支払い情報を管理している管理コンピュータから未精算の預かり書を把握できる。そのため、従業員は、新たに預かり書を発行して精算を済ます不正行為を行う場合があった。これにより、顧客は、釣り銭を受け取ることができない問題があった。
【0005】
本開示の目的は、上述した課題に鑑み、顧客が釣り銭の払い出しを行わなかった場合でも、確実に釣り銭を受け取ることができる制御システム、POS装置、制御方法及びプログラムを提供することにある。
【課題を解決するための手段】
【0006】
本開示に係る制御システムは、
サービスの提供に伴う被サービス提供者の支払いの受付処理を実行する支払処理機と、
前記支払いに対する釣り銭を精算可能とする精算情報を印字した釣り銭預かり書の再発行処理を実行可能なPOS装置と、を備えた制御システムであって、
前記POS装置は、前記支払処理機が前記精算情報を引用したら、前記再発行処理が実行できないように制御する制御部を備える。
【0007】
本開示に係るPOS装置は、
サービスの提供に伴う被サービス提供者の釣り銭を精算可能とする精算情報を印字した釣り銭預かり書の再発行処理を実行可能なPOS装置であって、
前記精算情報が引用されたら、新たに釣り銭預かり書の発行処理が実行できないように制御する制御部を備える。
【0008】
本開示に係る制御システムは、
被サービス提供者のサービスの提供に伴う支払いの受付処理と、前記支払いに対して釣り銭が生じる場合に、前記被サービス提供者の釣り銭の精算に関する精算情報を印字した釣り銭預かり書の発行処理と、を実行する支払処理機と、
釣り銭の払い出し処理を実行する釣り銭機と、
前記精算情報を印字した釣り銭預かり書の再発行処理を実行するPOS装置と、
を備えた制御システムであって、
前記POS装置は、
前記支払処理機が、前記発行処理において、前記精算情報を第1精算情報として印字した釣り銭預かり書を発行した場合に、前記再発行処理において、前記第1精算情報とは異なる第2精算情報を印字して、新たな釣り銭預かり書を発行し、
前記釣り銭機が、前記釣り銭預かり書の前記第1精算情報を取得した場合に、釣り銭の払い出し処理を実行するようにし、前記新たな釣り銭預かり書の前記第2精算情報を取得した場合に、釣り銭の払い出し処理を実行しないように前記釣り銭機を制御する。
【0009】
本開示に係る制御方法は、
サービスの提供に伴う被サービス提供者の釣り銭を精算可能とする精算情報を印字した釣り銭預かり書の再発行処理を実行可能なPOS装置の制御方法であって、
前記精算情報が引用されたら、釣り銭預かり書の再発行処理が実行できないように制御する、
処理をコンピュータが実行する。
【0010】
本開示に係るプログラムは、
サービスの提供に伴う被サービス提供者の釣り銭を精算可能とする精算情報を印字した釣り銭預かり書の再発行処理を実行可能なPOS装置のプログラムであって、
前記精算情報が引用されたら、釣り銭預かり書の再発行処理が実行できないように制御する、
処理をコンピュータに実行させる。
【発明の効果】
(【0011】以降は省略されています)
この特許をJ-PlatPat(特許庁公式サイト)で参照する
関連特許
株式会社イシダ
商品処理装置
10日前
株式会社バンダイ
物品供給装置
3か月前
株式会社バンダイ
物品供給装置
3か月前
株式会社バンダイ
物品供給装置
3か月前
株式会社バンダイ
物品供給装置
3か月前
富士電機株式会社
通貨識別装置
2か月前
沖電気工業株式会社
媒体処理装置
1か月前
沖電気工業株式会社
媒体処理装置
1か月前
沖電気工業株式会社
施錠開閉装置
3日前
沖電気工業株式会社
紙幣処理装置
1か月前
沖電気工業株式会社
媒体処理装置
1か月前
株式会社ライト
情報処理装置
2か月前
富士電機株式会社
自動販売機
1か月前
株式会社ライト
情報処理装置
1か月前
株式会社ライト
情報処理装置
1か月前
富士電機株式会社
金銭処理装置
2か月前
株式会社デンソー
車載器
8日前
グローリー株式会社
硬貨処理装置
3か月前
トヨタ車体株式会社
出入検知装置
3か月前
グローリー株式会社
物品投出装置
1か月前
日本金銭機械株式会社
硬貨処理装置
12日前
日本金銭機械株式会社
硬貨処理装置
12日前
株式会社トイスピリッツ
景品提供システム
1か月前
パイオニア株式会社
ドライブレコーダ
3か月前
ユニティガードシステム株式会社
入館監視システム
1か月前
トヨタ自動車株式会社
記録装置
3か月前
沖電気工業株式会社
現金処理装置
1か月前
沖電気工業株式会社
棒金収納装置
1か月前
沖電気工業株式会社
現金処理装置及び印字装置
22日前
沖電気工業株式会社
棒金収納装置
9日前
沖電気工業株式会社
媒体処理装置
1か月前
旭精工株式会社
紙葉類処理装置および紙葉類処理方法
22日前
沖電気工業株式会社
媒体処理装置
3か月前
中井銘鈑株式会社
商品見本取付け構造
2か月前
沖電気工業株式会社
媒体識別装置及び媒体処理装置
1か月前
独立行政法人 国立印刷局
画像観察装置及び画像観察方法
1か月前
続きを見る
他の特許を見る