TOP
|
特許
|
意匠
|
商標
特許ウォッチ
Twitter
他の特許を見る
公開番号
2025151320
公報種別
公開特許公報(A)
公開日
2025-10-09
出願番号
2024052672
出願日
2024-03-28
発明の名称
アクセスポイント装置、無線通信装置及び無線通信システム
出願人
シャープ株式会社
代理人
個人
主分類
H04W
28/16 20090101AFI20251002BHJP(電気通信技術)
要約
【課題】隣接するAPが連携して送信するJoint TransmissionとBSS Coloringが併用される場合に、隣接BSS間で同一リソースを用いた送信を行うことによる干渉を回避しつつ、周波数利用効率の低下を抑えること。
【解決手段】JTを行う際に各APは元々自身が属するBSSのBSS Colorと特別BSS Colorの2つのBSS Colorの情報をビーコンフレームにてBSS内に報知し、実際のJTを行う際と、各BSSで個別の伝送を行う際で、少なくとも1つ以上の異なるBSS Colorの情報をそれぞれ付加して送信する。
【選択図】図4
特許請求の範囲
【請求項1】
1つ以上の無線通信装置と無線通信サービスの基本的な管理範囲(BSS)を設定し、前記
管理範囲の通信を制御して前記無線通信装置と無線通信を行い、自身が制御する前記管理範囲とは異なる管理範囲を制御する別の無線アクセスポイント装置と連携して特定の前記無線通信装置宛の同一の信号を同一無線リソースにより送信する連携送信を行う無線アクセスポイント装置であって、
前記連携送信を行うか否かを判断し、前記連携送信に必要な情報通知を制御する連携送信制御部と、
自身の制御する管理範囲を他の管理範囲と識別するための識別子の情報を制御する識別子制御部とを備え、
前記識別子制御部では、前記自身の制御する管理範囲を他の管理範囲と識別するための識別子について2つの異なる識別子の情報を含めた管理フレームを、自身の制御する前記管理範囲内の前記無線通信装置に報知するように前記識別子の情報を制御し、前記連携送信におけるデータフレームと前記連携送信を行わない場合におけるデータフレームに、少なくとも1つ以上のそれぞれ異なる前記識別子の情報を付加して送信する
ことを特徴とする無線アクセスポイント装置。
続きを表示(約 1,700 文字)
【請求項2】
前記管理フレームは前記管理範囲ごとに周期的に送信されるフレームであって、
前記連携送信におけるデータフレームと前記連携送信を行わない場合におけるデータフレームをそれぞれ少なくとも1フレームずつ、前記管理フレームの周期以内の時間で送信する
ことを特徴とする請求項1に記載の無線アクセスポイント装置。
【請求項3】
前記連携送信におけるデータフレームと前記連携送信を行わない場合におけるデータフレームに付加する前記識別子はそれぞれ2つずつの識別子であって、
そのうちの1つの識別子が前記連携送信におけるデータフレームと前記連携送信を行わない場合におけるデータフレームにおいて異なる
ことを特徴とする請求項2に記載の無線アクセスポイント装置。
【請求項4】
前記連携送信におけるデータフレームと前記連携送信を行わない場合におけるデータフレームにそれぞれ付加する異なる前記識別子は、それぞれ1つの識別子である
ことを特徴とする請求項2に記載の無線アクセスポイント装置。
【請求項5】
前記管理フレームとは別の制御フレームに、少なくとも1つの前記識別子を付加して送信する
ことを特徴とする請求項1に記載の無線アクセスポイント装置。
【請求項6】
前記制御フレームは、前記データフレームの送信に先立って送信されるフレームであって、前記連携送信におけるデータフレームと前記連携送信を行わない場合におけるデータフレームにそれぞれ異なる前記識別子を付加して送信する
ことを特徴とする請求項5に記載の無線アクセスポイント装置。
【請求項7】
無線通信サービスの管理範囲(BSS)を設定して前記管理範囲の通信を制御する第1の無
線アクセスポイント装置と無線通信し、前記第1の無線アクセスポイント装置と前記管理範囲とは異なる管理範囲を制御する第2の無線アクセスポイント装置とが連携して同一無線リソースにより送信する同一の信号を受信する無線通信装置であって、
前記管理範囲を他の管理範囲と識別するための識別子について2つの異なる識別子の情報が含まれた管理フレームを受信し、
前記受信した2つの異なる識別子のうちの1つを選択する識別子判定部を備え、
前記識別子判定部において選択された識別子の情報をデータフレームに付加して送信することを特徴とする無線通信装置。
【請求項8】
前記データフレームの送信に先立って送信する制御フレームに、
前記選択された識別子の情報を付加して送信する
ことを特徴とする請求項7に記載の無線通信装置。
【請求項9】
無線通信サービスの管理範囲(BSS)を設定して前記管理範囲の通信を制御する無線アク
セスポイント装置と、前記管理範囲内で前記無線アクセスポイント装置と通信を行う1つ以上の無線通信装置とから構成され、異なる2つの前記無線アクセスポイント装置から特定の前記無線通信装置宛の同一の信号を同一無線リソースにより送信する連携送信を行う無線通信システムであって、
前記管理範囲を他の管理範囲と識別するための識別子について2つの異なる前記識別子の情報を含めた管理フレームを前記無線アクセスポイント装置から前記管理範囲内の前記無線通信装置に報知し、
前記連携送信におけるデータフレームと前記連携送信を行わない場合におけるデータフレームに、少なくとも1つ以上のそれぞれ異なる前記識別子の情報を付加して前記無線アクセスポイント装置から送信する
ことを特徴とする無線通信システム。
【請求項10】
前記管理フレームは前記管理範囲ごとに周期的に送信されるフレームであって、
前記連携送信におけるデータフレームと前記連携送信を行わない場合におけるデータフレームをそれぞれ少なくとも1フレームずつ、前記管理フレームの周期以内の時間で送信する
ことを特徴とする請求項9に記載の無線通信システム。
発明の詳細な説明
【技術分野】
【0001】
本発明は、アクセスポイント装置、無線通信装置及び無線通信システムに関する。
続きを表示(約 3,000 文字)
【背景技術】
【0002】
IEEE(The Institute of Electrical and Electronics Engineers Inc.)は、無線LAN(Local Area Network)通信の高速化、周波数利用効率化を実現するために、無線LAN標準規格であるIEEE 802.11の仕様更新に継続して取り組んでいる。無線LANでは、国・地域からの許可(免許)を必要とせずに使用することが可能な周波数帯(アンライセンスバンド)を用いて、無線通信を行うことができる。家庭などの個人向け用途では、インターネットなどへのWAN(Wide Area Network)回線に接続するため
の回線終端装置に無線LANアクセスポイント機能を含める、または無線LAN AP(
Access Point。基地局装置とも呼称)を回線終端装置に接続するなどして、住居内からのインターネットアクセスが無線化されてきた。これにより、スマートフォンやパーソナルコンピュータなどの無線LAN STA(Station。端末装置とも呼
称)は、無線LAN APに接続して、インターネットにアクセスできる。
【0003】
2021年にはIEEE 802.11axの規格策定が完了し、この規格に準拠した無線LANデバイスや、前記無線LANデバイスを搭載したスマートフォンやパーソナルコンピュータなどの通信機器がWi-Fi 6(登録商標、Wi-Fi Allianceの認証を受けたIEEE 802.11ax準拠品に対する呼称)対応製品として市場に登場している。そして、現在、IEEE 802.11axの後継規格として、IEEE 802.11beの標準化活動が進められており、また、その後継規格であるIEEE 802.11bnに向けた議論も進んでいる。無線LANデバイスの急速な普及に伴い、昨今のIEEE 802.11標準化においては、無線LANデバイスの過密配置環境における高効率通信に関する検討が行われている。
【0004】
無線LANデバイスの過密配置環境における周波数利用効率向上技術のひとつとして、IEEE 802.11axにて導入されたBSS Coloringと呼ばれる技術がある。IEEE 802.11では、AP及び1以上のSTAによる通信の基本的な構成は基本サービスセット(BSS:Basic Service Set、管理範囲)と呼ばれ、BSS内のA
P及びSTAでは、それぞれCSMA/CA(Carrier Sense Multiple Access with Collision Avoidance)に基づく通信が行われる。ここで、異なるBSSが隣接配置されるような環境では、隣接するBSSによる通信を検出すると、自BSSでも同一チャネルを用いた通信が可能であるにも関わらず通信を控えるという動作となり、周波数利用効率が低下するという問題があった。これに対し、BSS Coloringでは、BSS Colorと呼ばれる、隣接するBSSごとに異なる識別子を設定して隣接BSSでの通信を区別することにより、隣接BSSと同一チャネルで干渉することになる場合であっても、それを無視して自BSSの通信を開始できるようにしている。また、この自BSSの通信を行う際に送信電力を制御することにより、同一チャネルで通信を行っている隣接BSSへの影響を低減することも可能となる。このように、IEEE 802.11axでは、BSSの過密配置環境においても効率的な通信を実現するための仕組みを導入している。
【0005】
また、通信効率の向上と併せて、個々のSTAにおける通信品質向上技術の検討も進められており、IEEE 802.11bn標準化では、Joint Transmission(JT)と呼ばれる技術が検討されている。JTは、隣接するBSSのAP同士が協調し、特定のSTA向けの同一データを同一リソースにより伝送する技術であり、これにより、特に隣接BSSと重複する範囲に位置するようなSTAの受信品質を向上するこ
とが可能となる。
【0006】
しかし、BSS ColoringとJTが併用される場合、上述の通り、隣接BSSでは異なるBSS Colorが設定され、このBSS Colorはヘッダとしてデータに付加されて送信されるため、JT適用時に隣接BSS間で完全に同一のフレームを送信することができず、JTが効果的に動作しないという問題が発生する。これに対し、隣接するBSSのAP同士が協調し、JTの対象となるSTA向けの送信時には、BSS Colorを揃える幾つかの方法が提案されている(非特許文献1)。
【0007】
非特許文献1では、JT適用時のBSS Colorの設定、送信方法として以下の2つの方法が提案されている。
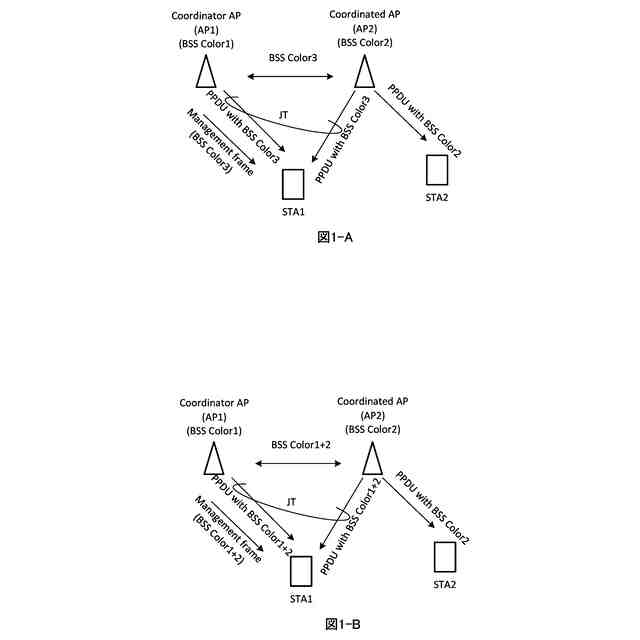
(A)JTを行う複数のBSSにおける各BSS Colorとは別の特別なBSS Colorを設定(図1-A)
(B)JTを行う複数のBSSにおける各BSS Colorをいずれも使用(図1-B)
((A)(B)共通) AP間の協調を主導するCoordinator APと呼ばれるAP(AP1)が属するBSS1では、BSS1内のマネジメントフレームにて、JTのために設定されたBSS Colorの情報をAP1が送信。Coordinator APと協調してJTを行うCoordinated APと呼ばれるAP(AP2)が属するBSS2では、BSS2内のマネジメントフレームにて、BSS2にて元々設定されていたBSS Colorの情報をAP2が送信。JTの対象となるSTA(STA1)向けのデータ送信時には、上記(A)または(B)のように設定したBSS Colorをデータに付加したフレームを両APから送信。
【0008】
この非特許文献1による2つの方法では、JTの対象となるSTA1向けのデータ送信時に、データに付加されて2つのAPからそれぞれ送信されるBSS Colorの情報を一致させることができ、STA1では管理フレームにて予めこのBSS Colorの情報を把握しているため、自身が属するBSS内のデータであるとして受信、復調することができる。
【先行技術文献】
【非特許文献】
【0009】
IEEE802.11-23/1841r0,Nov.2023
【発明の概要】
【発明が解決しようとする課題】
【0010】
図1に示す非特許文献1による方法のうち(A)では、STA1向けのJTによるフレームはAP2が送信しているフレームであるにも関わらず、STA2にとっては別BSSのフレームであると見なされ、STA2が同一リソースを使った送信を行う可能性がある。このような場合、JTとSTA2による送信が互いに干渉し合うという問題が発生する。
(【0011】以降は省略されています)
この特許をJ-PlatPat(特許庁公式サイト)で参照する
関連特許
個人
店内配信予約システム
3か月前
キーコム株式会社
光伝送線路
今日
サクサ株式会社
中継装置
6日前
WHISMR合同会社
収音装置
1か月前
サクサ株式会社
中継装置
5日前
キヤノン株式会社
電子機器
2か月前
キヤノン株式会社
撮像装置
1か月前
アイホン株式会社
電気機器
27日前
個人
ワイヤレスイヤホン対応耳掛け
25日前
サクサ株式会社
無線システム
4日前
キヤノン電子株式会社
画像読取装置
1か月前
株式会社リコー
画像形成装置
2か月前
株式会社リコー
画像形成装置
1か月前
株式会社リコー
画像形成装置
1か月前
サクサ株式会社
無線通信装置
5日前
サクサ株式会社
無線通信装置
5日前
日本電気株式会社
海底分岐装置
今日
個人
発信機及び発信方法
4日前
キヤノン株式会社
撮像システム
27日前
株式会社ニコン
撮像装置
2か月前
ブラザー工業株式会社
読取装置
2か月前
キヤノン電子株式会社
シート材搬送装置
2か月前
株式会社NTTドコモ
端末
今日
パテントフレア株式会社
水中電波通信法
2か月前
DXO株式会社
情報処理システム
2か月前
有限会社フィデリックス
マイクロフォン
11日前
株式会社JVCケンウッド
通信システム
11日前
株式会社NTTドコモ
端末
今日
株式会社松平商会
携帯機器カバー
1か月前
国立大学法人電気通信大学
小型光学装置
1か月前
大日本印刷株式会社
写真撮影装置
26日前
沖電気工業株式会社
画像形成装置
15日前
パテントフレア株式会社
超高速電波通信
1か月前
株式会社小糸製作所
画像照射装置
1か月前
沖電気工業株式会社
画像形成装置
7日前
日本無線株式会社
無線通信システム
1か月前
続きを見る
他の特許を見る