TOP
|
特許
|
意匠
|
商標
特許ウォッチ
Twitter
他の特許を見る
公開番号
2025149950
公報種別
公開特許公報(A)
公開日
2025-10-08
出願番号
2025049572
出願日
2025-03-25
発明の名称
マルチコアプラスチック光ファイバ、光通信ケーブル、および光通信システム
出願人
東レ株式会社
代理人
主分類
G02B
6/02 20060101AFI20251001BHJP(光学)
要約
【課題】
多数のコアを通信に使用することができ、ファイバの取り扱い性に優れ、伝送損失が低く、伝送帯域が広いマルチコアプラスチック光ファイバ、光通信ケーブル、およびそれらを用いた光通信システムを提供する。
【解決手段】
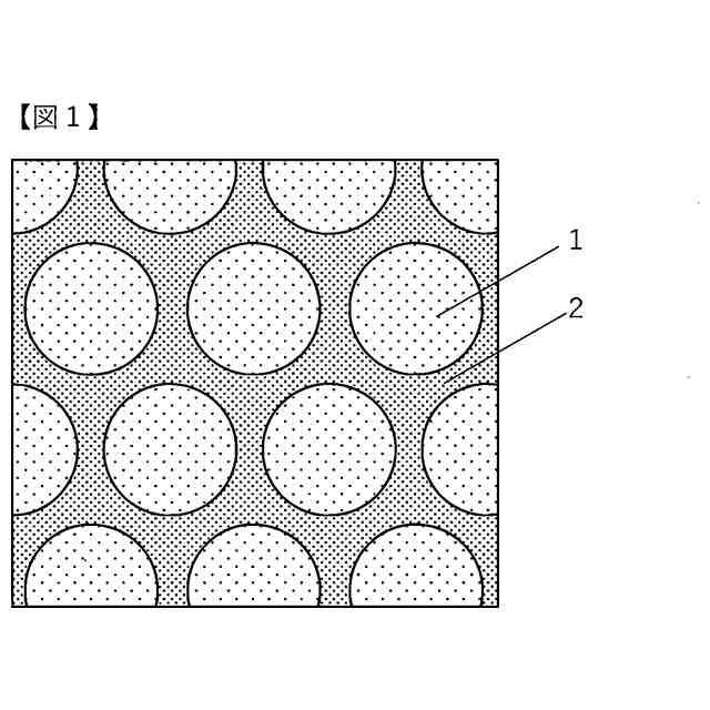
複数のコア、および当該コアを取り囲むクラッド部分からなる断面形態を有するマルチコアプラスチック光ファイバであって、前記マルチコアプラスチック光ファイバ1本あたりの前記複数のコアの数が300個以上であり、前記マルチコアプラスチック光ファイバの繊維軸方向に垂直な断面における、前記複数のコアの配置の少なくとも一部が六方格子を形成し、前記複数のコアの配置における中心を結ぶ三角形において、コアの占める面積の比率が85%以上97%以下であり、前記複数のコア径の平均が25μm以上60μm以下である、マルチコアプラスチック光ファイバ。
【選択図】図1
特許請求の範囲
【請求項1】
複数のコア、および前記複数のコアを取り囲むクラッド部分からなる断面形態を有するマルチコアプラスチック光ファイバであって、前記マルチコアプラスチック光ファイバ1本あたりの前記複数のコアの数が300個以上であり、前記マルチコアプラスチック光ファイバの繊維軸方向に垂直な断面における、前記複数のコアの配置の少なくとも一部が六方格子を形成し、前記複数のコアの配置における最外周を除く任意の隣接する3つのコアの中心を結ぶ三角形において、コアの占める面積の比率が85%以上97%以下であり、前記複数のコアの平均径が25μm以上60μm以下である、マルチコアプラスチック光ファイバ。
続きを表示(約 890 文字)
【請求項2】
前記複数のコアの配置における最外周を除く任意のコアの中心と隣接するコアの中心を結ぶ線上におけるクラッドの厚みが1μm以上である、請求項1に記載のマルチコアプラスチック光ファイバ。
【請求項3】
前記複数のコアの全てを母集団とする真円度の標準偏差が0.100以下である、請求項1または2に記載のマルチコアプラスチック光ファイバ。
【請求項4】
前記マルチコアプラスチック光ファイバの繊維軸方向に垂直な断面における外縁と、前記複数のコアの内、当該外縁に最も近いコアの外縁との最短距離が5μm以上である、請求項1または2に記載のマルチコアプラスチック光ファイバ。
【請求項5】
前記六方格子を形成するように配置されているコアのうち、六角形状に隣接する6つのコアとその中心の1つのコアとからなる7つのコアに、650nmのレーザー光を照射して測定した際の伝送損失が250dB/km以下である、請求項1または2に記載のマルチコアプラスチック光ファイバ。
【請求項6】
前記六方格子を形成するように配置されているコアのうち、六角形状に隣接する6つのコアとその中心の1つのコアとからなる7つのコアに、波長670nmのマルチモードVCSEL光が入射開口数0.2で入るように測定したとき、ファイバ長25mで400MHz以上の帯域を有する、請求項1または2に記載のマルチコアプラスチック光ファイバ。
【請求項7】
請求項1に記載のマルチコアプラスチック光ファイバを含む、光通信ケーブル。
【請求項8】
請求項1または2に記載のマルチコアプラスチック光ファイバ、または請求項7に記載の光通信ケーブルと、複数の信号光を用いて空間多重通信を行う、光通信システム。
【請求項9】
1光源からの光を前記複数のコアにより伝送する、請求項8に記載の光通信システム。
【請求項10】
光源波長が400nm以上700nm以下である、請求項8に記載の光通信システム。
発明の詳細な説明
【技術分野】
【0001】
本発明は、マルチコアプラスチック光ファイバ、光通信ケーブル、および光通信システムに関するものである。
続きを表示(約 2,600 文字)
【背景技術】
【0002】
プラスチック光ファイバは、軽くて曲げやすいという特性を生かし、装飾照明、医療、車載内照明、イメージファイバ、各種センサ、および通信用途など幅広い分野で利用されている。
【0003】
通信用途においては、1本のマルチコアプラスチック光ファイバにて複数の信号伝送を行う空間多重通信が検討されている。例えば、特許文献1では光遮断樹脂を海成分とすることで、さらに特許文献2では透明なコアの周囲に着色コアを配置することで、クロストークを抑制している。
【0004】
また、近年では通信データ量が急激に増大していることから、ファイバ1本あたりの通信容量を増やすことが求められている。
【0005】
一方、マルチコアプラスチック光ファイバは画像伝送用のイメージファイバとして広く活用されている。鮮明な画像表示のためコア数が多いものが望まれており、最適なファイバ構造が提案されている(特許文献3)。しかしながら、画像伝送と空間多重通信ではマルチコアプラスチック光ファイバに求められる特性が異なるため、最適なファイバ構造は同じものではない。
【先行技術文献】
【特許文献】
【0006】
特開平11―258432号公報
特開2009―217172号公報
特開2013―231817号公報
【発明の概要】
【発明が解決しようとする課題】
【0007】
マルチコアプラスチック光ファイバを用いた空間多重通信において、通信量を増やすためには、マルチコアプラスチック光ファイバが多数のコアを有することが必要である。マルチコアプラスチック光ファイバのコア径が大きいほど伝送損失を低く抑えることができるが、大きいコア径でコア数を増やすとファイバ径が太くなり、ファイバが物理的に折り曲げ困難となり取り扱い性が悪化する。またコア径が大きい程、最大通信容量の指針である伝送帯域が小さくなる。特許文献1にかかる光ファイバは、海成分を着色することで、コア間のクロストークを防ぐことは可能であるが、顔料が凝集して異物となる懸念がある。特に多数のコアを持つファイバでは、海成分の面積が限られており、着色成分の添加量はできるだけ少ないことが好ましい。特許文献2にかかる光ファイバは、着色コアを用いているが、その場合通信に使用可能なコア数が減るため、ファイバ1本のコア数が同じであれば、ファイバ1本あたりの通信容量が低下することになるため好ましくない。特に多数のコアで通信を行うマルチコア光ファイバにおいては、コア数・ファイバ径・コア径の最適化が重要であるが、そのファイバ構成について言及されているものはない。
【0008】
そこで、本発明ではかかる従来技術の課題を克服し、多数のコアを通信に使用することができ、ファイバの取り扱い性に優れ、伝送損失が低く、伝送帯域が広いマルチコアプラスチック光ファイバ、光通信ケーブル、およびそれらを用いた光通信システムを提供することを目的とする。
【課題を解決するための手段】
【0009】
本発明およびその好ましい態様は、以下の構成を有する。
(1) 複数のコア、および前記複数のコアを取り囲むクラッド部分からなる断面形態を有するマルチコアプラスチック光ファイバであって、前記マルチコアプラスチック光ファイバ1本あたりの前記複数のコアの数が300個以上であり、前記マルチコアプラスチック光ファイバの繊維軸方向に垂直な断面における、前記複数のコアの配置の少なくとも一部が六方格子を形成し、前記複数のコアの配置における中心を結ぶ三角形において、コアの占める面積の比率が85%以上97%以下であり、前記複数のコアの平均径が25μm以上60μm以下である、マルチコアプラスチック光ファイバ。
(2) 前記複数のコアの配置における最外周を除く任意のコアの中心と隣接するコアの中心を結ぶ線上におけるクラッドの厚みが1μm以上である、(1)に記載のマルチコアプラスチック光ファイバ。
(3) 前記複数のコアの全てを母集団とする真円度の標準偏差が0.100以下である、(1)または(2)に記載のマルチコアプラスチック光ファイバ。
(4) 前記マルチコアプラスチック光ファイバの繊維軸方向に垂直な断面における外縁と、前記複数のコアの内、当該外縁に最も近いコアの外縁との最短距離が5μm以上である、(1)~(3)のいずれかに記載のマルチコアプラスチック光ファイバ。
(5) 前記六方格子を形成するように配置されているコアのうち、六角形状に隣接する6つのコアとその中心の1つのコアとからなる7つのコアに、650nmのレーザー光を照射して測定した際の伝送損失が250dB/km以下である(1)~(4)のいずれかに記載のマルチコアプラスチック光ファイバ。
(6) 前記六方格子を形成するように配置されているコアのうち、六角形状に隣接する6つのコアとその中心の1つのコアとからなる7つのコアに、波長670nmのマルチモードVCSEL光が入射開口数0.2で入るように測定したとき、ファイバ長25mで400MHz以上の帯域を有する、(1)~(5)のいずれかに記載のマルチコアプラスチック光ファイバ。
(7) (1)~(6)のいずれかに記載のマルチコアプラスチック光ファイバを含む、光通信ケーブル。
(8) (1)~(6)のいずれかに記載のマルチコアプラスチック光ファイバ、または(7)に記載の光通信ケーブルと、複数の信号光を用いて空間多重通信を行う、光通信システム。
(9) 1光源からの光を前記複数のコアにより伝送する、(8)に記載の光通信システム。
(10) 光源波長が400nm以上700nm以下である、(8)または(9)に記載の光通信システム。
【発明の効果】
【0010】
本発明によれば、多数のコアを通信に使用することができ、ファイバの取り扱い性に優れ、伝送損失が低く、伝送帯域が広いマルチコアプラスチック光ファイバ、光通信ケーブル、およびそれらを用いた光通信システムを提供することができる。
【図面の簡単な説明】
(【0011】以降は省略されています)
この特許をJ-PlatPat(特許庁公式サイト)で参照する
関連特許
東レ株式会社
浄水器
23日前
東レ株式会社
防護服
5日前
東レ株式会社
複合半透膜
1か月前
東レ株式会社
積層多孔質膜
2か月前
東レ株式会社
積層フィルム
4日前
東レ株式会社
積層フィルム
1か月前
東レ株式会社
風車ブレード
1か月前
東レ株式会社
光透過性表皮材
4日前
東レ株式会社
加飾用フィルム
9日前
東レ株式会社
黒色樹脂組成物
9日前
東レ株式会社
多孔質炭素シート
1か月前
東レ株式会社
多層積層フィルム
25日前
東レ株式会社
不織布の製造装置
3日前
東レ株式会社
テーパ付き円筒部材
4日前
東レ株式会社
太陽電池モジュール
4日前
東レ株式会社
サンドイッチ構造体
1か月前
東レ株式会社
熱硬化性樹脂組成物
1か月前
東レ株式会社
遮熱性アクリル繊維
10日前
東レ株式会社
溶融紡糸口金パック
10日前
東レ株式会社
繊維断面の検査方法
10日前
東レ株式会社
中空糸膜モジュール
9日前
東レ株式会社
ポリエステルフィルム
17日前
東レ株式会社
複合成形体の製造方法
23日前
東レ株式会社
ガス拡散層の製造方法
1か月前
東レ株式会社
引抜成形品の製造方法
1か月前
東レ株式会社
プラスチック光ファイバ
1か月前
東レ株式会社
織物およびシート表皮材
1か月前
東レ株式会社
ポリプロピレンフィルム
9日前
東レ株式会社
霧化状活性液体供給装置
1か月前
東レ株式会社
炭素繊維シートの製造方法
2か月前
東レ株式会社
織物および織物プリプレグ
1か月前
東レ株式会社
ゴム補強用合成繊維コード
17日前
東レ株式会社
透明ディスプレイシステム
1か月前
東レ株式会社
ゴム補強用合成繊維コード
17日前
東レ株式会社
繊維強化プラスチック構造体
1か月前
東レ株式会社
糸送り装置および糸送り方法
5日前
続きを見る
他の特許を見る