TOP
|
特許
|
意匠
|
商標
特許ウォッチ
Twitter
他の特許を見る
10個以上の画像は省略されています。
公開番号
2025149512
公報種別
公開特許公報(A)
公開日
2025-10-08
出願番号
2024050216
出願日
2024-03-26
発明の名称
表示装置および表示装置の制御方法
出願人
セイコーエプソン株式会社
代理人
個人
,
個人
,
個人
主分類
G03B
21/00 20060101AFI20251001BHJP(写真;映画;光波以外の波を使用する類似技術;電子写真;ホログラフイ)
要約
【課題】液晶パネルの劣化を精度よく検出できる表示装置を提供する。
【解決手段】第1波長域の光のうち、第1偏光方向に偏光する第1光を透過させる第1偏光素子と、前記第1光が入射する液晶パネルと、前記液晶パネルに前記第1波長域の光が入射した場合に、前記液晶パネルから出射される前記第1波長域よりも長波長域の光のうち、前記第1偏光方向と異なる第2偏光方向に偏光する第2光を透過させる第2偏光素子と、前記第2光を検出する光検出部と、を有する、表示装置。
【選択図】図2
特許請求の範囲
【請求項1】
第1波長域の光のうち、第1偏光方向に偏光する第1光を透過させる第1偏光素子と、
前記第1光が入射する液晶パネルと、
前記液晶パネルに前記第1波長域の光が入射した場合に、前記液晶パネルから出射される前記第1波長域よりも長波長域の光のうち、前記第1偏光方向と異なる第2偏光方向に偏光する第2光を透過させる第2偏光素子と、
前記第2光を検出する光検出部と、
を有する、表示装置。
続きを表示(約 640 文字)
【請求項2】
請求項1において、
前記第2偏光素子には、前記液晶パネルから出射された前記第1波長域の光が入射する、表示装置。
【請求項3】
請求項1において、
前記液晶パネルから出射された前記第1波長域の光のうち、前記第2偏光方向に偏光する光を透過させる第3偏光素子を有する、表示装置。
【請求項4】
請求項1において、
前記液晶パネルから出射された前記第1波長域の光が入射する光合成装置を有し、
前記光検出部は、前記光合成装置に設けられている、表示装置。
【請求項5】
請求項1において、
前記光検出部は、前記液晶パネルがOFF状態において、前記長波長域の光を検出する、表示装置。
【請求項6】
第1波長域の光のうち、第1偏光方向に偏光する第1光を透過させる第1偏光素子と、
前記第1光が入射する液晶パネルと、
前記液晶パネルに前記第1波長域の光が入射した場合に、前記液晶パネルから出射される前記第1波長域よりも長波長域の光のうち、前記第1偏光方向と異なる第2偏光方向に偏光する第2光を透過させる第2偏光素子と、
を有する表示装置の制御方法であって、
前記第2光を検出する、表示装置の制御方法。
【請求項7】
請求項6において、
前記液晶パネルをOFF状態にした後に、前記長波長域の光を検出する、表示装置の制御方法。
発明の詳細な説明
【技術分野】
【0001】
本発明は、表示装置および表示装置の制御方法に関する。
続きを表示(約 1,600 文字)
【背景技術】
【0002】
投射型の表示装置では、透過型の液晶パネルや反射型の液晶パネルに光源から出射された光を照射し、液晶パネルにより変調された透過光や反射光をスクリーン上に投射する。このような表示装置では、光源から液晶パネルに高強度の光が出射されるため、液晶パネルが劣化する場合がある。
【0003】
例えば特許文献1には、液晶パネルから出射された光束の色度または照度を光学センサーによって検出し、その検出結果に基づいて、光学像の画質状態を判定することにより、冷却手段を制御する液晶表示装置が記載されている。
【先行技術文献】
【特許文献】
【0004】
特開2008-40016号公報
【発明の概要】
【発明が解決しようとする課題】
【0005】
上記のような表示装置では、液晶パネルの劣化を精度よく検出することが望まれている。
【課題を解決するための手段】
【0006】
本発明に係る表示装置の一態様は、
第1波長域の光のうち、第1偏光方向に偏光する第1光を透過させる第1偏光素子と、
前記第1光が入射する液晶パネルと、
前記液晶パネルに前記第1波長域の光が入射した場合に、前記液晶パネルから出射される前記第1波長域よりも長波長域の光のうち、前記第1偏光方向と異なる第2偏光方向に偏光する第2光を透過させる第2偏光素子と、
前記第2光を検出する光検出部と、
を有する。
【0007】
本発明に係る表示装置の制御方法の一態様は、
第1波長域の光のうち、第1偏光方向に偏光する第1光を透過させる第1偏光素子と、
前記第1光が入射する液晶パネルと、
前記液晶パネルに前記第1波長域の光が入射した場合に、前記液晶パネルから出射される前記第1波長域よりも長波長域の光のうち、前記第1偏光方向と異なる第2偏光方向に偏光する第2光を透過させる第2偏光素子と、
を有する表示装置の制御方法であって、
前記第2光を検出する。
【図面の簡単な説明】
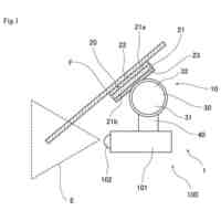
【0008】
本実施形態に係る表示装置を模式的に示す図。
本実施形態に係る表示装置を模式的に示す斜視図。
本実施形態に係る表示装置の液晶パネルを模式的に示す図。
本実施形態に係る表示装置の液晶パネルを模式的に示す断面図。
液晶層に青色光を照射したときのフォトルミネッセンスの経時変化を説明するためのグラフ。
液晶パネルの加速劣化試験におけるフォトルミネッセンスの経時変化を説明するためのグラフ。
液晶パネルの加速劣化試験におけるフォトルミネッセンスの経時変化を説明するためのグラフ。
液晶パネルの電気光学特性を説明するためのグラフ。
本実施形態に係る表示装置の制御部の処理を説明するためのフローチャート。
本実施形態の変形例に係る表示装置を模式的に示す図。
本実施形態の変形例に係る表示装置を模式的に示す斜視図。
【発明を実施するための形態】
【0009】
以下、本発明の好適な実施形態について、図面を用いて詳細に説明する。なお、以下に説明する実施形態は、特許請求の範囲に記載された本発明の内容を不当に限定するものではない。また、以下で説明される構成の全てが本発明の必須構成要件であるとは限らない。
【0010】
1. 表示装置
1.1. 全体の構成
まず、本実施形態に係る表示装置100について、図面を参照しながら説明する。図1は、本実施形態に係る表示装置100を模式的に示す図である。
(【0011】以降は省略されています)
この特許をJ-PlatPat(特許庁公式サイト)で参照する
関連特許
日本精機株式会社
車両用投射装置
1日前
キヤノン株式会社
トナー
2日前
キヤノン株式会社
トナー
7日前
アイホン株式会社
カメラシステム
1日前
スタンレー電気株式会社
照明装置
3日前
株式会社電気印刷研究所
静電印刷用積層体
7日前
アイホン株式会社
カメラ装置の保持構造
1日前
ブラザー工業株式会社
画像形成装置
2日前
ブラザー工業株式会社
画像形成装置
1日前
ブラザー工業株式会社
画像形成装置
2日前
ブラザー工業株式会社
画像形成装置
2日前
ブラザー工業株式会社
画像形成装置
2日前
ブラザー工業株式会社
画像形成装置
2日前
ブラザー工業株式会社
画像形成装置
2日前
ブラザー工業株式会社
画像形成装置
1日前
住友理工株式会社
電子写真機器用帯電ロール
2日前
住友理工株式会社
電子写真機器用帯電ロール
2日前
ブラザー工業株式会社
画像形成装置
7日前
キヤノン株式会社
トナー
2日前
キヤノン株式会社
トナー
2日前
キヤノン株式会社
グリップ型駆動装置
2日前
株式会社オーク製作所
露光装置および露光方法
7日前
キヤノン株式会社
レンズ装置および撮像装置
1日前
株式会社JVCケンウッド
ドライブレコーダ
1日前
キヤノン株式会社
画像形成装置
3日前
株式会社フジタ
保護具
2日前
キヤノン株式会社
画像形成装置
3日前
キヤノン株式会社
画像形成装置
1日前
キヤノン株式会社
画像形成装置
3日前
キヤノン株式会社
画像形成装置
3日前
味の素株式会社
感光性樹脂組成物
7日前
株式会社オーク製作所
露光装置およびアライメント方法
7日前
ブラザー工業株式会社
画像形成装置
2日前
ブラザー工業株式会社
画像形成装置
1日前
ブラザー工業株式会社
画像形成装置
1日前
京セラドキュメントソリューションズ株式会社
画像形成装置
3日前
続きを見る
他の特許を見る