TOP
|
特許
|
意匠
|
商標
特許ウォッチ
Twitter
他の特許を見る
10個以上の画像は省略されています。
公開番号
2025147766
公報種別
公開特許公報(A)
公開日
2025-10-07
出願番号
2024048173
出願日
2024-03-25
発明の名称
画像形成装置
出願人
京セラドキュメントソリューションズ株式会社
代理人
個人
,
個人
主分類
G03G
21/16 20060101AFI20250930BHJP(写真;映画;光波以外の波を使用する類似技術;電子写真;ホログラフイ)
要約
【課題】ユーザーが不用意に定着ユニットを本体から引き出すことを防止できること。
【解決手段】可動部材62は、引出口カバー104が閉じられているときに基準位置において引出口カバー104の第1係合部61aと係合する第2係合部62aを有する。前記可動部材62および前記引出口カバー104の一方は、摺動面61bを有する。前記可動部材62および前記引出口カバー104の他方は、接触部62bを有する。前記引出口カバー104が閉位置へ移動する過程において、前記可動部材62は、前記接触部62bが前記摺動面61bを摺動することによって受ける力により退避位置へ移動する。前記引出口カバー104が前記閉位置に位置するときに、前記可動部材62が第2方向付勢部材63の付勢力によって前記基準位置に保持されるとともに前記引出口カバー104が前記第1係合部61aおよび前記第2係合部62aの係合によって前記閉位置に保持される。
【選択図】図10
特許請求の範囲
【請求項1】
引出開口が形成された側面を有する本体と、
前記本体内に配置され、前記本体内で搬送されるシート上のトナー像を加熱する定着部材を有し、前記本体内から前記引出開口を通じて第1方向に沿って引き出し可能な定着ユニットと、
前記引出開口を塞ぎ、前記本体内の部材と係合する第1係合部を有する引出口カバーと、
前記引出口カバーを、前記引出開口を塞ぐ閉位置と前記引出開口を開放する開位置との間で回動可能に支持するカバー支持機構と、
前記本体内において前記第1方向に交差する第2方向に沿って移動可能に配置され、前記引出口カバーが閉じられているときに前記第2方向の基準位置において前記第1係合部と係合する第2係合部を有し、前記第2方向の退避位置において前記第2係合部の前記第1係合部との係合を解除する可動部材と、
前記可動部材を前記第2方向に沿って前記基準位置へ向けて付勢する第2方向付勢部材と、を備え、
前記可動部材および前記引出口カバーの一方は、前記第1方向に対して傾斜した摺動面を有し、
前記可動部材および前記引出口カバーの他方は、前記引出口カバーが閉じられるときに前記摺動面に接触する接触部を有し、
前記引出口カバーが前記開位置から前記閉位置へ移動する過程において、前記可動部材は、前記接触部が前記摺動面を摺動することによって受ける力により前記第2方向付勢部材の付勢力に抗して前記基準位置から前記退避位置へ移動し、
前記引出口カバーが前記閉位置に位置するときに、前記接触部と前記摺動面との接触が解除され、前記可動部材が前記第2方向付勢部材の付勢力によって前記基準位置に保持されるとともに前記引出口カバーが前記第1係合部および前記第2係合部の係合によって前記閉位置に保持される、画像形成装置。
続きを表示(約 1,100 文字)
【請求項2】
前記引出口カバーは、前記引出口カバーが前記開位置に位置するときに前記本体の一部と係合する第3係合部を有し、
前記本体は、弾性変形可能であり、前記引出口カバーが前記開位置に位置するときに前記第3係合部と係合する第4係合部を有し、
前記引出口カバーが受ける前記閉位置の方向への力が所定の維持力を超えたときに、前記第4係合部が弾性変形することにより前記第3係合部および前記第4係合部の係合が解除される、請求項1に記載の画像形成装置。
【請求項3】
前記第1係合部は、前記引出口カバーにおける前記引出開口を塞ぐ部分から前記本体の内側へ突出した突出部に形成されている、請求項2に記載の画像形成装置。
【請求項4】
前記カバー支持機構は、
前記本体に設けられ、前記引出口カバーの回動中心線に沿う特定方向に弾性変形可能な弾性部と、
前記本体に取り外し可能に取り付けられ、前記弾性部の前記特定方向への変形を規制する規制部材と、
前記引出口カバーおよび前記弾性部の一方に、前記特定方向に沿って凸状に形成された支軸部と、
前記引出口カバーおよび前記弾性部の他方に、前記支軸部が嵌め入れられる凹状に形成された軸受部と、を備え、
前記規制部材が前記本体から取り外された状態で、前記弾性部は、前記支軸部が前記軸受部から外れるように前記特定方向へ変形可能である、請求項1から請求項3のいずれか1項に記載の画像形成装置。
【請求項5】
前記本体における前記引出開口が形成された側面とは異なる側面に形成された特定開口を開閉可能な特定カバーを備え、
前記可動部材は、前記本体内における前記特定開口からアクセス可能な位置に配置されている、請求項1から請求項3のいずれか1項に記載の画像形成装置。
【請求項6】
前記定着部材を加熱するヒーターと、
前記特定カバーが開かれることにより前記ヒーターへの給電ラインを電気的に遮断し、前記特定カバーが閉じられることにより前記給電ラインを電気的に導通させるスイッチと、を備える、請求項1から請求項3のいずれか1項に記載の画像形成装置。
【請求項7】
前記引出口カバーの内側面または前記定着ユニットにおける前記引出口カバーに対向する面に配置され、前記引出口カバーが閉じられているときに前記定着ユニットを前記本体の一部へ付勢することにより前記第1方向において前記定着ユニットを装着位置に保持する第1方向付勢部材をさらに備える、請求項1から請求項3のいずれか1項に記載の画像形成装置。
発明の詳細な説明
【技術分野】
【0001】
本発明は、本体から引き出し可能な定着ユニットを備える画像形成装置に関する。
続きを表示(約 2,200 文字)
【背景技術】
【0002】
電子写真方式の画像形成装置は、定着装置によってトナー像をシートに定着させる。
【0003】
前記定着装置は、定着部材および加圧ローラーを有する定着ユニットと、前記定着部材を加熱するヒーターを有する加熱ユニットと、に区分される場合がある。
【0004】
また、前記画像形成装置が、操作部材への操作に連動して前記加熱ユニットを加熱位置から退避位置へ移動させる機構を備えることが知られている(例えば、特許文献1参照)。前記加熱ユニットが前記退避位置へ退避されているときに、前記定着ユニットを本体から引き出すことが可能である。
【先行技術文献】
【特許文献】
【0005】
特開2021-86093号公報
【発明の概要】
【発明が解決しようとする課題】
【0006】
ところで、前記定着ユニットは高温になる。そのため、ユーザーが不用意に前記定着ユニットを前記本体から引き出すことを防止できることが望ましい。
【0007】
本発明の目的は、ユーザーが不用意に定着ユニットを本体から引き出すことを防止できる画像形成装置を提供することにある。
【課題を解決するための手段】
【0008】
本発明の一の局面に係る画像形成装置は、本体と、定着ユニットと、引出口カバーと、カバー支持機構と、可動部材と、第2方向付勢部材と、を備える。前記本体は、引出開口が形成された側面を有する。前記定着ユニットは、前記本体内に配置され、前記本体内で搬送されるシート上のトナー像を加熱する定着部材を有し、前記本体内から前記引出開口を通じて第1方向に沿って引き出し可能である。前記引出口カバーは、前記引出開口を塞ぎ、前記本体内の部材と係合する第1係合部を有する。前記カバー支持機構は、前記引出口カバーを、前記引出開口を塞ぐ閉位置と前記引出開口を開放する開位置との間で回動可能に支持する。前記可動部材は、前記本体内において前記第1方向に交差する第2方向に沿って移動可能に配置され、前記引出口カバーが閉じられているときに前記第2方向の基準位置において前記第1係合部と係合する第2係合部を有し、前記第2方向の退避位置において前記第2係合部の前記第1係合部との係合を解除する。前記第2方向付勢部材は、前記可動部材を前記第2方向に沿って前記基準位置へ向けて付勢する。前記可動部材および前記引出口カバーの一方は、前記第1方向に対して傾斜した摺動面を有する。前記可動部材および前記引出口カバーの他方は、前記引出口カバーが閉じられるときに前記摺動面に接触する接触部を有する。前記引出口カバーが前記開位置から前記閉位置へ移動する過程において、前記可動部材は、前記接触部が前記摺動面を摺動することによって受ける力により前記第2方向付勢部材の付勢力に抗して前記基準位置から前記退避位置へ移動する。前記引出口カバーが前記閉位置に位置するときに、前記接触部と前記摺動面との接触が解除され、前記可動部材が前記第2方向付勢部材の付勢力によって前記基準位置に保持されるとともに前記引出口カバーが前記第1係合部および前記第2係合部の係合によって前記閉位置に保持される。
【発明の効果】
【0009】
本発明によれば、ユーザーが不用意に定着ユニットを本体から引き出すことを防止できる画像形成装置を提供することが可能になる。
【図面の簡単な説明】
【0010】
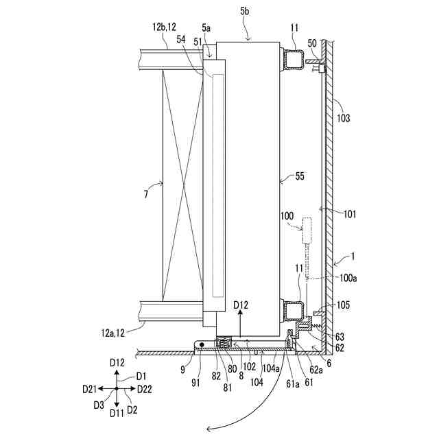
図1は、実施形態に係る画像形成装置の構成図である。
図2は、実施形態に係る画像形成装置における定着装置の一部の構成を示す図である。
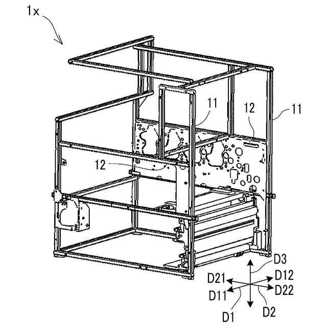
図3は、実施形態に係る画像形成装置における本体フレームの斜視図である。
図4は、実施形態に係る画像形成装置における近接状態の定着装置の正面図である。
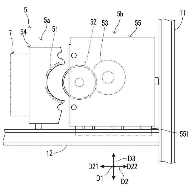
図5は、実施形態に係る画像形成装置における離隔状態の定着装置の正面図である。
図6は、実施形態に係る画像形成装置における定着ユニットの斜視図である。
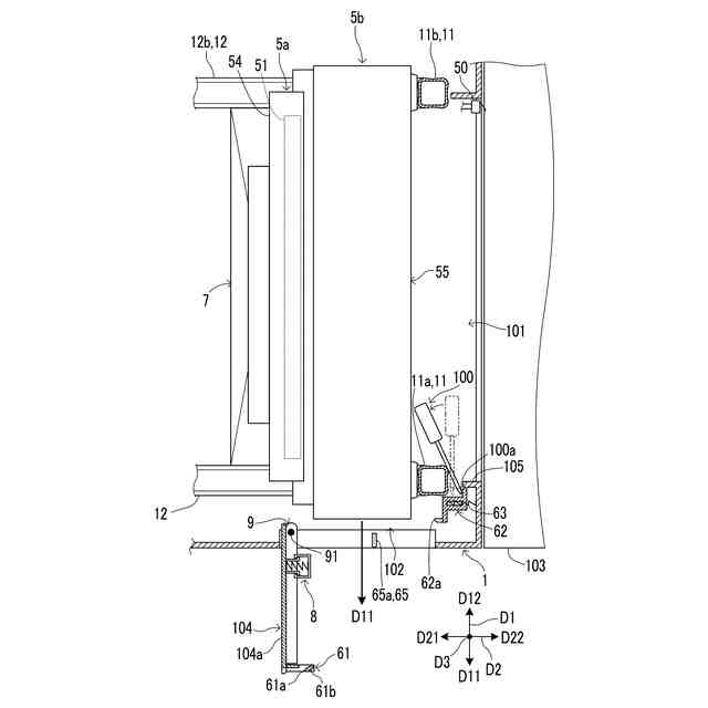
図7は、実施形態に係る画像形成装置における第2カバーが閉じられているときの定着ユニット周辺部の平断面図である。
図8は、実施形態に係る画像形成装置における第2カバーが開かれているときの定着ユニット周辺部の平断面図である。
図9は、実施形態に係る画像形成装置における第2カバーの一部の斜視図である。
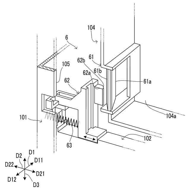
図10は、実施形態に係る画像形成装置における第2カバーの一部および係止機構の第1の斜視図である(第2カバーの内側突出部が可動部材から離れている状態)。
図11は、実施形態に係る画像形成装置における第2カバーの一部および係止機構の第2の斜視図である(第2カバーの内側突出部が可動部材により係止される直前の状態)。
図12は、実施形態に係る画像形成装置における第2カバーの一部および係止機構の第2の斜視図である(第2カバーの内側突出部が可動部材により係止された状態)。
図13は、実施形態に係る画像形成装置におけるカバー支持機構の斜視図である。
図14は、実施形態に係る画像形成装置における規制部材が取り外されているときのカバー支持機構の斜視図である。
【発明を実施するための形態】
(【0011】以降は省略されています)
この特許をJ-PlatPat(特許庁公式サイト)で参照する
関連特許
株式会社シグマ
絞りユニット
24日前
平和精機工業株式会社
雲台
1か月前
キヤノン株式会社
撮像装置
1か月前
日本精機株式会社
車両用投射装置
3日前
キヤノン株式会社
撮像装置
17日前
キヤノン株式会社
撮像装置
23日前
株式会社リコー
画像形成装置
2か月前
株式会社リコー
画像形成装置
2か月前
株式会社リコー
画像形成装置
1か月前
株式会社リコー
画像形成装置
2か月前
株式会社リコー
画像形成装置
1か月前
株式会社リコー
画像形成装置
13日前
キヤノン株式会社
画像形成装置
1か月前
ブラザー工業株式会社
再生方法
2か月前
キヤノン株式会社
画像形成装置
2か月前
キヤノン株式会社
画像形成装置
2か月前
株式会社オプトル
プロジェクタ
16日前
キヤノン株式会社
画像形成装置
2か月前
キヤノン株式会社
画像形成装置
2か月前
キヤノン株式会社
トナー
4日前
株式会社オプトル
プロジェクタ
1か月前
シャープ株式会社
画像形成装置
1か月前
キヤノン株式会社
画像形成装置
1か月前
キヤノン株式会社
画像形成装置
2か月前
キヤノン株式会社
トナー
9日前
キヤノン株式会社
画像形成装置
1か月前
キヤノン株式会社
トナー
1か月前
株式会社シグマ
絞り機構及びレンズ鏡筒
1か月前
アイホン株式会社
カメラシステム
3日前
スタンレー電気株式会社
照明装置
5日前
アイホン株式会社
機器の設置構造
1か月前
沖電気工業株式会社
画像形成装置
1か月前
アイホン株式会社
機器の設置構造
1か月前
キヤノン株式会社
現像装置
2日前
興和株式会社
マウント構造
2か月前
株式会社リコー
画像形成装置
2か月前
続きを見る
他の特許を見る