TOP
|
特許
|
意匠
|
商標
特許ウォッチ
Twitter
他の特許を見る
10個以上の画像は省略されています。
公開番号
2025148959
公報種別
公開特許公報(A)
公開日
2025-10-08
出願番号
2024049357
出願日
2024-03-26
発明の名称
画像処理装置、方法およびプログラム、並びに学習装置、方法およびプログラム
出願人
富士フイルム株式会社
代理人
弁理士法人太陽国際特許事務所
主分類
A61B
6/03 20060101AFI20251001BHJP(医学または獣医学;衛生学)
要約
【課題】画像処理装置、方法およびプログラム、並びに学習装置、方法およびプログラムにおいて、スカウト画像のような断層画像に対象とする解剖構造が含まれない場合であっても、断層画像に基づいて対象とする解剖構造の位置を特定できるようにする。
【解決手段】少なくとも1つのプロセッサを備え、プロセッサは、特定解剖構造を含むように身体内部を撮影することにより取得された複数の断層画像を使用した対照学習により構築された導出モデルであって、特定解剖構造に関してあらかじめ定められた身体内部における相対的な基準位置に基づいて、身体内部における規格化された相対位置を導出するように対照学習により構築された導出モデルに、少なくとも1つの処理対象断層画像を入力し、導出モデルにより、少なくとも1つの処理対象断層画像の身体内部における規格化された相対位置を導出する。
【選択図】図3
特許請求の範囲
【請求項1】
少なくとも1つのプロセッサを備え、
前記プロセッサは、
特定解剖構造を含むように身体内部を撮影することにより取得された複数の断層画像を使用した対照学習により構築された導出モデルであって、前記特定解剖構造に関してあらかじめ定められた前記身体内部における相対的な基準位置に基づいて、前記身体内部における規格化された相対位置を導出するように対照学習により構築された導出モデルに、少なくとも1つの処理対象断層画像を入力し、
前記導出モデルにより、前記少なくとも1つの処理対象断層画像の身体内部における規格化された相対位置を導出する画像処理装置。
続きを表示(約 1,600 文字)
【請求項2】
前記特定解剖構造の基準位置は、前記身体内部におけるランドマークの位置である請求項1に記載の画像処理装置。
【請求項3】
前記導出モデルは、前記特定解剖構造の規格化された相対位置を前記基準位置と一致させるための損失を導出し、前記損失が小さくなるように学習対象のモデルを対照学習することにより構築される請求項1または2に記載の画像処理装置。
【請求項4】
前記プロセッサは、導出された前記相対位置を絶対位置に変換する請求項1に記載の画像処理装置。
【請求項5】
前記プロセッサは、前記絶対位置に基づく前記特定解剖構造の位置と、前記処理対象断層画像の位置とを表示する請求項4に記載の画像処理装置。
【請求項6】
少なくとも1つのプロセッサを備え、
前記プロセッサは、
特定解剖構造を含む複数の断層画像が入力されると、前記特定解剖構造に関してあらかじめ定められた身体内部における相対的な基準位置に基づいて、前記身体内部の規格化された相対位置を導出するように学習対象のモデルを対照学習することにより、少なくとも1つの処理対象断層画像が入力されると前記少なくとも1つの処理対象断層画像の身体内部における規格化された相対位置を導出する導出モデルを構築する学習装置。
【請求項7】
前記プロセッサは、前記断層画像を前記学習対象のモデルに入力することにより、前記身体内部における規格化された少なくとも1つの第1相対位置を導出し、前記断層画像に前記特定解剖構造が含まれる場合には前記特定解剖構造の規格化された第2相対位置をさらに導出し、
前記第1相対位置を前記身体内部における相対位置と一致させるための第1損失、および前記第2相対位置を前記基準位置と一致させるための第2損失を導出し、
前記第1損失および前記第2損失が小さくなるように前記モデルを学習することにより、前記導出モデルを構築する請求項6に記載の学習装置。
【請求項8】
コンピュータが、特定解剖構造を含むように身体内部を撮影することにより取得された複数の断層画像を使用した対照学習により構築された導出モデルであって、前記特定解剖構造に関してあらかじめ定められた前記身体内部における相対的な基準位置に基づいて、前記身体内部における規格化された相対位置を導出するように対照学習により構築された導出モデルに、少なくとも1つの処理対象断層画像を入力し、
前記導出モデルにより、前記少なくとも1つの処理対象断層画像の身体内部における規格化された相対位置を導出する画像処理方法。
【請求項9】
コンピュータが、特定解剖構造を含む複数の断層画像が入力されると、前記特定解剖構造に関してあらかじめ定められた身体内部における相対的な基準位置に基づいて、前記身体内部の規格化された相対位置を導出するように学習対象のモデルを対照学習することにより、少なくとも1つの処理対象断層画像が入力されると前記少なくとも1つの処理対象断層画像の身体内部における規格化された相対位置を導出する導出モデルを構築する学習方法。
【請求項10】
特定解剖構造を含むように身体内部を撮影することにより取得された複数の断層画像を使用した対照学習により構築された導出モデルであって、前記特定解剖構造に関してあらかじめ定められた前記身体内部における相対的な基準位置に基づいて、前記身体内部における規格化された相対位置を導出するように対照学習により構築された導出モデルに、少なくとも1つの処理対象断層画像を入力する手順と、
前記導出モデルにより、前記少なくとも1つの処理対象断層画像の身体内部における規格化された相対位置を導出する手順とをコンピュータに実行させる画像処理プログラム。
(【請求項11】以降は省略されています)
発明の詳細な説明
【技術分野】
【0001】
本開示は、画像処理装置、方法およびプログラム、並びに学習装置、方法およびプログラムに関する。
続きを表示(約 1,800 文字)
【背景技術】
【0002】
近年、CT(Computed Tomography)装置およびMRI(Magnetic Resonance Imaging)装置等の医療機器の進歩により、より質の高い高解像度の3次元画像が画像診断に用いられるようになってきている。
【0003】
CT装置およびMRI装置等の撮影装置において被検体の撮影を行う場合、撮影範囲を決定するために、3次元画像を取得するための本撮影に先立ってスカウト撮影が行われ、2次元の位置決め用画像(スカウト画像)が取得される。技師等の撮影装置の操作者は、スカウト画像を見ながら本撮影時の撮影範囲を設定する。
【0004】
一方、スカウト画像を見ながらの撮影範囲の設定は、操作者が手動で行う必要があるため、時間を要する。また、操作者の能力および経験に依存するために設定の精度にばらつきが生じる。このため、スカウト画像から自動で撮影範囲を設定するための各種手法が提案されている(例えば非特許文献1参照)。
【先行技術文献】
【非特許文献】
【0005】
Ruiqi Geng MSc, et al, Automated MR Image Prescription of the Liver Using Deep Learning: Development, Evaluation, and Prospective Implementation, 30 December 2022
【発明の概要】
【発明が解決しようとする課題】
【0006】
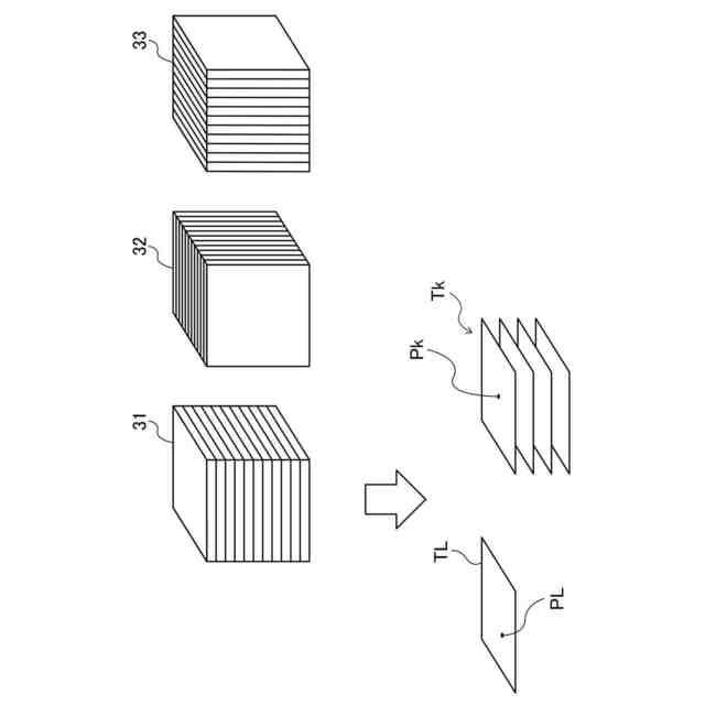
しかしながら、スカウト画像は、本撮影により取得される3次元画像よりもスライス間隔が大きく、かつ断層画像の数も3次元画像よりも少ない。このため、スカウト画像に含まれる断層画像に、対象となる解剖構造が含まれない事態が生じうる。このような場合、断層画像に含まれる他の解剖構造を参照して撮影範囲を設定することが考えられる。しかしながら、断層画像に他の解剖構造が含まれないと、対象とする解剖構造の位置を特定することができず、その結果、撮影範囲を設定することができない。
【0007】
本開示は上記事情に鑑みなされたものであり、スカウト画像のような断層画像に対象とする解剖構造が含まれない場合であっても、断層画像に基づいて対象とする解剖構造の位置を特定できるようにすることを目的とする。
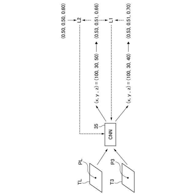
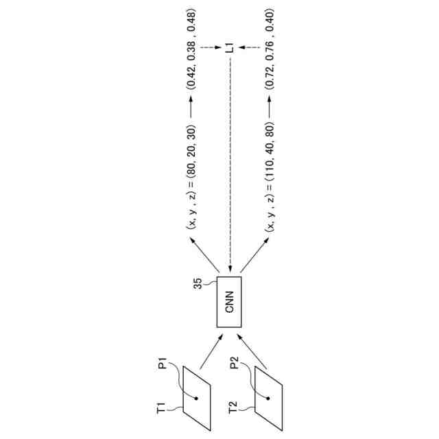
【課題を解決するための手段】
【0008】
本開示による画像処理装置は、少なくとも1つのプロセッサを備え、
プロセッサは、特定解剖構造を含むように身体内部を撮影することにより取得された複数の断層画像を使用した対照学習により構築された導出モデルであって、特定解剖構造に関してあらかじめ定められた身体内部における相対的な基準位置に基づいて、身体内部における規格化された相対位置を導出するように対照学習により構築された導出モデルに、少なくとも1つの処理対象断層画像を入力し、
導出モデルにより、少なくとも1つの処理対象断層画像の身体内部における規格化された相対位置を導出する。
【0009】
本開示による学習装置は、少なくとも1つのプロセッサを備え、
プロセッサは、特定解剖構造を含む複数の断層画像が入力されると、特定解剖構造に関してあらかじめ定められた身体内部における相対的な基準位置に基づいて、身体内部の規格化された相対位置を導出するように学習対象のモデルを対照学習することにより、少なくとも1つの処理対象断層画像が入力されると少なくとも1つの処理対象断層画像の身体内部における規格化された相対位置を導出する。
【0010】
本開示による画像処理方法は、コンピュータが、特定解剖構造を含むように身体内部を撮影することにより取得された複数の断層画像を使用した対照学習により構築された導出モデルであって、特定解剖構造に関してあらかじめ定められた身体内部における相対的な基準位置に基づいて、身体内部における規格化された相対位置を導出するように対照学習により構築された導出モデルに、少なくとも1つの処理対象断層画像を入力し、
導出モデルにより、少なくとも1つの処理対象断層画像の身体内部における規格化された相対位置を導出する。
(【0011】以降は省略されています)
この特許をJ-PlatPat(特許庁公式サイト)で参照する
関連特許
富士フイルム株式会社
積層体
1日前
富士フイルム株式会社
情報処理装置
今日
富士フイルム株式会社
超音波診断装置
2日前
富士フイルム株式会社
計測装置及び方法
2日前
富士フイルム株式会社
積層体及び包装体
今日
富士フイルム株式会社
異方導電性部材及び接合体
今日
富士フイルム株式会社
マウント装置及び撮像装置
1日前
富士フイルム株式会社
回動抑制機構及びレンズ装置
今日
富士フイルム株式会社
導電性フィルム、タッチパネル
今日
富士フイルム株式会社
画像処理装置、方法およびプログラム
1日前
富士フイルム株式会社
硬化物、積層体、及び、半導体デバイス
今日
富士フイルム株式会社
動作音抑制装置及びX線断層像撮影装置
今日
富士フイルム株式会社
硬化物、積層体、及び、半導体デバイス
今日
富士フイルム株式会社
硬化物、積層体、及び、半導体デバイス
今日
富士フイルム株式会社
制御装置、撮像装置、制御方法、及びプログラム
2日前
富士フイルム株式会社
制御装置、撮像装置、制御方法、及びプログラム
2日前
富士フイルム株式会社
制御装置、撮像装置、制御方法、及びプログラム
2日前
富士フイルム株式会社
画像処理装置、画像処理方法、及び画像処理プログラム
6日前
富士フイルム株式会社
画像処理装置、画像処理方法、及び画像処理プログラム
1日前
富士フイルム株式会社
画像処理装置、画像処理方法、及び画像処理プログラム
2日前
富士フイルム株式会社
画像処理装置、画像処理方法、及び画像処理プログラム
1日前
富士フイルム株式会社
医用画像取得案内装置、医用画像取得案内システム、及びプログラム
2日前
富士フイルム株式会社
インクジェットインク、画像記録方法、及び、ラミネート体の製造方法
1日前
富士フイルム株式会社
インクジェット記録方法、メラミン化粧板の製造方法、及びメラミン化粧板
6日前
富士フイルム株式会社
顔料分散物の製造方法、インクジェットインクの製造方法、及び画像記録方法
2日前
富士フイルム株式会社
画像処理装置、方法およびプログラム並びに学習装置、方法およびプログラム
1日前
富士フイルム株式会社
画像処理装置、方法およびプログラム、並びに学習装置、方法およびプログラム
1日前
富士フイルム株式会社
画像処理装置、方法およびプログラム、学習装置、方法およびプログラム並びに解析装置
1日前
富士フイルム株式会社
活性エネルギー線硬化型インクジェットインク、画像記録方法、及び、ラミネート体の製造方法
1日前
富士フイルム株式会社
果菜植物の栽培方法、果菜植物の栽培装置及びトマト植物
6日前
富士フイルム株式会社
樹脂組成物、硬化物、積層体、硬化物の製造方法、積層体の製造方法、半導体デバイスの製造方法、及び、半導体デバイス
今日
富士フイルム株式会社
樹脂組成物、硬化物、積層体、硬化物の製造方法、積層体の製造方法、半導体デバイスの製造方法、及び、半導体デバイス
今日
富士フイルム株式会社
感活性光線性又は感放射線性樹脂組成物、感活性光線性又は感放射線性膜、パターン形成方法、及び電子デバイスの製造方法
今日
個人
健康器具
7か月前
個人
短下肢装具
2か月前
個人
鼾防止用具
7か月前
続きを見る
他の特許を見る