TOP
|
特許
|
意匠
|
商標
特許ウォッチ
Twitter
他の特許を見る
公開番号
2025148920
公報種別
公開特許公報(A)
公開日
2025-10-08
出願番号
2024049283
出願日
2024-03-26
発明の名称
セルスタックの故障検知システム、及び、セルスタックの故障検知方法
出願人
日本特殊陶業株式会社
代理人
弁理士法人プロスペック特許事務所
主分類
C25B
15/00 20060101AFI20251001BHJP(電気分解または電気泳動方法;そのための装置)
要約
【課題】 セルスタックの故障を適切に検知する。
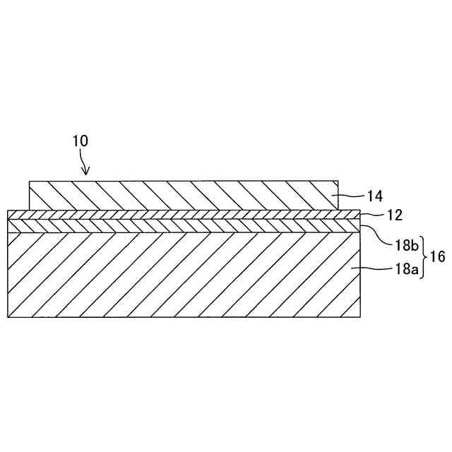
【解決手段】 セルスタックの故障検知システムは、固体電解質層12と空気極14と燃料極16とを含む電解単セル10を複数備え、外部から供給される供給ガスに含まれる燃料ガスを電気分解するように構成されたセルスタック1と、セルスタック1の故障を検知する故障検知部50と、を備える。故障検知部50は、セルスタック1内の燃料極側の空間である燃料室から排出される第1排出ガスの質量流量の理論値と実測値との差分である第1差分の絶対値が所定の第1閾値以上であるという第1条件と、セルスタック内の空気極側の空間である空気室から排出される第2排出ガスの質量流量の理論値と実測値との差分である第2差分の絶対値が所定の第2閾値以上であるという第2条件と、の少なくとも一方が成立する場合にセルスタック1が故障していると判定する。
【選択図】 図1
特許請求の範囲
【請求項1】
固体電解質層と、前記固体電解質層の表面側に積層配置された空気極と、前記固体電解質層の裏面側に積層配置された燃料極と、を含む固体酸化物形の電解単セルを複数備え、外部から供給される供給ガスに含まれる燃料ガスを電気分解するように構成されたセルスタックと、
前記セルスタックの故障を検知する故障検知部と、
を備え、
前記故障検知部は、
前記セルスタック内の燃料極側の空間である燃料室から排出される第1排出ガスの質量流量の理論値と実測値との差分である第1差分の絶対値が所定の第1閾値以上であるという第1条件と、
前記セルスタック内の空気極側の空間である空気室から排出される第2排出ガスの質量流量の理論値と実測値との差分である第2差分の絶対値が所定の第2閾値以上であるという第2条件と、
の少なくとも一方が成立する場合に前記セルスタックが故障していると判定するように構成された、
セルスタックの故障検知システム。
続きを表示(約 3,500 文字)
【請求項2】
請求項1に記載のセルスタックの故障検知システムにおいて、
前記セルスタックに印加されている電流値を取得する電流値取得器と、
前記供給ガスのうち前記燃料室に供給される第1供給ガスの流量である第1供給流量、及び、第1排出ガスの流量である第1排出流量を取得する第1流量取得器と、前記供給ガスのうち前記空気室に供給される第2供給ガスの流量である第2供給流量、及び、第2排出ガスの流量である第2排出流量を取得する第2流量取得器と、の少なくとも一方と、
を備え、
前記第1流量取得器を備える場合、前記故障検知部は、
前記電流値と、前記第1供給流量と、に基づいて前記第1排出ガスの前記質量流量の理論値を演算し、
前記第1排出流量に基づいて前記第1排出ガスの前記質量流量の実測値を取得し、
前記第2流量取得器を備える場合、前記故障検知部は、
前記電流値と、前記第2供給流量と、に基づいて前記第2排出ガスの前記質量流量の理論値を演算し、
前記第2排出流量に基づいて前記第2排出ガスの前記質量流量の実測値を取得する、
ように構成された、
セルスタックの故障検知システム。
【請求項3】
請求項2に記載のセルスタックの故障検知システムであって、
前記第1流量取得器を備える場合、前記故障検知部は、
前記電流値に基づいて、前記燃料ガスの理論消費量と、前記燃料ガスの電気分解により生成される第1生成ガスの理論生成量と、を演算し、
前記第1供給流量と、前記燃料ガスの理論消費量と、第1生成ガスの理論生成量と、に基づいて前記第1排出ガスの前記質量流量の理論値を演算し、
前記第2流量取得器を備える場合、前記故障検知部は、
前記電流値に基づいて、前記燃料ガスの電気分解により生成される第2生成ガスの理論生成量を演算し、
前記第2供給流量と、前記第2生成ガスの理論生成量と、に基づいて前記第2排出ガスの前記質量流量の理論値を演算する、
ように構成された、
セルスタックの故障検知システム。
【請求項4】
請求項1乃至請求項3の何れか一項に記載のセルスタックの故障検知システムであって、
前記第1閾値及び前記第2閾値のそれぞれは、前記電流値と相関を有する可変値、又は、熱中立点に基づいて設定される固定値の何れかである、
セルスタックの故障検知システム。
【請求項5】
請求項1乃至請求項3の何れか一項に記載のセルスタックの故障検知システムであって、
前記第1供給ガスは、前記燃料ガスと、前記燃料極に含まれる触媒の酸化を抑制するための還元ガスと、を含む混合ガスである、
セルスタックの故障検知システム。
【請求項6】
固体電解質層と、前記固体電解質層の表面側に積層配置された空気極と、前記固体電解質層の裏面側に積層配置された燃料極と、を含む固体酸化物形の電解単セルを複数備え、外部から供給される供給ガスに含まれる燃料ガスを電気分解するように構成されたセルスタックと、
前記セルスタックの故障を検知する故障検知部と、
を備え、
前記故障検知部は、
前記セルスタック内の燃料極側の空間である燃料室から排出される第1排出ガスから水蒸気を除去することにより得られる水蒸気除去後第1排出ガスの質量流量の理論値と実測値との差分である第3差分の絶対値が所定の第3閾値以上であるという第3条件と、
前記セルスタック内の空気極側の空間である空気室から排出される第2排出ガスから水蒸気を除去することにより得られる水蒸気除去後第2排出ガスの質量流量の理論値と実測値との差分である第4差分の絶対値が所定の第4閾値以上であるという第4条件と、
の少なくとも一方が成立する場合に前記セルスタックが故障していると判定するように構成された、
セルスタックの故障検知システム。
【請求項7】
請求項6に記載のセルスタックの故障検知システムにおいて、
前記セルスタックに印加されている電流値を取得する電流値取得器と、
前記第1排出ガスを冷却する第1冷却器、及び、第3流量取得器であって、前記供給ガスのうち前記燃料室に供給される第1供給ガスの流量である第1供給流量、及び、前記第1冷却器通過後の第1排出ガスの流量である第1冷却排出流量を取得する、第3流量取得器から成る第1ユニットと、前記第2排出ガスを冷却する第2冷却器、及び、第4流量取得器であって、前記供給ガスのうち前記空気室に供給される第2供給ガスの流量である第2供給流量、及び、前記第2冷却器通過後の第2排出ガスの流量である第2冷却排出流量を取得する、第4流量取得器から成る第2ユニットと、の少なくとも一方と、
を備え、
前記第1ユニットを備える場合、前記故障検知部は、
前記電流値と、前記第1供給流量と、に基づいて前記水蒸気除去後第1排出ガスの前記質量流量の理論値を演算し、
前記第1冷却排出流量と、第1冷却器通過後の前記第1排出ガスに残存している水蒸気量と、に基づいて前記水蒸気除去後第1排出ガスの前記質量流量の実測値を取得し、
前記第2ユニットを備える場合、前記故障検知部は、
前記電流値と、前記第2供給流量と、に基づいて前記水蒸気除去後第2排出ガスの前記質量流量の理論値を演算し、
前記第2冷却排出流量と、第2冷却器通過後の前記第2排出ガスに残存している水蒸気量と、に基づいて前記水蒸気除去後第2排出ガスの前記質量流量の実測値を取得する、
ように構成された、
セルスタックの故障検知システム。
【請求項8】
請求項7に記載のセルスタックの故障検知システムにおいて、
前記第1ユニットを備える場合、前記故障検知部は、
前記電流値に基づいて、前記燃料ガスの理論消費量と、前記燃料ガスの電気分解により生成される第1生成ガスの理論生成量と、を演算し、
前記第1供給流量と、前記燃料ガスの理論消費量と、第1生成ガスの理論生成量と、に基づいて前記水蒸気除去後第1排出ガスの前記質量流量の理論値を演算し、
前記第2ユニットを備える場合、前記故障検知部は、
前記電流値に基づいて、前記燃料ガスの電気分解により生成される第2生成ガスの理論生成量を演算し、
前記第2供給流量と、前記第2生成ガスの理論生成量と、に基づいて前記水蒸気除去後第2排出ガスの前記質量流量の理論値を演算する、
ように構成された、
セルスタックの故障検知システム。
【請求項9】
請求項1乃至請求項3並びに請求項6乃至請求項8の何れか一項に記載のセルスタックの故障検知システムであって、
前記複数の電解単セルのそれぞれは、水素を生成する電解単セル、一酸化炭素を生成する電解単セル、又は、水素及び一酸化炭素を含む合成ガスを生成する電解単セルの何れかとして使用される、
セルスタックの故障検知システム。
【請求項10】
固体電解質層と、前記固体電解質層の表面側に積層配置された空気極と、前記固体電解質層の裏面側に積層配置された燃料極と、を含む固体酸化物形の電解単セルを複数備え、外部から供給される供給ガスに含まれる燃料ガスを電気分解するように構成されたセルスタックの故障検知方法であって、
前記セルスタック内の燃料極側の空間である燃料室から排出される第1排出ガスの質量流量の理論値と実測値との差分である第1差分、及び、前記セルスタック内の空気極側の空間である空気室から排出される第2排出ガスの質量流量の理論値と実測値との差分である第2差分の少なくとも一方を取得することと、
前記第1差分の絶対値が所定の第1閾値以上であるという第1条件と、前記第2差分の絶対値が所定の第2閾値以上であるという第2条件と、の少なくとも一方が成立する場合に前記セルスタックが故障していると判定することと、
を含む、
セルスタックの故障検知方法。
(【請求項11】以降は省略されています)
発明の詳細な説明
【技術分野】
【0001】
本発明は、固体酸化物形の電解セルを備えるセルスタックの故障検知システム、及び、セルスタックの故障検知方法に関する。
続きを表示(約 3,300 文字)
【背景技術】
【0002】
特許文献1には、固体酸化物形の燃料電池を備えるセルスタックの故障検知方法が記載されている。具体的には、セルスタックの開回路電圧をモニタし、電圧値の低下が検出された場合にセルスタックのガスシール性が低下していると判定することにより故障を検知している。このような故障検知方法は、固体酸化物形の電解セルを備えるセルスタックにも適用され得る。
【先行技術文献】
【特許文献】
【0003】
特許05791070号公報
【発明の概要】
【0004】
しかしながら、特許文献1の故障検知方法では、セルスタックの故障を適切に検知できない可能性がある。即ち、セルスタックの開回路電圧は、セルスタックの「温度」、「圧力」、「製造時のばらつき」及び「劣化度」によってセルスタック毎に異なっているため、通常、セルスタック毎に開回路電圧を一定の評価環境で事前に測定し、正確な開回路電圧を取得している。但し、セルスタックを含むシステムを構築すると、セルスタック単独の場合と比較して評価環境が変化するため、上記開回路電圧とは値が変化してしまい、システム内で開回路電圧を基に制御する場合、改めて測定が必要になる。ここで、一般に、セルスタックが備える電解セルは複数の電解単セルにより構成されており、電解単セル毎にガスシール性が担保されている。このため、或る1つの電解単セルの周囲が故障した場合には、故障による開回路電圧の低下を検知するために、電解単セル毎に開回路電圧を測定して電圧値の低下を検出する方法が考えられるが、これを実現するためにはセルスタックに含まれる全ての電解単セルに電圧線を結線しなければならず、工数が大幅に増加するという問題がある。一方で、複数の電解単セルの開回路電圧をまとめて(一括して)測定する方法では、上記故障による開回路電圧の低下量(低下率)は比較的に小さいため、上述したセルスタックの「温度」、「圧力」、「製造時のばらつき」及び「劣化度」に起因した開回路電圧の変動と区別することが極めて難しい。従って、特許文献1の故障検知方法では、開回路電圧の低下量が比較的に大きいタイプの故障(例えば、過半数の電解単セルの周囲でガスシール性が低下するような故障)は検知することができるが、開回路電圧の低下量が比較的に小さいタイプの故障(例えば、1又は数個の電解単セルの周囲でガスシール性が低下するような故障)は適切に検知できないという問題がある。
【0005】
本発明は、上述した問題に対処するためになされたものである。即ち、本発明の目的の一つは、セルスタックの故障を適切に検知することが可能な技術を提供することにある。
【0006】
本発明に係るセルスタックの故障検知システムは、
固体電解質層(12)と、前記固体電解質層の表面側に積層配置された空気極(14)と、前記固体電解質層の裏面側に積層配置された燃料極(16)と、を含む固体酸化物形の電解単セル(10)を複数備え、外部から供給される供給ガスに含まれる燃料ガスを電気分解するように構成されたセルスタック(1)と、
前記セルスタックの故障を検知する故障検知部(50)と、
を備える。
前記故障検知部は、
前記セルスタック内の燃料極側の空間である燃料室(Sf)から排出される第1排出ガスの質量流量の理論値(M1out_t)と実測値(M1out)との差分である第1差分(d1)の絶対値が所定の第1閾値(d1th)以上であるという第1条件と、
前記セルスタック内の空気極側の空間である空気室(Sa)から排出される第2排出ガスの質量流量の理論値(M2out_t)と実測値(M2out)との差分である第2差分(d2)の絶対値が所定の第2閾値(d2th)以上であるという第2条件と、
の少なくとも一方が成立する場合に前記セルスタックが故障していると判定するように構成されている。
【0007】
この故障検知システムは、第1条件と第2条件との少なくとも一方が成立しているか否かに基づいてセルスタックの故障の有無を判定する。セルスタックが正常に動作している場合、第1排出ガス及び第2排出ガスの質量流量の実測値は、それらの理論値とほぼ等しく、第1差分及び第2差分の絶対値は極めて小さい。一方、セルスタックが故障している場合、燃料室と空気室との間でガスがリークするため、第1排出ガス及び第2排出ガスの少なくとも一方の質量流量の実測値が正常時と比較して増減する。その結果、第1差分及び第2差分の少なくとも一方の絶対値が大きくなり、第1条件と第2条件との少なくとも一方が成立する。従って、この構成によれば、1又は数個の電解単セルの周囲でガスシール性が低下するような故障であっても適切に検知することができる。別言すれば、セルスタックの温度及び材料組成のばらつきを考慮することなく故障の有無を判定することが可能になる。加えて、全ての電解単セルに電圧線を結線する必要がなくなるため、工数の大幅な増加を防止できる。結果として、セルスタックの故障を適切に検知することが可能となる。
【0008】
本発明の一側面では、故障検知システムは、
前記セルスタックに印加されている電流値(I)を取得する電流値取得器(22)と、
前記供給ガスのうち前記燃料室(Sf)に供給される第1供給ガスの流量である第1供給流量、及び、第1排出ガスの流量である第1排出流量を取得する第1流量取得器(30,32)と、前記供給ガスのうち前記空気室(Sa)に供給される第2供給ガスの流量である第2供給流量、及び、第2排出ガスの流量である第2排出流量を取得する第2流量取得器(40,42)と、の少なくとも一方と、
を備える。
前記第1流量取得器を備える場合、前記故障検知部(50)は、
前記電流値と、前記第1供給流量と、に基づいて前記第1排出ガスの前記質量流量の理論値(M1out_t)を演算し、
前記第1排出流量に基づいて前記第1排出ガスの前記質量流量の実測値(M1out)を取得し、
前記第2流量取得器を備える場合、前記故障検知部(50)は、
前記電流値と、前記第2供給流量と、に基づいて前記第2排出ガスの前記質量流量の理論値(M2out_t)を演算し、
前記第2排出流量に基づいて前記第2排出ガスの前記質量流量の実測値(M2out)を取得する、
ように構成されている。
【0009】
この構成によれば、第1流量取得器を備える場合においては、第1排出ガスの質量流量の理論値及び実測値の信頼性を担保でき、第2流量取得器を備える場合においては、第2排出ガスの質量流量の理論値及び実測値の信頼性を担保できる。
【0010】
本発明の一側面では、
前記第1流量取得器(30,32)を備える場合、前記故障検知部(50)は、
前記電流値(I)に基づいて、前記燃料ガスの理論消費量(M1c_t)と、前記燃料ガスの電気分解により生成される第1生成ガスの理論生成量(M1g_t)と、を演算し、
前記第1供給流量と、前記燃料ガスの理論消費量と、第1生成ガスの理論生成量と、に基づいて前記第1排出ガスの前記質量流量の理論値(M1out_t)を演算し、
前記第2流量取得器(40,42)を備える場合、前記故障検知部(50)は、
前記電流値に基づいて、前記燃料ガスの電気分解により生成される第2生成ガスの理論生成量(M2g_t)を演算し、
前記第2供給流量と、前記第2生成ガスの理論生成量と、に基づいて前記第2排出ガスの前記質量流量の理論値(M2out_t)を演算する、
ように構成されている。
(【0011】以降は省略されています)
この特許をJ-PlatPat(特許庁公式サイト)で参照する
関連特許
日本特殊陶業株式会社
電極
7日前
日本特殊陶業株式会社
電極
7日前
日本特殊陶業株式会社
電極
7日前
日本特殊陶業株式会社
電極
7日前
日本特殊陶業株式会社
センサ
今日
日本特殊陶業株式会社
センサ
今日
日本特殊陶業株式会社
センサ
今日
日本特殊陶業株式会社
センサ
今日
日本特殊陶業株式会社
センサ
今日
日本特殊陶業株式会社
保持装置
7日前
日本特殊陶業株式会社
保持装置
7日前
日本特殊陶業株式会社
圧電発音体
今日
日本特殊陶業株式会社
セラミック部品
1日前
日本特殊陶業株式会社
ホットモジュール
1日前
日本特殊陶業株式会社
ホットモジュール
1日前
日本特殊陶業株式会社
ガスセンサの製造方法
2日前
日本特殊陶業株式会社
圧電セラミック積層体
今日
日本特殊陶業株式会社
金属有機構造体、および賦形体
3日前
日本特殊陶業株式会社
配線基板および導電層の製造方法
7日前
日本特殊陶業株式会社
配線基板および導電層の製造方法
7日前
日本特殊陶業株式会社
海洋無脊椎動物の陸上養殖システム
7日前
日本特殊陶業株式会社
固体酸化物形電解セルおよびその利用
1日前
日本特殊陶業株式会社
固体酸化物形電解セルおよびその利用
1日前
日本特殊陶業株式会社
固体酸化物形電解セルおよびその利用
1日前
日本特殊陶業株式会社
固体酸化物形電解セルおよびその利用
1日前
日本特殊陶業株式会社
固体酸化物形電解セルおよびその利用
1日前
日本特殊陶業株式会社
固体酸化物形電解セルおよびその利用
1日前
日本特殊陶業株式会社
固体酸化物形電解セルおよびその利用
1日前
日本特殊陶業株式会社
固体酸化物形電解セルおよびその利用
1日前
日本特殊陶業株式会社
固体酸化物形電解セルおよびその利用
1日前
日本特殊陶業株式会社
基板保持部材及びセラミックスサセプタ
3日前
日本特殊陶業株式会社
基板保持部材及びセラミックスサセプタ
3日前
日本特殊陶業株式会社
セラミック組成物、およびセラミック部品
1日前
日本特殊陶業株式会社
セルスタックの故障検知システム、及び、セルスタックの故障検知方法
2日前
日本特殊陶業株式会社
電気化学単セル、セルスタック、ホットモジュール、及び、ガス製造装置
7日前
日本特殊陶業株式会社
複合部材、接合体、および、保持装置
4日前
続きを見る
他の特許を見る