TOP
|
特許
|
意匠
|
商標
特許ウォッチ
Twitter
他の特許を見る
公開番号
2025148086
公報種別
公開特許公報(A)
公開日
2025-10-07
出願番号
2024048675
出願日
2024-03-25
発明の名称
情報処理システム、情報処理方法、及びプログラム
出願人
一般財団法人日本気象協会
代理人
個人
,
個人
主分類
G06Q
10/00 20230101AFI20250930BHJP(計算;計数)
要約
【課題】気象データとビジネスの関係に基づいて今後のビジネスを予測するために支援を行う情報処理システム、方法及びプログラム提供する。
【解決手段】情報処理システムにおいて、気象予測装置3の気象予測部61は、季節の変化時期を含む所定期間(例えば15週先)についての、所定の気象データ(例えば体感指数)の予測値を求める。サーバ1のユーザUI制御部52は、季節の変化時期を含む所定期間についての所定の気象データの予測値と共に、当該所定の気象データと関連するビジネス又は服装に関する別情報をユーザ端末2に表示させる制御を実行し、季節の変化時期を含む所定期間についての所定の気象データの予測値と共に、同一の所定期間についての所定の気象データの実測値をユーザ端末2に重畳表示させる制御を実行する。
【選択図】図3
特許請求の範囲
【請求項1】
季節の変化時期を含む所定期間についての、所定の気象データの予測値を求める気象予測手段
を備える情報処理システム。
続きを表示(約 550 文字)
【請求項2】
前記所定期間についての前記所定の気象データの予測値と共に、当該所定の気象データと関連する別情報を表示させる制御を実行する表示制御手段、
をさらに備える請求項1に記載の情報処理システム。
【請求項3】
前記表示制御手段は、さらに、前記所定期間についての前記所定の気象データの予測値と共に、同一の前記所定期間についての前記所定の気象データの実測値を重畳表示させる制御を実行する、
請求項2に記載の情報処理システム。
【請求項4】
前記所定期間は、4週以上先の期間である、
請求項1に記載の情報処理システム。
【請求項5】
前記所定の気象データは、体感指数のデータを含む、
請求項1に記載の情報処理システム。
【請求項6】
情報処理システムが実行する情報処理方法において、
季節の変化時期を含む所定期間についての、所定の気象データの予測値を求める気象予測ステップ
を含む情報処理方法。
【請求項7】
コンピュータに、
季節の変化時期を含む所定期間についての、所定の気象データの予測値を求める気象予測ステップ
を含む制御処理を実行させるプログラム。
発明の詳細な説明
【技術分野】
【0001】
本発明は、情報処理システム、情報処理方法、及びプログラムに関する。
続きを表示(約 1,200 文字)
【背景技術】
【0002】
従来、将来1年間の各地の気温の予測値等の各地の気象データの将来予測に基づいて、指定された水道管の将来給水需要量を予測する技術(例えば特許文献1参照)は開示されている。
【先行技術文献】
【特許文献】
【0003】
特開2021-140427号公報
【発明の概要】
【発明が解決しようとする課題】
【0004】
しかしながら、気象データとビジネスの関係に基づいて今後のビジネスや適切な服装を予測したいという要望が存在するが、特許文献1を含め従来の技術では当該要望に十分に応えることができない状況である。
【0005】
本発明は、このような状況に鑑みてなされたものであり、気象データとビジネスの関係に基づいて今後のビジネスや適切な服装を予測するために支援となる技術を提供することを目的とする。
【課題を解決するための手段】
【0006】
上記目的を達成するため、本発明の一態様の情報処理システムは、
季節の変化時期を含む所定期間についての、所定の気象データの予測値を求める気象予測手段
を備える。
【発明の効果】
【0007】
本発明によれば、気象データとビジネスの関係に基づいて今後のビジネスや適切な服装等を予測するために支援となる技術を提供することができる。
【図面の簡単な説明】
【0008】
本発明の情報処理装置の一実施形態としてのサーバを含む情報処理システムの構成例を示す図である。
図1の情報処理システムのうちサーバのハードウェア構成の一例を示すブロック図である。
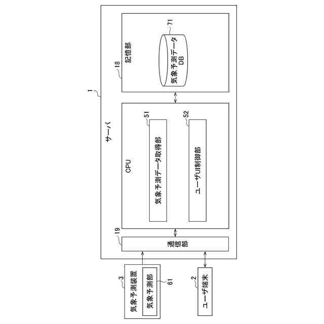
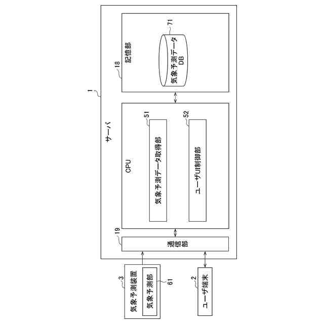
図2のサーバの機能的構成の一例を示す機能ブロック図である。
図3の機能的構成を有するサーバの表示制御により図1のユーザ端末に表示された画面の第1の具体例の夫々を示す図である。
図3の機能的構成を有するサーバの表示制御により図1のユーザ端末に表示された画面の第2の具体例の夫々を示す図である。
図3の機能的構成を有するサーバの表示制御により図1のユーザ端末に表示された画面の第3の具体例の夫々を示す図である。
図3の機能的構成を有するサーバの表示制御により図1のユーザ端末に表示された画面の第3の具体例の夫々を示す図である。
【発明を実施するための形態】
【0009】
以下、図面を参照しながら、本発明の実施形態について説明する。
図1は、本発明の情報処理装置の一実施形態としての気象予測装置を含む情報処理システムの構成例を示す図である。
【0010】
図1に示す情報処理システムは、サーバ1と、ユーザ端末2と、気象予測装置3とが、インターネット等の所定のネットワークを介して相互に接続されることで構成される。
(【0011】以降は省略されています)
この特許をJ-PlatPat(特許庁公式サイト)で参照する
関連特許
一般財団法人日本気象協会
情報処理装置、情報処理方法、及びプログラム
1日前
一般財団法人日本気象協会
情報処理装置、情報処理方法、及びプログラム
1日前
一般財団法人日本気象協会
情報処理装置、情報処理方法、及びプログラム
3か月前
一般財団法人日本気象協会
情報処理装置、情報処理方法、及びプログラム
10か月前
一般財団法人日本気象協会
情報処理システム、情報処理方法、及びプログラム
1日前
株式会社フジテレビジョン
情報処理装置、情報処理方法、及びプログラム
5日前
個人
裁判のAI化
2か月前
個人
フラワーコートA
2か月前
個人
地球保全システム
7日前
個人
情報処理システム
3か月前
個人
工程設計支援装置
1か月前
個人
為替ポイント伊達夢貯
1か月前
個人
介護情報提供システム
2か月前
個人
冷凍食品輸出支援構造
1か月前
個人
設計支援システム
2か月前
個人
残土処理システム
今日
個人
携帯情報端末装置
1か月前
個人
設計支援システム
2か月前
個人
表変換編集支援システム
27日前
個人
知財出願支援AIシステム
1か月前
個人
結婚相手紹介支援システム
1か月前
個人
知的財産出願支援システム
1日前
個人
行動時間管理システム
29日前
個人
パスワード管理支援システム
27日前
株式会社カクシン
支援装置
2か月前
個人
AIによる情報の売買の仲介
1か月前
日本精機株式会社
施工管理システム
1か月前
個人
アンケート支援システム
2か月前
個人
AIキャラクター制御システム
27日前
個人
食品レシピ生成システム
6日前
株式会社キーエンス
受発注システム
6日前
株式会社アジラ
進入判定装置
1か月前
個人
海外支援型農作物活用システム
19日前
株式会社キーエンス
受発注システム
6日前
株式会社キーエンス
受発注システム
6日前
個人
システム及びプログラム
20日前
続きを見る
他の特許を見る