TOP
|
特許
|
意匠
|
商標
特許ウォッチ
Twitter
他の特許を見る
公開番号
2024169184
公報種別
公開特許公報(A)
公開日
2024-12-05
出願番号
2023086438
出願日
2023-05-25
発明の名称
情報処理装置、情報処理方法、及びプログラム
出願人
一般財団法人日本気象協会
代理人
個人
,
個人
主分類
G06Q
30/0242 20230101AFI20241128BHJP(計算;計数)
要約
【課題】ユーザの属性や個人情報に頼らずとも広告効果が向上する広告の処理を実現することが出来る。
【解決手段】需要予測取得部51は、1以上の要素についての需要予測値、気象予測値、需要実績値若しくは需要予測値を示す情報を、需要予測等情報として取得する。広告条件設定部521は、1以上の所定の要素の値を基準とする広告の出稿の可否、及び1以上の所定の要素の値に応じて可変する広告単価の基準を含む広告条件を設定する。広告判断部523は、需要予測等情報により示される所定の要素の値に基づいて、広告の出稿の有無を判断し、有と判断した場合には広告単価を判断して当該広告を出稿する。
【選択図】図8
特許請求の範囲
【請求項1】
1以上の要素についての需要若しくは気象の予測値若しくは実績値を示す情報を、需要予測等情報として取得する需要予測等取得手段と、
前記需要予測等情報に基づいて、所定の広告主の広告に関する処理を実行する広告処理手段と、
を備える情報処理装置。
続きを表示(約 1,000 文字)
【請求項2】
前記広告処理手段は、
前記1以上の要素のうち1以上の所定要素の値を基準とする前記広告の出稿の可否、及び前記1以上の所定要素の値に応じて可変する広告単価の基準を含む広告条件を設定する広告条件設定手段と、
前記需要予測等情報により示される前記1以上の所定要素の値に基づいて、前記広告主の前記広告の出稿の有無を判断し、有と判断した場合には広告単価を判断して当該広告を出稿する広告判断手段と、
を含む請求項1に記載の情報処理装置。
【請求項3】
前記広告条件は、さらに、前記1以上の所定要素の値に応じて可変する日予算の基準を含み、
前記広告判断手段は、さらに、前記需要予測等情報により示される前記1以上の所定要素の値に基づいて、前記広告主の広告の日予算を判断する、
請求項2に記載の情報処理装置。
【請求項4】
前記広告条件は、さらに、広告主により予め複数の広告の内容を含み、
前記広告判断手段は、さらに、
前記1以上の要素のうち1以上の所定要素の値を基いて広告の内容を変更させる、
請求項2に記載の情報処理装置。
【請求項5】
前記広告処理手段は、
前記広告主用のタグを設定し、当該タグを利用した処理を実行するタグ処理手段と、
前記タグ処理手段による処理の結果を含むレポートを作成して前記広告主に通知する広告主通知手段と、
をさらに備える請求項1に記載の情報処理装置。
【請求項6】
情報処理装置が実行する情報処理方法において、
1以上の要素についての需要若しくは気象の予測値若しくは実績値を示す情報を、需要予測等情報として取得する需要予測等取得ステップと、
前記需要予測等情報に基づいて、所定の広告主の広告に関する処理を実行する広告処理ステップと、
を含む情報処理方法。
【請求項7】
コンピュータに、
1以上の要素についての需要若しくは気象の予測値若しくは実績値を示す情報を、需要予測等情報として取得する需要予測等取得ステップと、
前記需要予測等情報に基づいて、所定の広告主の広告に関する処理を実行する広告処理ステップと、
を含む制御処理を実行させるプログラム。
発明の詳細な説明
【技術分野】
【0001】
本発明は、情報処理装置、情報処理方法、及びプログラムに関する。
続きを表示(約 1,500 文字)
【背景技術】
【0002】
従来より、ウェブページに掲載される広告について、ウェブページを閲覧するユーザの属性に応じた内容の広告を掲載することでユーザに提示するターゲティング広告といった手法が採用されている(例えば特許文献1参照)。
上述のターゲティング広告においては、ユーザ又は当該ユーザが利用する端末を追跡し、そのユーザ等の属性を判定し、ユーザ等の属性に応じた広告を掲載することで、当該広告の効果を増大させることが行われている。このように、ユーザ又は当該ユーザが利用する端末を追跡する手法として、例えば、ユーザが利用する端末のウェブブラウザに保存させたCookieを用いる手法が存在する。
【先行技術文献】
【特許文献】
【0003】
特開2016-062380号公報
【発明の概要】
【発明が解決しようとする課題】
【0004】
ここで、デジタル広告やEC(Electronic Commerce)広告において、個人情報に対する意識の高まりから欧米を中心にGDPR(General Data Protection Regulation)等法整備が進んでいる。これを受け、ウェブブラウザ側においても、サードパーティCookieの廃止が計画されつつある。
このような、デジタル広告やEC分野において、個人情報に対する意識の高まりや、GDPR等の法律への対応が所望されている。
【0005】
本発明は、ユーザの属性や個人情報に頼らずとも広告効果が向上する広告の処理の実現を目的とする。
【課題を解決するための手段】
【0006】
上記目的を達成するため、本発明の一態様の情報処理装置は、
1以上の要素についての需要若しくは気象の予測値若しくは実績値を示す情報を、需要予測等情報として取得する需要予測等取得手段と、
前記需要予測等情報に基づいて、所定の広告主の広告に関する処理を実行する広告処理手段と、
を備える。
【0007】
本発明の一態様の情報処理方法及びプログラムの夫々は、本発明の一態様の情報処理装置に対応する方法及びプログラムの夫々である。
【発明の効果】
【0008】
本発明によれば、ユーザの属性や個人情報に頼らずとも広告効果が向上する広告の処理を実現することが出来る。
【図面の簡単な説明】
【0009】
本発明の情報処理装置の一実施形態に係るサーバが適用される広告システムにより実現可能となる本サービスの概要を示す図である。
図1の本サービスにおける広告出稿の可否及び広告単価の変更の一例を示す図である。
図1の本サービスにおける広告配信レポートの提供の流れを示す図である。
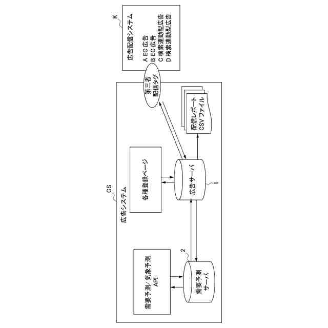
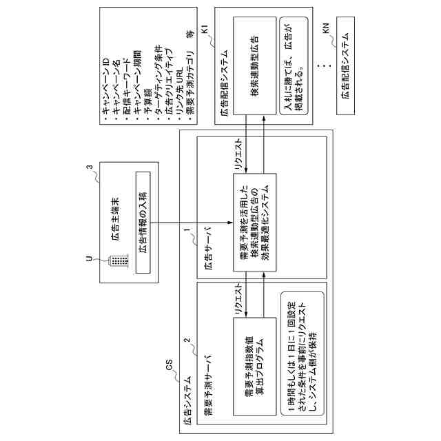
図1の本サービスにおける広告の入稿から広告の結果のレポート提供の一連の流れを示す図である。
図1の本サービスにおける広告の入稿から広告の結果のレポート提供の一連の流れのフローを示す図である。
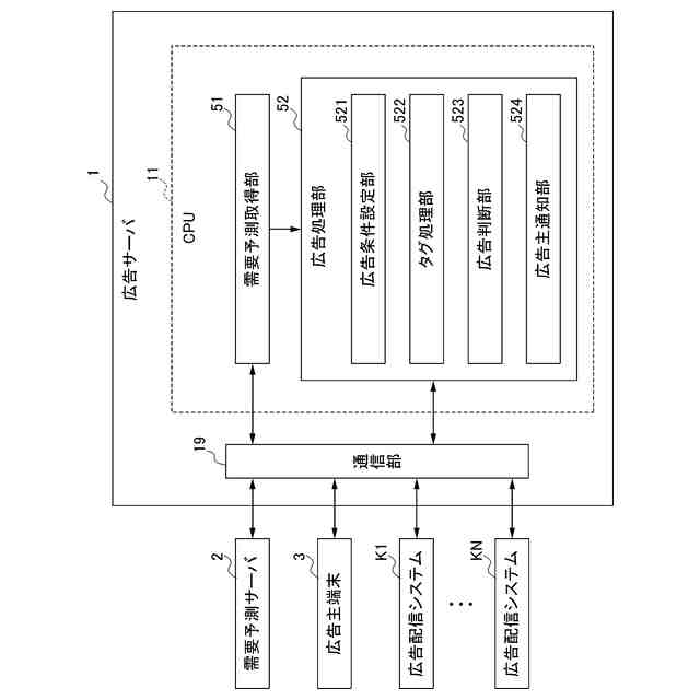
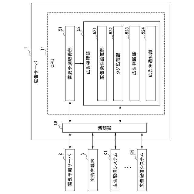
本発明の情報処理装置の一実施形態に係る広告サーバが適用される情報処理システムの構成の一例を示す図である。
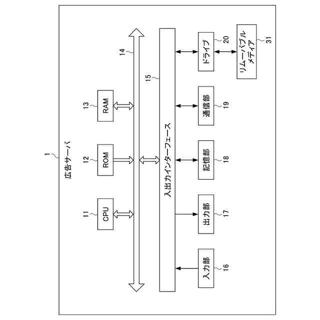
図6に示す情報処理システムのうち広告サーバのハードウェア構成の一例を示すブロック図である。
図6の情報処理システムに含まれる図7のサーバの機能的構成の一例を示す機能ブロック図である。
【発明を実施するための形態】
【0010】
以下、本発明の実施形態について図面を用いて説明する。
(【0011】以降は省略されています)
この特許をJ-PlatPat(特許庁公式サイト)で参照する
関連特許
一般財団法人日本気象協会
情報処理装置、情報処理方法、及びプログラム
1日前
一般財団法人日本気象協会
情報処理装置、情報処理方法、及びプログラム
1日前
一般財団法人日本気象協会
情報処理装置、情報処理方法、及びプログラム
3か月前
一般財団法人日本気象協会
情報処理システム、情報処理方法、及びプログラム
1日前
株式会社フジテレビジョン
情報処理装置、情報処理方法、及びプログラム
5日前
個人
工程設計支援装置
1か月前
個人
フラワーコートA
2か月前
個人
地球保全システム
7日前
個人
冷凍食品輸出支援構造
1か月前
個人
為替ポイント伊達夢貯
1か月前
個人
介護情報提供システム
2か月前
個人
設計支援システム
2か月前
個人
設計支援システム
2か月前
個人
携帯情報端末装置
1か月前
個人
残土処理システム
今日
個人
表変換編集支援システム
27日前
個人
知財出願支援AIシステム
1か月前
個人
知的財産出願支援システム
1日前
個人
結婚相手紹介支援システム
1か月前
個人
行動時間管理システム
29日前
個人
AIによる情報の売買の仲介
1か月前
個人
パスワード管理支援システム
27日前
個人
アンケート支援システム
2か月前
個人
パスポートレス入出国システム
1か月前
個人
AIキャラクター制御システム
27日前
個人
海外支援型農作物活用システム
19日前
個人
食品レシピ生成システム
6日前
日本精機株式会社
施工管理システム
1か月前
株式会社キーエンス
受発注システム
6日前
株式会社キーエンス
受発注システム
6日前
個人
システム及びプログラム
20日前
株式会社アジラ
進入判定装置
1か月前
株式会社キーエンス
受発注システム
6日前
個人
未来型家系図構築システム
19日前
個人
SaaS型勤務調整支援システム
27日前
大阪瓦斯株式会社
住宅設備機器
1か月前
続きを見る
他の特許を見る