TOP
|
特許
|
意匠
|
商標
特許ウォッチ
Twitter
他の特許を見る
公開番号
2025148084
公報種別
公開特許公報(A)
公開日
2025-10-07
出願番号
2024048673
出願日
2024-03-25
発明の名称
情報処理装置、情報処理方法、及びプログラム
出願人
一般財団法人日本気象協会
代理人
個人
,
個人
主分類
G06Q
50/10 20120101AFI20250930BHJP(計算;計数)
要約
【課題】気象データとビジネスの関係に基づいて今後のビジネスを予測するために支援となる技術を提供すること。
【解決手段】気象予測データ取得部51は、所定の気象データについての、所定期間の予測値を気象予測装置3から取得する。実気象データ取得部52は、当該所定の気象データについての、所定期間と同一の過去の期間の実測値を実気象データ提供装置4から取得する。ユーザUI制御部53は、所定の気象データについての予測値及び実測値をユーザ端末2に重畳表示させる制御を実行する。
【選択図】図3
特許請求の範囲
【請求項1】
所定の気象データについての、所定期間の予測値を取得する気象予測取得手段と、
当該所定の気象データについての、前記所定期間と同一の過去の期間の実測値を取得する実気象取得手段と、
前記所定の気象データについての前記予測値及び前記実測値を重畳表示させる制御を実行する表示制御手段と、
を備える情報処理装置。
続きを表示(約 770 文字)
【請求項2】
前記予測値は、今年の前記所定期間の予測値であり、
前記実測値は、去年以前の所定年の同一の前記所定期間の実測値である、
請求項1に記載の情報処理装置。
【請求項3】
前記予測値は、今年の前記所定期間の予測値であり、
前記実測値は、去年以前の複数年の同一の前記所定期間の夫々の複数の実測値を用いる所定の演算手法にしたがって演算された結果得られる値である、
請求項1に記載の情報処理装置。
【請求項4】
前記表示制御手段は、さらに、前記所定の気象データとは異なるデータについての、前記所定期間の予測値、及び、前記所定期間と同一の前記過去の期間の実績値を重畳表示させる制御を実行する、
請求項1に記載の情報処理装置。
【請求項5】
情報処理装置が実行する情報処理方法において、
所定の気象データについての、所定期間の予測値を取得する気象予測取得ステップと、
当該所定の気象データについての、前記所定期間と同一の過去の期間の実測値を取得する実気象データ取得ステップと、
前記所定の気象データについての前記予測値及び前記実測値を重畳表示させる制御を実行する表示制御ステップと、
を含む情報処理方法。
【請求項6】
コンピュータに、
所定の気象データについての、所定期間の予測値を取得する気象予測取得ステップと、
当該所定の気象データについての、前記所定期間と同一の過去の期間の実測値を取得する実気象データ取得ステップと、
前記所定の気象データについての前記予測値及び前記実測値を重畳表示させる制御を実行する表示制御ステップと、
を含む制御処理を実行させるプログラム。
発明の詳細な説明
【技術分野】
【0001】
本発明は、情報処理装置、情報処理方法、及びプログラムに関する。
続きを表示(約 1,200 文字)
【背景技術】
【0002】
雨水排水支援として、雨水排水制御対象のポンプ場等への雨水流入について、流入量予測データと実績データとを表示する技術(例えば特許文献1参照)は開示されている。
【先行技術文献】
【特許文献】
【0003】
特許5289474号公報
【発明の概要】
【発明が解決しようとする課題】
【0004】
しかしながら、気象データとビジネスの関係に基づいて今後のビジネスを予測したいという要望が存在するが、特許文献1を含め従来の技術では当該要望に十分に応えることができない状況である。
【0005】
本発明は、このような状況に鑑みてなされたものであり、気象データとビジネスの関係に基づいて今後のビジネスを予測するために支援となる技術を提供することを目的とする。
【課題を解決するための手段】
【0006】
上記目的を達成するため、本発明の一態様の情報処理装置は、
所定の気象データについての、所定期間の予測値を取得する気象予測取得手段と、
当該所定の気象データについての、前記所定期間と同一の過去の期間の実測値を取得する実気象取得手段と、
前記所定の気象データについての前記予測値及び前記実測値を重畳表示させる制御を実行する表示制御手段と、
を備える。
【発明の効果】
【0007】
本発明によれば、気象データとビジネスの関係に基づいて今後のビジネスを予測するために支援となる技術を提供することができる。
【図面の簡単な説明】
【0008】
本発明の情報処理装置の一実施形態としてのサーバを含む情報処理システムの構成例を示す図である。
図1の情報処理システムのうちサーバのハードウェア構成の一例を示すブロック図である。
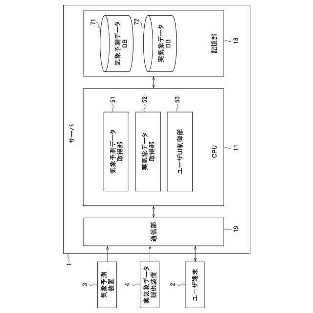
図2のサーバの機能的構成の一例を示す機能ブロック図である。
図3の機能的構成を有するサーバの表示制御により図1のユーザ端末に表示された画面の第1の具体例を示す図である。
図3の機能的構成を有するサーバの表示制御により図1のユーザ端末に表示された画面の第2の具体例を示す図である。
【発明を実施するための形態】
【0009】
以下、図面を参照しながら、本発明の実施形態について説明する。
図1は、本発明の情報処理装置の一実施形態としての気象予測装置を含む情報処理システムの構成例を示す図である。
【0010】
図1に示す情報処理システムは、サーバ1と、ユーザ端末2と、気象予測装置3と、実気象データ提供装置4とが、インターネット等の所定のネットワークを介して相互に接続されることで構成される。
(【0011】以降は省略されています)
この特許をJ-PlatPat(特許庁公式サイト)で参照する
関連特許
一般財団法人日本気象協会
情報処理装置、情報処理方法、及びプログラム
1日前
一般財団法人日本気象協会
情報処理装置、情報処理方法、及びプログラム
1日前
一般財団法人日本気象協会
情報処理システム、情報処理方法、及びプログラム
1日前
株式会社フジテレビジョン
情報処理装置、情報処理方法、及びプログラム
5日前
個人
地球保全システム
7日前
個人
冷凍食品輸出支援構造
1か月前
個人
為替ポイント伊達夢貯
1か月前
個人
表変換編集支援システム
27日前
個人
残土処理システム
今日
個人
知的財産出願支援システム
1日前
個人
知財出願支援AIシステム
1か月前
個人
行動時間管理システム
29日前
個人
パスワード管理支援システム
27日前
個人
AIによる情報の売買の仲介
1か月前
株式会社キーエンス
受発注システム
6日前
個人
AIキャラクター制御システム
27日前
株式会社キーエンス
受発注システム
6日前
株式会社キーエンス
受発注システム
6日前
個人
パスポートレス入出国システム
1か月前
株式会社アジラ
進入判定装置
1か月前
個人
海外支援型農作物活用システム
19日前
個人
システム及びプログラム
20日前
個人
食品レシピ生成システム
6日前
日本精機株式会社
施工管理システム
1か月前
個人
帳票自動生成型SaaSシステム
1日前
サクサ株式会社
中継装置
27日前
個人
音声対話型帳票生成支援システム
27日前
個人
SaaS型勤務調整支援システム
27日前
個人
冷凍加工連携型農場運用システム
1か月前
キヤノン株式会社
表示システム
6日前
大同特殊鋼株式会社
疵判定方法
13日前
個人
社会還元・施設向け供給支援構造
27日前
個人
未来型家系図構築システム
19日前
個人
音声・通知・再配達UX制御構造
1日前
個人
食事受注会計処理システム
1か月前
個人
人格進化型対話応答制御システム
27日前
続きを見る
他の特許を見る