TOP
|
特許
|
意匠
|
商標
特許ウォッチ
Twitter
他の特許を見る
公開番号
2025147737
公報種別
公開特許公報(A)
公開日
2025-10-07
出願番号
2024048135
出願日
2024-03-25
発明の名称
ロボット
出願人
ソフトバンクグループ株式会社
代理人
弁理士法人酒井国際特許事務所
主分類
G05D
1/686 20240101AFI20250930BHJP(制御;調整)
要約
【課題】不審対象を追跡すること。
【解決手段】実施形態に係るロボットは、自律走行可能なロボット本体と、ロボット本体の周囲の状況を検出する検出部と、検出部によって検出された状況に応じてロボット本体を自律走行させる制御部とを備える。ロボット本体は、ロボット本体を移動させる2つのローラーと、ロボット本体を、地面において2つのローラーとともに支持する支持部とを備える。支持部は、2つのローラーそれぞれに設けられる。
【選択図】図2
特許請求の範囲
【請求項1】
自律走行可能なロボット本体と、
前記ロボット本体の周囲の状況を検出する検出部と、
前記検出部によって検出された状況に応じて前記ロボット本体を自律走行させる制御部と
を備え、
前記ロボット本体は、
前記ロボット本体を移動させる2つのローラーと、
前記ロボット本体を、地面において前記2つのローラーとともに支持する支持部と
を備え、
前記支持部は、前記2つのローラーそれぞれに設けられる、ロボット。
続きを表示(約 300 文字)
【請求項2】
前記支持部は、前記2つのローラーそれぞれの回転軸である軸部から前記地面に延びるように、前記2つのローラーそれぞれの軸部に設けられる、請求項1に記載のロボット。
【請求項3】
前記支持部は、前記2つのローラーそれぞれの軸部の外部から、前記2つのローラーそれぞれの軸部に挿入される、請求項2に記載のロボット。
【請求項4】
前記支持部は、前記2つのローラーとは異なる位置において、前記ロボット本体を支持する、請求項1に記載のロボット。
【請求項5】
前記ロボット本体は、セグウェイである、請求項1~4のいずれか1項に記載のロボット。
発明の詳細な説明
【技術分野】
【0001】
開示の実施形態は、ロボットに関する。
続きを表示(約 1,100 文字)
【背景技術】
【0002】
従来、車両に危害が加えられた場合に、車両からドローンを離陸させて、車両、及び、車両の周囲を、ドローンに設けたカメラによって撮影するシステムが知られている(例えば、特許文献1参照)。
【先行技術文献】
【特許文献】
【0003】
特開2020-93618号公報
【発明の概要】
【発明が解決しようとする課題】
【0004】
従来の技術では、例えば、不審対象が検出され、不審対象が逃げた場合に、不審対象を追跡することができない、といった問題点がある。
【0005】
本発明は、上記に鑑みてなされたものであって、不審対象を追跡することを目的とする。
【課題を解決するための手段】
【0006】
実施形態の一態様に係るロボットは、自律走行可能なロボット本体と、ロボット本体の周囲の状況を検出する検出部と、検出部によって検出された状況に応じてロボット本体を自律走行させる制御部とを備える。ロボット本体は、ロボット本体を移動させる2つのローラーと、ロボット本体を、地面において2つのローラーとともに支持する支持部とを備える。支持部は、2つのローラーそれぞれに設けられる。
【発明の効果】
【0007】
実施形態の一態様によれば、不審対象を追跡することができる。
【図面の簡単な説明】
【0008】
図1は、実施形態に係る追跡システムの概略を示す図である。
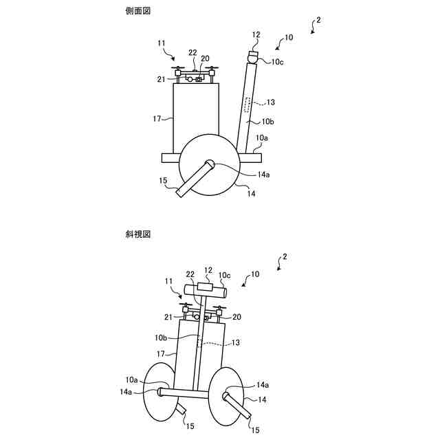
図2は、実施形態に係る追跡ロボットの概略を示す図である。
図3は、実施形態に係る追跡ロボットの制御装置の概略を示す機能ブロック図である。
図4は、実施形態に係る管理装置の概略を示す機能ブロック図である。
図5は、実施形態に係る走行制御処理を説明するフローチャートである。
図6は、追跡ロボット、又は、管理装置として機能するコンピュータハードウェア構成の一例を概略的に示す図である。
【発明を実施するための形態】
【0009】
以下、実施形態を通じて本発明を説明するが、以下の実施形態は特許請求の範囲に係る発明を限定するものではない。また、実施形態の中で説明されている特徴の組み合わせの全てが発明の解決手段に必須であるとは限らない。
【0010】
実施形態に係る追跡ロボット2を含む追跡システム1について、図1を参照し説明する。図1は、実施形態に係る追跡システム1の概略を示す図である。
(【0011】以降は省略されています)
この特許をJ-PlatPat(特許庁公式サイト)で参照する
関連特許
株式会社豊田自動織機
産業車両
2か月前
株式会社カネカ
製造システム
2か月前
オムロン株式会社
スレーブ装置
1か月前
株式会社熊谷組
障害物の検出方法
29日前
ローム株式会社
基準電圧源
1か月前
愛知製鋼株式会社
車両用システム
2か月前
株式会社クボタ
作業車
7日前
新電元工業株式会社
作業用ロボット
27日前
豊田合成株式会社
機器制御装置
1か月前
株式会社ダイフク
搬送設備
2か月前
株式会社ダイフク
搬送設備
1か月前
エイブリック株式会社
電流補償回路及び半導体装置
23日前
株式会社ダイフク
物品搬送設備
8日前
トヨタ自動車株式会社
クラッチペダル
2か月前
カヤバ株式会社
減圧弁
1か月前
トヨタ自動車株式会社
制御装置
1か月前
株式会社ダイフク
物品搬送設備
1か月前
キヤノン株式会社
配送システム
2か月前
株式会社TMEIC
安全性診断装置
1か月前
村田機械株式会社
搬送車システム
28日前
愛知製鋼株式会社
マーカシステム及び制御方法
2か月前
株式会社CAOS
移動体の制御システム
1か月前
日野自動車株式会社
自動運転装置
28日前
ルネサスエレクトロニクス株式会社
半導体装置
2か月前
株式会社アマダ
工作機械制御装置
28日前
ローム株式会社
電源回路用の電子負荷装置
1か月前
株式会社カーメイト
アクセルペダルカバー
1か月前
株式会社明電舎
負荷制御装置
9日前
株式会社明電舎
負荷制御装置
9日前
株式会社明電舎
負荷制御装置
9日前
トヨタ自動車株式会社
情報処理装置
1か月前
オムロン株式会社
システム及び方法
9日前
オムロン株式会社
システム及び方法
9日前
シンフォニアテクノロジー株式会社
自動走行車両
1か月前
株式会社マキタ
運搬車
1か月前
株式会社マキタ
運搬車
1か月前
続きを見る
他の特許を見る