TOP
|
特許
|
意匠
|
商標
特許ウォッチ
Twitter
他の特許を見る
10個以上の画像は省略されています。
公開番号
2025145838
公報種別
公開特許公報(A)
公開日
2025-10-03
出願番号
2024046291
出願日
2024-03-22
発明の名称
液体収容容器
出願人
セイコーエプソン株式会社
代理人
弁理士法人明成国際特許事務所
主分類
B41J
2/175 20060101AFI20250926BHJP(印刷;線画機;タイプライター;スタンプ)
要約
【課題】環境への負荷を低減できる液体収容容器を提供する。
【解決手段】液体収容容器は可撓性を有する液体収容袋と、液体収容袋に取り付けられ液体収容袋に収容される液体を外部に供給する液体供給部と、を有する液体収容体と、少なくとも液体収容袋を収容するケースと、を備え、液体と接触しない非接液部は、再生プラスチックを含む材料で構成されている。
【選択図】図5
特許請求の範囲
【請求項1】
液体収容容器であって、
可撓性を有する液体収容袋と、前記液体収容袋に取り付けられ前記液体収容袋に収容される液体を外部に供給する液体供給部と、を有する液体収容体と、
少なくとも前記液体収容袋を収容するケースと、を備え、
前記液体と接触しない非接液部は、再生プラスチックを含む材料で構成されている、液体収容容器。
続きを表示(約 570 文字)
【請求項2】
請求項1に記載の液体収容容器であって、
前記液体と接触する接液部は、バージンプラスチック材で構成されている、液体収容容器。
【請求項3】
請求項1に記載の液体収容容器であって、
前記非接液部は、前記ケースを含む、液体収容容器。
【請求項4】
請求項1に記載の液体収容容器であって、さらに、
前記液体収容体の外部に配置され、前記液体収容体の位置を固定する固定部材を有し、
前記非接液部は、前記固定部材を含む、液体収容容器。
【請求項5】
請求項1に記載の液体収容容器であって、さらに、
前記液体収容体の外部に配置され、前記液体収容体を補強する補強部材を有し、
前記非接液部は、前記補強部材を含む、液体収容容器。
【請求項6】
請求項1に記載の液体収容容器であって、
前記液体収容体は、前記液体収容袋が収容する前記液体の残量を検出するために用いる残量検出機構を有し、
前記非接液部は、前記残量検出機構の一部を含む、液体収容容器。
【請求項7】
請求項1に記載の液体収容容器であって、
前記ケースと前記液体収容体とは、互いに分解可能に構成されている、液体収容容器。
発明の詳細な説明
【技術分野】
【0001】
本開示は、液体収容容器の技術に関する。
続きを表示(約 2,000 文字)
【背景技術】
【0002】
従来、可撓性を有する液体収容袋を有する液体収容体と、少なくとも液体収容袋を収容するケースとを備える液体収容容器が知られている(特許文献1,2)。
【先行技術文献】
【特許文献】
【0003】
特開2015-58542号公報
特開2016-187873号公報
【発明の概要】
【発明が解決しようとする課題】
【0004】
従来の技術において、環境への負荷を低減できる液体収容容器が望まれている。
【課題を解決するための手段】
【0005】
本開示の一形態によれば、液体収容容器が提供される。この液体収容容器は、可撓性を有する液体収容袋と、前記液体収容袋に取り付けられ前記液体収容袋に収容される液体を外部に供給する液体供給部と、を有する液体収容体と、少なくとも前記液体収容袋を収容するケースと、を備え、前記液体と接触しない非接液部は、再生プラスチックを含む材料で構成されている。
【図面の簡単な説明】
【0006】
第1実施形態の液体噴射システムを示す図。
装着部を説明するための図。
液体収容容器の第1斜視図。
液体収容容器の第2斜視図。
液体収容容器の分解斜視図。
液体収容体の固定方法について説明するための第1図。
液体収容体の固定方法について説明するための第2図。
第2実施形態の液体噴射システムを示す図。
第2実施形態の液体収容容器を示す斜視図。
液体収容容器の分解斜視図。
供給部材を模式的に示す図。
第1固定部材の第1斜視図。
第1固定部材の第2斜視図。
第2ケース部材の+Y方向側部分を示す第1斜視図。
第2ケース部材の+Y方向側部分を示す第2斜視図。
第2ケース部材の-Y方向側部分を示す斜視図。
第3実施形態の液体収容容器の斜視図。
液体収容容器の分解斜視図。
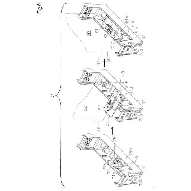
残量検出機構の分解斜視図。
供給部材の内部構造を模式的に示す図。
液体残量の検出方法を説明するための第1図。
液体残量の検出方法を説明するための第2図。
【発明を実施するための形態】
【0007】
A.第1実施形態:
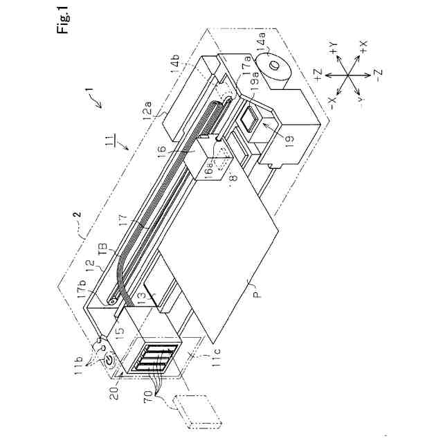
図1は、第1実施形態の液体噴射システム1を示す図である。この実施形態の液体噴射システム1は、一方向に搬送されるターゲットの一例である用紙Pに液体の一例であるインクを噴射すなわち消費して画像等を形成することによって用紙Pに印刷を行う。図1では、互いに直交するX軸、Y軸、Z軸を付している。液体噴射システム1が水平面に設置された状態において、+Z方向は鉛直上方向であり、-Z方向は鉛直下方向である。第1実施形態における他の図においても、必要に応じてX軸、Y軸、Z軸を付している。
【0008】
液体噴射システム1は、液体噴射装置11と、液体噴射装置11に着脱可能に装着された複数の液体収容容器70とを備える。本実施形態において、液体噴射装置11は、プリンターである。液体噴射装置11は、二点鎖線で示したように、略直方体形状の筐体2を備え、その鉛直上方向となる+Z方向側の上面に、液体噴射装置11を駆動させるための電源ボタンなどの操作ボタン11bが設けられている。また、用紙Pが搬送される方向である-Y方向側となる筐体2の前面には開閉可能なカバー11cが設けられている。ユーザーはこのカバー11cを開放した状態で、筐体2の内部にアクセスすることが可能である。
【0009】
この筐体2に覆われた内部空間に収納された略矩形箱状をなすフレーム12内の鉛直下方向側、即ち-Z方向側となる下部には、-Y方向と直交する±X方向を長手方向とする支持台13が略水平方向に延設されるとともに、フレーム12の搬送方向と反対側となる後方側の下部には紙送りモーター14aが設けられている。搬送方向は、-Y方向である。紙送りモーター14aの駆動によって動作する紙送り機構により、支持台13上を-Y方向に用紙Pが給送される。
【0010】
また、フレーム12内における支持台13の上方には、支持台13の長手方向に沿ってガイド軸15が架設されている。ガイド軸15にはその軸線方向、即ち±X方向に往復移動可能にキャリッジ16が支持されている。詳しくは、キャリッジ16に±X方向において貫通する支持孔16aが形成されるとともに、支持孔16aにガイド軸15が挿通されている。なお、ここでは、-Y方向側から見て右方向を+X方向、左方向を-X方向としている。
(【0011】以降は省略されています)
この特許をJ-PlatPat(特許庁公式サイト)で参照する
関連特許
セイコーエプソン株式会社
印刷装置
5日前
セイコーエプソン株式会社
印刷装置
4日前
セイコーエプソン株式会社
印刷装置
6日前
セイコーエプソン株式会社
印刷装置
6日前
セイコーエプソン株式会社
印刷装置
8日前
セイコーエプソン株式会社
印刷装置
8日前
セイコーエプソン株式会社
印刷装置
8日前
セイコーエプソン株式会社
印刷装置
8日前
セイコーエプソン株式会社
印刷装置
5日前
セイコーエプソン株式会社
印刷装置
4日前
セイコーエプソン株式会社
ロボット
4日前
セイコーエプソン株式会社
印刷装置
4日前
セイコーエプソン株式会社
印刷装置
4日前
セイコーエプソン株式会社
微細化装置
5日前
セイコーエプソン株式会社
液体収容容器
4日前
セイコーエプソン株式会社
画像読取装置
8日前
セイコーエプソン株式会社
権限管理装置
4日前
セイコーエプソン株式会社
プロジェクター
4日前
セイコーエプソン株式会社
プロジェクター
4日前
セイコーエプソン株式会社
プロジェクター
4日前
セイコーエプソン株式会社
液体吐出ヘッド
8日前
セイコーエプソン株式会社
プロジェクター
4日前
セイコーエプソン株式会社
電子制御式機械時計
6日前
セイコーエプソン株式会社
垂直多関節ロボット
4日前
セイコーエプソン株式会社
回路装置及び電子機器
4日前
セイコーエプソン株式会社
スクリーンの製造方法
8日前
セイコーエプソン株式会社
栽培用培地の製造方法
5日前
セイコーエプソン株式会社
インクジェットインク組成物
8日前
セイコーエプソン株式会社
電気光学装置および電子機器
5日前
セイコーエプソン株式会社
液体回収装置及び液体回収容器
5日前
セイコーエプソン株式会社
虚像表示装置及び光学ユニット
8日前
セイコーエプソン株式会社
虚像表示装置及び光学ユニット
8日前
セイコーエプソン株式会社
虚像表示装置及び光学ユニット
8日前
セイコーエプソン株式会社
管理サーバ、及び管理システム
8日前
セイコーエプソン株式会社
レーザー干渉計および分光装置
5日前
セイコーエプソン株式会社
偏心揺動装置及び射出成形装置
4日前
続きを見る
他の特許を見る