TOP
|
特許
|
意匠
|
商標
特許ウォッチ
Twitter
他の特許を見る
公開番号
2025141126
公報種別
公開特許公報(A)
公開日
2025-09-29
出願番号
2024040900
出願日
2024-03-15
発明の名称
画像読取装置
出願人
セイコーエプソン株式会社
代理人
個人
,
個人
,
個人
主分類
H04N
1/00 20060101AFI20250919BHJP(電気通信技術)
要約
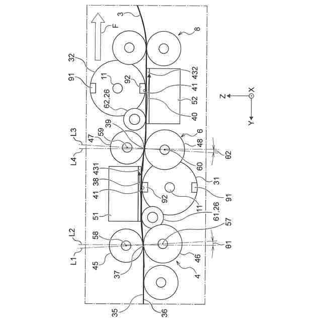
【課題】媒体3の搬送姿勢が安定し、読取画像の品質が向上すること。
【解決手段】画像読取装置1は、搬送経路2を搬送方向Fに搬送される媒体3の第1面35を読み取る読取面41を有する第1読取部51と、第1読取部の下流に配置されて第2面36を読み取る第2読取部52と、第1読取部51の上流に配置されて媒体を搬送する第1搬送ローラー対4と、第1読取部51と第2読取部52との間に配置されて媒体を搬送する第2搬送ローラー対6とを備え、第1搬送ローラー対4が媒体をニップする第1ニップ位置37の接線方向38は、第1読取部51の読取面41の搬送方向における上流側の位置に向かい、第2搬送ローラー対6が媒体をニップする第2ニップ位置39の接線方向40は、第2読取部52の読取面41の搬送方向における上流側の位置に向かう。
【選択図】図3
特許請求の範囲
【請求項1】
搬送経路を搬送方向に搬送される媒体の第1面を読み取る読取面を有する第1読取部と、
前記第1読取部の前記搬送方向の下流に配置され、前記媒体の前記第1面とは反対面である第2面を読み取る読取面を有する第2読取部と、
前記第1読取部の前記搬送方向の上流に配置され、前記第1読取部に向けて前記媒体を搬送する第1搬送ローラー対と、
前記搬送方向において前記第1読取部と前記第2読取部との間に配置され、前記第2読取部に向けて前記媒体を搬送する第2搬送ローラー対と、を備え、
前記第1搬送ローラー対が前記媒体をニップする第1ニップ位置の接線方向は、前記第1読取部の読取面の前記搬送方向における上流側の位置に向かい、
前記第2搬送ローラー対が前記媒体をニップする第2ニップ位置の接線方向は、前記第2読取部の読取面の前記搬送方向における上流側の位置に向かう、
ことを特徴とする画像読取装置。
続きを表示(約 1,600 文字)
【請求項2】
請求項1に記載に画像読取装置であって、
前記第1搬送ローラー対は、側面視において、前記搬送経路に対して上方に配置された第1上流側ローラーと、前記第1上流側ローラーと対向して下方に配置された第2上流側ローラーと、を有し、
前記第2搬送ローラー対は、側面視において、前記搬送経路に対して上方に配置された第1下流側ローラーと、前記第1下流側ローラーと対向して下方に配置された第2下流側ローラーと、を有し、
側面視において、前記搬送経路に対して上方に前記第1読取部が配置され、下方に前記第2読取部が配置され、
前記第1ニップ位置の接線方向は、前記第2上流側ローラーの回転軸が、前記第1上流側ローラーの回転軸よりも前記第1読取部側にずれて配置されて作られ、
前記第2ニップ位置の接線方向は、前記第1下流側ローラーの回転軸が、前記第2下流側ローラーの回転軸よりも前記第2読取部側にずれて配置されて作られている、
ことを特徴とする画像読取装置。
【請求項3】
請求項1に記載に画像読取装置であって、
前記第1搬送ローラー対は、側面視において、前記搬送経路に対して上方に配置された第1上流側ローラーと前記第1上流側ローラーと対向して下方に配置された第2上流側ローラーと、を有し、
前記第2搬送ローラー対は、側面視において、前記搬送経路に対して上方に配置された第1下流側ローラーと前記第1下流側ローラーと対向して下方に配置された第2下流側ローラーと、を有し、
側面視において、前記搬送経路に対して下方に前記第1読取部が配置され、上方に前記第2読取部が配置され、
前記第1ニップ位置の接線方向は、前記第1上流側ローラーの回転軸が、前記第2上流側ローラーの回転軸よりも前記第1読取部側にずれて配置されて作られ、
前記第2ニップ位置の接線方向は、前記第2下流側ローラーの回転軸が、前記第1下流側ローラーの回転軸よりも前記第2読取部側にずれて配置されて作られている、
ことを特徴とする画像読取装置。
【請求項4】
請求項2又は請求項3に記載の画像読取装置であって、
前記第1上流側ローラーの回転軸と前記第2上流側ローラーの回転軸(前記第1搬送ローラー対の第1ニップ位置)とを結ぶ第1仮想線と、前記第1読取部の読取面と直交する第2仮想線との成す角度は、3度以上12度以下であり、
前記第1下流側ローラーの回転軸と前記第2下流側ローラーの回転軸(前記第2搬送ローラー対の第2ニップ位置)とを結ぶ第3仮想線と、前記第2読取部の読取面と直交する第4仮想線との成す角度は、3度以上12度以下である、
ことを特徴とする画像読取装置。
【請求項5】
請求項1に記載の画像読取装置であって、
前記第1読取部の読取面と対向して配置され、前記媒体の前記第2面に接する第1接触部材と、
前記第2読取部の読取面と対向して配置され、前記媒体の前記第1面に接する第2接触部材と、を有し、
前記第1搬送ローラー対は、前記第1読取部の読取面と前記第1接触部材との間に向けて前記媒体を搬送し、
前記第2搬送ローラー対は、前記第2読取部の読取面と前記第2接触部材との間に向けて前記媒体を搬送する、
ことを特徴とする画像読取装置。
【請求項6】
請求項5に記載の画像読取装置であって、
前記第1読取部の読取面と対向し、前記第1接触部材の前記搬送方向の下流に配置され、背景部材を有して軸回りに回転可能な第1回転部材と、
前記第2読取部の読取面と対向し、前記第2接触部材の前記搬送方向の下流に配置され、背景部材を有して軸回りに回転可能な第2回転部材と、を有する、
ことを特徴とする画像読取装置。
発明の詳細な説明
【技術分野】
【0001】
本発明は、画像読取装置に関する。
続きを表示(約 2,500 文字)
【背景技術】
【0002】
この種の装置の一例として、特許文献1に記載の画像読取装置が挙げられる。特許文献1には、以下のことが記載されている。
2つの撮像部が対向して配置され、これらの撮像部に対して媒体を搬送する搬送ローラー対は逆ぞり構造を構成している。
【先行技術文献】
【特許文献】
【0003】
特開2014-51338号公報
【発明の概要】
【発明が解決しようとする課題】
【0004】
特許文献1に記載されている画像読取装置は、第1従動ローラーの中心は、第1搬送ローラーの中心よりも第1撮像部側にずらして配置される。したがって、用紙の先端は第1撮像部のガラス面に沿って搬送される。一方、用紙は第2撮像部のガラス面から離れるように搬送されるので、用紙の反対面の画像品質が低下してしまう、という課題がある。
また、2つの撮像部がオフセットして配置された構成については記載も示唆もない。
【課題を解決するための手段】
【0005】
上記課題を解決するため、本発明に係る画像読取装置は、搬送経路を搬送方向に搬送される媒体の第1面を読み取る読取面を有する第1読取部と、前記第1読取部の前記搬送方向の下流に配置され、前記媒体の前記第1面とは反対面である第2面を読み取る読取面を有する第2読取部と、前記第1読取部の前記搬送方向の上流に配置され、前記第1読取部に向けて前記媒体を搬送する第1搬送ローラー対と、前記搬送方向において前記第1読取部と前記第2読取部との間に配置され、前記第2読取部に向けて前記媒体を搬送する第2搬送ローラー対と、を備え、前記第1搬送ローラー対が前記媒体をニップする第1ニップ位置の接線方向は、前記第1読取部の読取面の前記搬送方向における上流側の位置に向かい、前記第2搬送ローラー対が前記媒体をニップする第2ニップ位置の接線方向は、前記第2読取部の読取面の前記搬送方向における上流側の位置に向かうことを特徴とする。
【図面の簡単な説明】
【0006】
実施形態1に係る画像読取装置の側断面の模式図。
図1の要部拡大側断面図。
図1の要部拡大側断面図の模式図。
図3の要部拡大側断面図の模式図。
実施形態2に係る画像読取装置の要部拡大側断面図の模式図。
【発明を実施するための形態】
【0007】
以下、本発明について先ず概略的に説明する。
本発明の第1の態様に係る画像読取装置は、搬送経路を搬送方向に搬送される媒体の第1面を読み取る読取面を有する第1読取部と、前記第1読取部の前記搬送方向の下流に配置され、前記媒体の前記第1面とは反対面である第2面を読み取る読取面を有する第2読取部と、前記第1読取部の前記搬送方向の上流に配置され、前記第1読取部に向けて前記媒体を搬送する第1搬送ローラー対と、前記搬送方向において前記第1読取部と前記第2読取部との間に配置され、前記第2読取部に向けて前記媒体を搬送する第2搬送ローラー対と、を備え、前記第1搬送ローラー対が前記媒体をニップする第1ニップ位置の接線方向は、前記第1読取部の読取面の前記搬送方向における上流側の位置に向かい、前記第2搬送ローラー対が前記媒体をニップする第2ニップ位置の接線方向は、前記第2読取部の読取面の前記搬送方向における上流側の位置に向かうことを特徴とする。
【0008】
本態様によれば、前記第1搬送ローラー対が前記媒体をニップする第1ニップ位置の接線方向は、前記読取面の前記搬送方向における上流側の位置に向かい、前記第2搬送ローラー対が前記媒体をニップする第2ニップ位置の接線方向は、前記読取面の前記搬送方向における上流側の位置に向かう。これにより、前記媒体は、前記第1面が前記第1読取部の読取面に接触する方向の力が作用する状態で搬送され、更に前記第2面が前記第2読取部の読取面に接触する方向の力が作用する状態で搬送される。よって、前記媒体の搬送姿勢が安定し、読取画像の品質が向上する。更に、前記媒体の詰まり等の搬送不良状態の発生を抑制できる。
【0009】
本発明の第2の態様に係る画像読取装置は、第1の態様に従属する態様であって、前記第1搬送ローラー対は、側面視において、前記搬送経路に対して上方に配置された第1上流側ローラーと前記第1上流側ローラーと対向して下方に配置された第2上流側ローラーと、を有し、前記第2搬送ローラー対は、側面視において、前記搬送経路に対して上方に配置された第1下流側ローラーと前記第1下流側ローラーと対向して下方に配置された第2下流側ローラーと、を有し、側面視において、前記搬送経路に対して上方に前記第1読取部が配置され、下方に前記第2読取部が配置され、前記第1ニップ位置の接線方向は、前記第2上流側ローラーの回転軸が、前記第1上流側ローラーの回転軸よりも前記第1読取部側にずれて配置されて作られ、前記第2ニップ位置の接線方向は、前記第1下流側ローラーの回転軸が、前記第2下流側ローラーの回転軸よりも前記第2読取部側にずれて配置されて作られていることを特徴とする。
【0010】
本態様によれば、側面視において、前記搬送経路に対して上方に前記第1読取部が配置され、下方に前記第2読取部が配置されている場合に、前記第1ニップ位置の接線方向は、前記第2上流側ローラーの回転軸が、前記第1上流側ローラーの回転軸よりも前記第1読取部側にずれて配置されて作られている。更に、前記第2ニップ位置の接線方向は、前記第1下流側ローラーの回転軸が、前記第2下流側ローラーの回転軸よりも前記第2読取部側にずれて配置されて作られている。これにより、構造簡単にして、前記媒体の搬送姿勢が安定し、読取画像の品質が向上する効果を得ることができる。
(【0011】以降は省略されています)
この特許をJ-PlatPat(特許庁公式サイト)で参照する
関連特許
セイコーエプソン株式会社
印刷装置
5日前
セイコーエプソン株式会社
検査装置
3日前
セイコーエプソン株式会社
印刷装置
3日前
セイコーエプソン株式会社
投射方法
5日前
セイコーエプソン株式会社
記録装置
3日前
セイコーエプソン株式会社
システム
3日前
セイコーエプソン株式会社
接続方法
5日前
セイコーエプソン株式会社
印刷装置
9日前
セイコーエプソン株式会社
電子時計
3日前
セイコーエプソン株式会社
複写装置
3日前
セイコーエプソン株式会社
成形用材料
3日前
セイコーエプソン株式会社
半導体装置
5日前
セイコーエプソン株式会社
成形用材料
3日前
セイコーエプソン株式会社
液体収容体
3日前
セイコーエプソン株式会社
成形用材料
3日前
セイコーエプソン株式会社
液体吐出装置
3日前
セイコーエプソン株式会社
遠隔監視装置
3日前
セイコーエプソン株式会社
液体収容容器
9日前
セイコーエプソン株式会社
液体吐出装置
3日前
セイコーエプソン株式会社
読み取り装置
5日前
セイコーエプソン株式会社
振動デバイス
2日前
セイコーエプソン株式会社
液体吐出装置
3日前
セイコーエプソン株式会社
菌糸複合材料
4日前
セイコーエプソン株式会社
液体収容容器
4日前
セイコーエプソン株式会社
液体吐出装置
4日前
セイコーエプソン株式会社
カートリッジ
3日前
セイコーエプソン株式会社
液体吐出装置
4日前
セイコーエプソン株式会社
液体吐出装置
3日前
セイコーエプソン株式会社
ヘッドユニット
3日前
セイコーエプソン株式会社
インク補給容器
3日前
セイコーエプソン株式会社
磁気流体組成物
4日前
セイコーエプソン株式会社
投射型表示装置
3日前
セイコーエプソン株式会社
水性粘着剤組成物
3日前
セイコーエプソン株式会社
成形品素材判別機
3日前
セイコーエプソン株式会社
成形品の製造方法
2日前
セイコーエプソン株式会社
水性粘着剤組成物
3日前
続きを見る
他の特許を見る