TOP
|
特許
|
意匠
|
商標
特許ウォッチ
Twitter
他の特許を見る
公開番号
2025143806
公報種別
公開特許公報(A)
公開日
2025-10-02
出願番号
2024043245
出願日
2024-03-19
発明の名称
栽培用培地の製造方法
出願人
セイコーエプソン株式会社
代理人
個人
,
個人
,
個人
主分類
A01G
18/30 20180101AFI20250925BHJP(農業;林業;畜産;狩猟;捕獲;漁業)
要約
【課題】良好、迅速に栽培用培地の滅菌を行うことができる栽培用培地の製造方法を提供すること。
【解決手段】繊維を含む原料に水分を供給して水分含有原料を生成する水分供給工程と、水分含有原料の雰囲気の圧力が、3200Pa以上50000Pa以下になるように減圧する減圧工程と、前記雰囲気下で水分含有原料にオゾンを付与してオゾン処理を行うオゾン処理工程と、を有することを特徴とする栽培用培地の製造方法。また、前記水分供給工程で生成された水分含有原料の含水率は、1重量%以上40重量%以下であるのが好ましい。
【選択図】図2
特許請求の範囲
【請求項1】
繊維を含む原料に水分を供給して水分含有原料を生成する水分供給工程と、
前記水分含有原料の雰囲気の圧力が、3200Pa以上50000Pa以下になるように減圧する減圧工程と、
前記雰囲気下で前記水分含有原料にオゾンを付与してオゾン処理を行うオゾン処理工程と、を有することを特徴とする栽培用培地の製造方法。
続きを表示(約 310 文字)
【請求項2】
前記水分供給工程で生成された前記水分含有原料の含水率は、1重量%以上40重量%以下である請求項1に記載の栽培用培地の製造方法。
【請求項3】
前記オゾン処理工程での前記オゾン処理中の前記水分含有原料の前記雰囲気の圧力は、4000Pa以上55000Pa以下である請求項1または2に記載の栽培用培地の製造方法。
【請求項4】
前記原料は、前記繊維の堆積物を加熱および加圧してシート状に成形されたものである請求項1または2に記載の栽培用培地の製造方法。
【請求項5】
前記加熱は、マイクロ波を照射することによりなされる請求項4に記載の栽培用培地の製造方法。
発明の詳細な説明
【技術分野】
【0001】
本発明は、栽培用培地の製造方法に関する。
続きを表示(約 960 文字)
【背景技術】
【0002】
従来から、キノコ等を栽培するための人工の栽培用培地が知られている。例えば、特許文献1には、大鋸屑などの基材を含む培地構成物と空隙とから成る構造のバカマツタケ用菌床培地が開示されている。このような培地では、培地を製造した後に、滅菌を行うことで無菌状態とし、良好な栽培を行うことができる。
【先行技術文献】
【特許文献】
【0003】
特開2020-178686号公報
【発明の概要】
【発明が解決しようとする課題】
【0004】
しかしながら、一般的に知られている滅菌方法で滅菌工程を行うと、均一で良好な滅菌を行うためには、長時間を要するという問題がある。
【課題を解決するための手段】
【0005】
本発明の栽培用培地の製造方法は、繊維を含む原料に水分を供給して水分含有原料を生成する水分供給工程と、
前記水分含有原料の雰囲気の圧力が、3200Pa以上50000Pa以下になるように減圧する減圧工程と、
前記雰囲気下で前記水分含有原料にオゾンを付与してオゾン処理を行うオゾン処理工程と、を有する。
【図面の簡単な説明】
【0006】
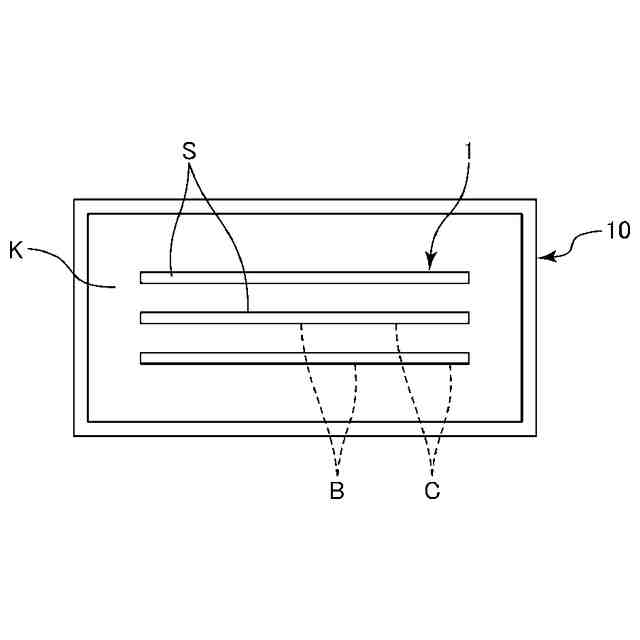
図1は、栽培用培地の一例を示す断面図である。
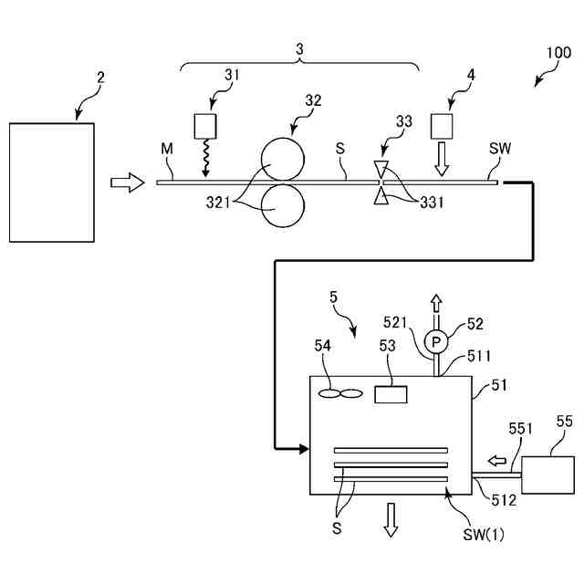
図2は、栽培用培地の製造装置および製造工程を模式的に示す図である。
【発明を実施するための形態】
【0007】
以下、本発明の栽培用培地の製造方法を添付図面に示す好適な実施形態に基づいて詳細に説明する。
【0008】
<第1実施形態>
図1は、栽培用培地の一例を示す断面図である。図2は、栽培用培地の製造装置および製造工程を模式的に示す図である。
【0009】
図1に示すように、栽培用培地1は、キノコ類等の菌類を栽培するための培地であり、繊維、特にセルロース繊維を含むシートSを有する。
【0010】
なお、栽培用培地1で栽培されるものは、キノコ類に限定されず、例えば、野菜等であってもよい。以下、栽培用培地1をキノコ栽培用培地として説明する。
(【0011】以降は省略されています)
この特許をJ-PlatPat(特許庁公式サイト)で参照する
関連特許
個人
虫捕り器
7日前
個人
巻糸係止具
28日前
個人
刈込鋏保持具
3日前
個人
飼育容器
17日前
個人
後付巻降ろし器
7日前
個人
植物栽培用培地
1か月前
個人
虫の生け捕り具
1か月前
個人
植木鉢用台
1か月前
個人
イカ釣り用ヤエン
7日前
個人
釣り仕掛け処理具
1か月前
株式会社丹勝
緑化工法
4日前
個人
養殖システム
1か月前
岡部株式会社
浮魚礁
1か月前
株式会社シマノ
釣竿
7日前
井関農機株式会社
作業車両
1か月前
井関農機株式会社
作業車両
5日前
井関農機株式会社
作業車両
7日前
井関農機株式会社
作業車両
7日前
個人
水耕栽培システム
17日前
井関農機株式会社
圃場作業機
28日前
井関農機株式会社
収穫作業車両
1か月前
個人
苔玉スタンド
1か月前
井関農機株式会社
作業車両
17日前
中国電力株式会社
巣撤去具
1か月前
井関農機株式会社
作業車両
3日前
松山株式会社
農作業機
1か月前
個人
伸縮する草刈り機の可動装置。
7日前
松山株式会社
農作業機
1か月前
松山株式会社
農作業機
3日前
株式会社シマノ
ルアー
1か月前
松山株式会社
農作業機
17日前
個人
妻面トラス梁付き園芸用ハウス
19日前
松山株式会社
農作業機
1か月前
みのる産業株式会社
苗植付装置
1か月前
トヨタ自動車株式会社
育苗装置
4日前
みのる産業株式会社
苗植付装置
1か月前
続きを見る
他の特許を見る